装配式钢筋混凝土楼板
-
1 学习目标
-
2 优化评审视频
-
3 教学课件
-
4 原视频
-
5 课后习题
上一节
下一节
通过本节视频及课件的学习,我们可以达到以下目标:
一、知识目标
了解装配式楼板的优缺点和适用范围;
熟悉装配式楼板的分类;
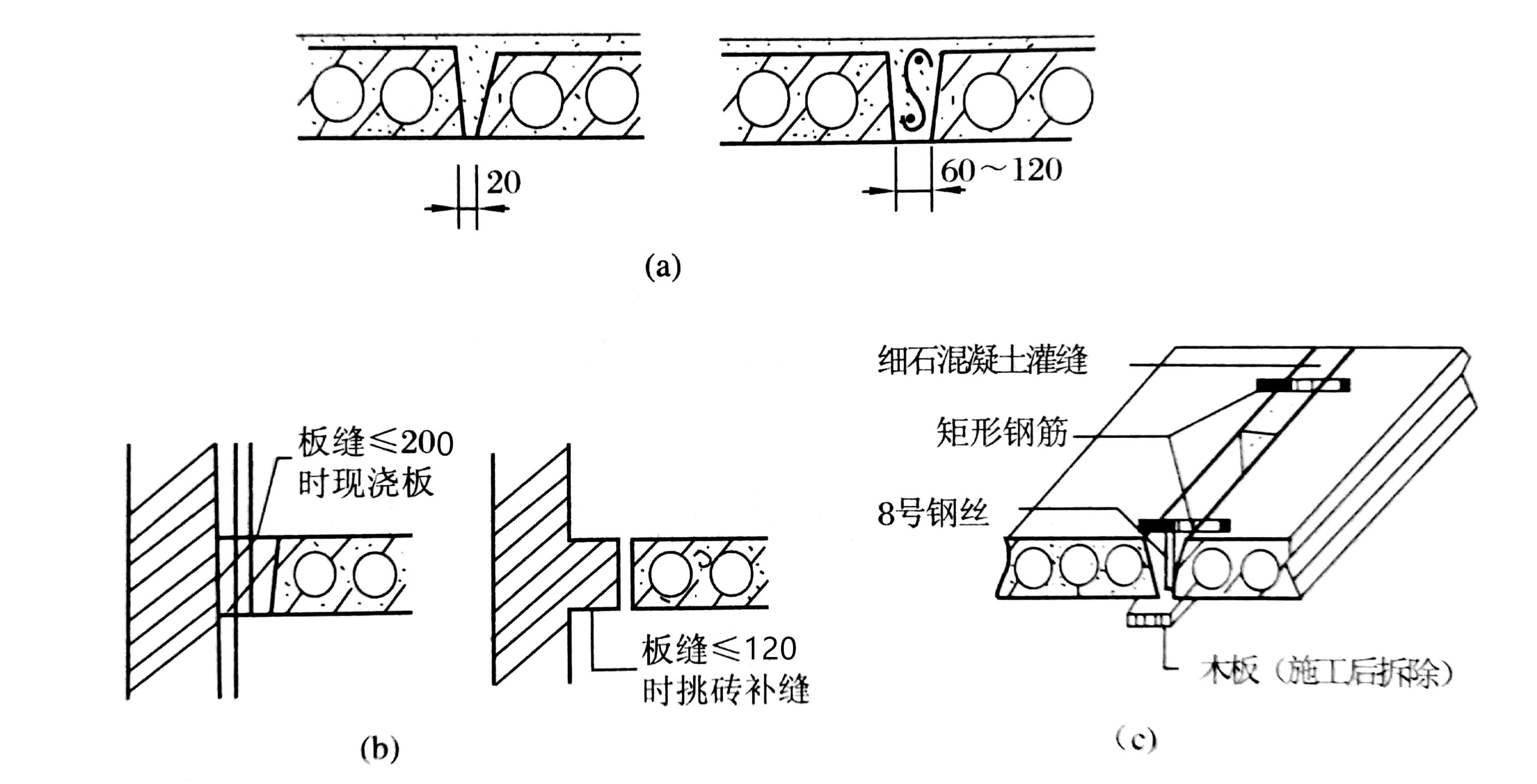
掌握装配式楼板的细部构造和铺设要求。
二、技能目标
能够描述预制板的三种类型:实心板、空心板和槽形板,并且能够阐述它们各自的优缺点和适用情况,能够在实际工程用运用到装配式楼板的铺设要求和细部构造要求。
三、情感目标
让学生能够学习到装配式建筑中楼板的由来,为将来从事装配式建筑行业打下基础。









