1. 二氧化碳气体保护焊的基本原理
二氧化碳气体保护电弧焊(简称CO2焊)是以二氧化碳气为保护气体,进行焊接的方法。(有时采用CO2+Ar的混合气体)。在应用方面操作简单,适合自动焊和全方位焊接。焊接时抗风能力差,适合室内作业。
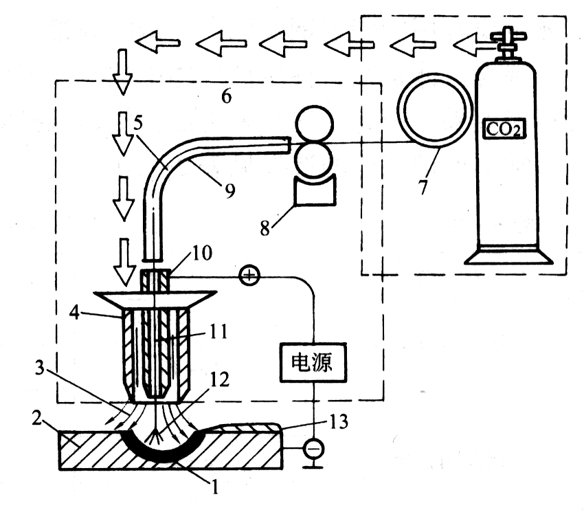
CO2焊气体保护焊的焊接过程
焊接电源的两输出端分别接在焊枪10和焊件2上。焊丝盘由送丝机构8带动,盘状焊丝经送丝软管9与导电嘴11不断向电弧区域送给焊丝。同时,CO2气体以一定压力和流量送入焊枪,通过喷嘴4后,形成一股保护气流,使熔池和电弧与空气隔绝。

二氧化碳气体保护焊的分类
按机械化程度分为:
可分为二氧化碳气体保护焊自动焊和二氧化碳气体保护焊半自动焊。
按焊丝直径分为:
可分为细丝0.8~1.2 mm,中丝1.2~1.4 mm,粗丝 1.4~1.6mm。
按焊丝分为:
可分为药芯焊丝和实心焊丝两种。
2. 二氧化碳气体保护焊的设备
二氧化碳气体保护焊设备包括半自动焊设备和自动焊设备,目前常用的是半自动二氧化碳气体保护焊设备,其主要由焊接电源(焊机)、送丝机构及焊枪、CO2供气系统、控制系统等部分组成。
焊接电源
CO2焊使用交流电源时焊接电弧都不稳定,飞溅严重,因此,只能采用直流焊接电源。细焊丝(≤φ1.2 mm)CO2焊接一般采用等速送丝机构,配平特性或缓降特性的电源,依靠电弧自身调节作用,来保持弧长的稳定,一般选用短路过渡规范进行焊接。粗焊丝(≥φ1.6 mm)CO2焊接一般采用变速送丝机构配下降特性的电源,采用弧压反馈调节来保持弧长的稳定,一般选用细颗粒过渡规范焊接。
CO2焊机的送丝系统及焊枪
CO2焊机的送丝系统由送丝机构、送丝软管、焊丝盘三部分组成。其中,送丝机构包括送丝电动机、减速器、矫直轮、送丝轮和加压轮。
送丝机构
CO2半自动焊的焊丝送给为等速送丝,送丝方式有推丝式、拉丝式和推拉式三种。CO2半自动焊的焊枪也因送丝方式不同分为推丝式焊枪和拉丝式焊枪。
推丝式(鹅颈式)
推丝方式是CO2半自动焊应用最广泛的送丝方式之一。其送丝机构、焊丝盘与焊枪分离,送丝滚轮推动焊丝通过一段送丝软管进入焊枪。
拉丝式(手枪式)
拉丝式焊枪的送丝机构,焊丝盘与焊枪连接在一起。这种送丝方式送丝均匀稳定,但焊枪结构复杂沉重,焊工劳动强度大,只适用于直径为0.5~0.8 mm细丝半自动焊。焊丝盘较小,一次只装0.7 kg的焊丝。
推拉式
这种结构是以上两种送丝方式的组合。送丝时以推为主,由于焊枪上装有拉丝轮,可将焊丝拉直,以减小焊丝在软管内的摩擦阻力。推拉式可使软管加长至60 m,增加了操作的灵活性。
焊枪
焊枪按用途分别为半自动焊枪和自动焊枪。按送丝方式可分为推丝式焊枪和拉丝式焊枪;按结构可分为鹅颈式焊枪和手枪式焊枪。焊枪上的喷嘴和导电嘴是焊枪的主要零件,直接影响焊接工艺性能。
喷嘴
焊枪最前端的保护嘴一般为圆柱形。内孔直径在12~25mm之间。
导电嘴
焊枪中的导电嘴常用紫铜、铬青铜或磷青铜制造。
CO2焊供气系统
CO2焊的供气系统由气瓶、预热器、干燥器、减压器、流量计和电磁气阀组成。
控制系统
CO2焊控制系统的作用是对供气、送丝和供电等系统实现控制。自动焊时,还可控制焊接小车或焊件运转等。
爱国情怀
关桥院士是我国航空制造工程焊接专家,曾任中国焊接学会理事长、国际焊接学会副主席。他建立了“低应力无变形焊接” 理论,从理论上论证了焊接过程中主动控制应力变形的必要条件,突破了焊接变形“不可避免”的传统认识,解决了焊接科技与制造工程中的一大难题。他主持和指导了多项航空工业急需的特种焊接新技术研究开发和工程应用,为新飞行器的研制提供了先进技术保障。

关桥院士