DR的研究始于20世纪70年代末,在I.I-TV系统的基础上,利用A/D转换器将模拟视频信号数字化,进行计算机图像处理。随着微电子、光电子和计算机技术的发展,X线的数字探测器和设备也加速发展,1997年11月推出了早期机型。DR设备的特点是:①辐射剂量低,X线量子检测效率(DQE)高;②空间分辨力可以达到3.6Lp/mm;③工作效率高,省去了屏-胶系统更换了胶片的繁琐程序;④应用DR系统的后处理功能,可获得优异的图像质量DR研究始于30世纪70年代末,在I.I-TV系统的基础上,利用A/D转换器将模拟视频信号数字化,进行计算机图像处理随着微电子、光电子和计算机技术的发展,x线摄影平板探测器快速发展,1997年11月推出了早期机型DID设备的特点是:①辐射剂量低,X线量子检测效率(DQE)高;②空间分辨力可以达到3.6Lp/mm;③工作效率高,省去了屏一胶系统更换胶片的繁琐程序;④应用DR系统的后处理功能,可获得优异的图像质量。DR系统的不足是兼容性和价格等方面较DR差。DR系统的不足是兼容性和价格等方面较CR差。
DR由X线探测器、图像处理器、图像显示器等组成。
1.X线探测器 是将X线信息转换为电信号的器件。探测器将X线模拟信号转换为数字信号,送计算机处理。
2.图像处理器 其功能主要包括各种图像处理,如灰阶变换、黑白反转、图像滤波降噪、放大、各种测量、数字减影等。
3.显示器 用于摄影图像的重现、软阅读。
X线探测器是DR的关键部件。根据探测器的不同DR可分为:非晶硒平板探测器型、非晶硅平板探测器型多丝正比室扫描型和CCD摄像机型四种。下面分别介绍各种探测器的结构和工作原理。
1.非晶硒平板探测器 其单元结构如图4-9所示,主要由基板、集电矩阵、硒层、电介层、顶层电极和保护层等构成集电距阵由按矩阵排列电极和TFT组成。非晶态硒层涂覆在集电距阵上,其上是电介层、顶层电极。因放大器和A/D转换器都置于探测器封装扁平外壳内,故称为平板探测器(flat panel detector,FPD);因为探测器是接收X线照射而直接输出数字图像信息,所以称作直接X线摄影。TFT像素的尺寸直接决定图像的空间分辨力。如每个像素为139μm×139μm,在900px×1075px(14"×17")的范围内有2560×3072个像素。

图4-9 非晶硒FPU结构示意图
(1)工作原理:入射X线光子在硒层中产生电子一空穴对,在顶层电极和集电矩阵间外加高压电场的作用下,电子和空穴向相反方向移动,形成信号电流,被相应单元(像素)的接收电极所收集形成信号电荷,存储在电容中。因电容存储的电荷量与人射X线强度成正比,故X线图像被转换为信号电荷多少图像或电容电压高低图像。每个像素都有一个场效应管。在读取控制信号的作用下,场效应管依次导通,把各像素电容存储的电荷或电压依次传送到外电路,经读取放大器放大后被同步转换成数字图像信号。
信号读取后,扫描电路自动清除各像素电容中的残余电简,以保证非品晒FPD能反复使用。
(2)技术指标:①有效面积为14"×17";②像素面积为139 μm×139 μm;③偏置电压为6kV;④空间分辨力为3.6 Lp/mm ;⑤密度分辨力为14bit;⑥成像时间为10秒预览,40秒成像;⑦工作温度为10-3℃。
2.非晶硅平板探测器 如图4-10所示,它由基板层、非晶硅阵列、碘化艳层等构成。
图4-10 非晶硅FPD结构示意图
(1)工作原理:穿透病人被检部位后的X线光子,照射到非晶硅FPD上,由碘化艳晶体层将X线图像转换成荧光图像;荧光沿碘化艳针状品体传递到由非晶硅光电二极管构成的探测器矩阵,将荧光图像转换成信号电荷的多少图像。计算机控制读出电路,依次读出各像素信号电荷信息,再经A/D转换后,获得数字图像信号,传送到图像处理器进行处理和存储后,在监视器上显示。曝光5秒后即可快速浏览图像。
(2)技术指标:探测器面积为14"×l7",一般由四块平板拼接成一块整板,像素矩阵为2560×3072,像素面积为143μm×143μm;分辨力为3.5Lp/mm;感光度相当于400度X线片;成像时间为5秒;由于非晶硅FPD内有碘化铯烁体,可增强图像信号,因此可降低曝光剂量。
虽然碘化铯闪烁体的直径约为6μm,相对于成像单元的面积(143μm×143 μm)要小得多,对空间分辨力兔这将影响图像的空间分辨力。
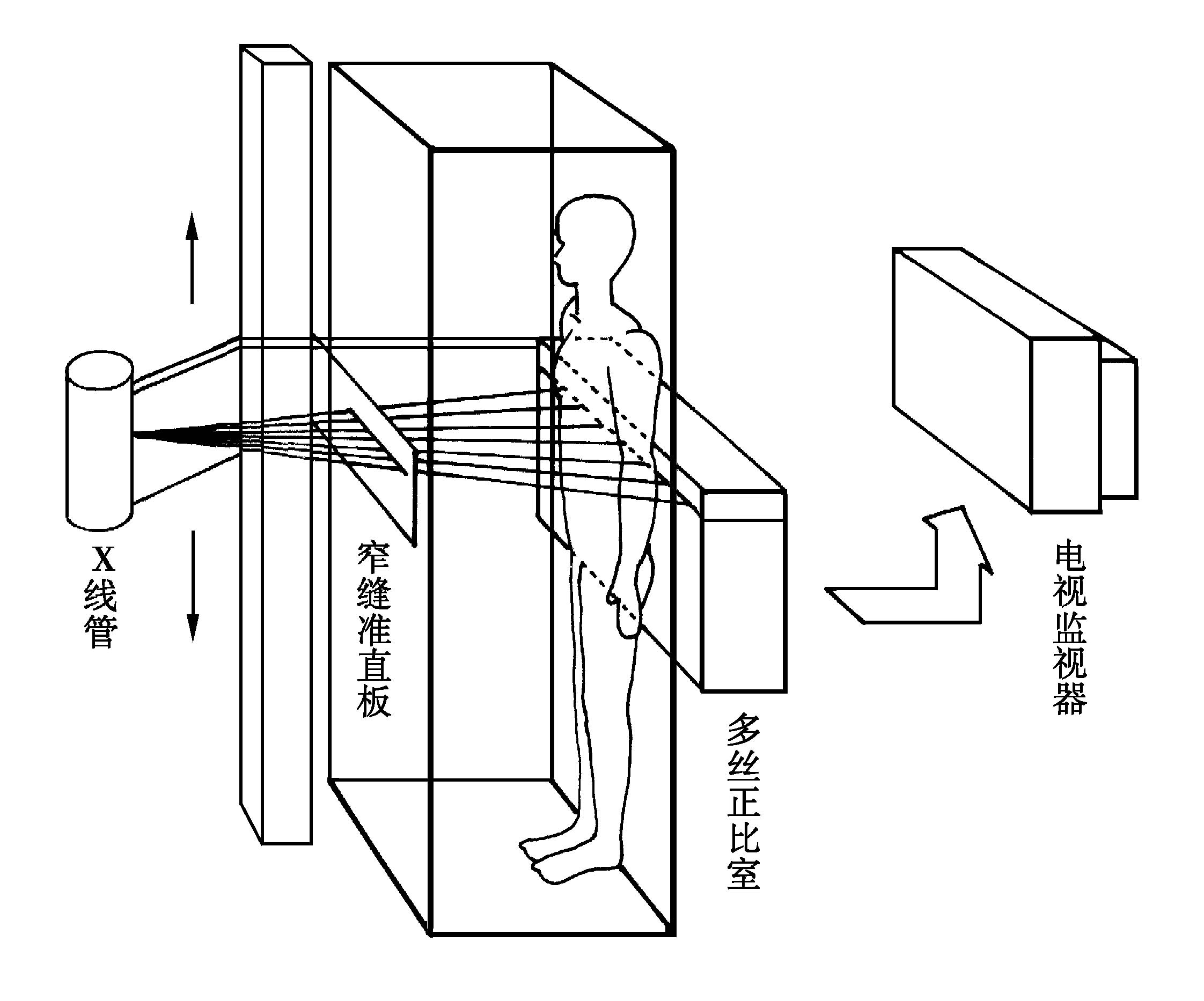
3. 多丝正比室扫描型DR 主要由高压电源、水平狭缝,多丝正比室、机械扫描系统、数据采集、计算机控制及图像处理系统组成,扫描架如图4-11所示。
图4-11多丝正比室扫描型DR结构
(1)多丝正比室:是一种气体探测器,可看作成由许多独立的正比计数管组合而成。其基本结构是在两块平行的人面积金属板之间。平行并列许多条金属丝:这些金属丝彼此绝缘。各施加一定的正电压(lkV左右),形成许多阳极,金属板接地形成公共的阴极。室内充以惰性气体,如氨( Ar)气,或有机气体,如CH4,室壁装有薄金属〔如铝)窗。当穿透病人被检部位的X线光子经金属窗射人正比室后,使气体分子电离。电离电子在金属丝与金属板之间的电场作用下向金属丝移动,并与气体分子碰撞,如果电子从电场获得的能量大于气体的电离能时,将会引起气体进一步电离。电子越接近金属丝,电场越强,这将导致气体雪崩式电离,使金属丝收集的电子比原始气体电离所产生的电子多101~103倍。
因正比室对电离电子有放大作用,故具有较高的探侧灵敏度。另外,每根金属丝上收集的电子正比于初始气体电离电子,亦即正比于入射X线强度。
(2)扫描投影DR的工作原理:X线管辐射的锥形X线束,经水平狭缝准直后形成平面扇形X线束。X线通过病人被检部位,射入水平放置的多丝正比室窗口,在被探测器接收后,机械扫描装置使X线管头、水平狭缝及探测器沿垂直方向作均匀的同步平移扫描到达新位置后再作水平照射投影;如此重复进行,就完成一副图像的采集。多丝正比室的每根金属丝都与一路放大器相连,经A/D转换器将电压信号数字化后,输入计算机进行图像处。监视器既可显示存储器内末经处理的图像,又可显示计算机处理后的图像。
(3)技术指标:系统的分辨力与狭缝的宽度及金属丝的间隔有关,前者影响垂直分辨力,后者影响水平分辨力。目前,水平狭缝的高度和金属丝的间隔都减少到0.5 mm,每个像素的面积为0.5mm×0.5mm左右。
扫描投影DR的主要技术参数如下:①多丝正比室尺寸450 mm×200 mm×50 mm;②采集效率高,背景噪声几乎为零;③密度分辨力高,数字化量化深度14~16 bit;④拍摄一张胸片曝光剂量小,约需3~5 mR;⑤采集一行信息约需10 ms,拍摄一幅图像在6秒以内;⑥因采用狭缝,故病人接受的散射线减少70 %,可用于常规体检。
4.CCD摄像机型DR 它主要由荧光板、反光板、CCD摄像机、计算机控制及处理系统等构成。其结构如图4-12所示。

图4-12 CCD摄像机型DR结构图
(1)工作原理:X线透过人体被检部位后,经滤线栅滤除散射线到达荧光板,由荧光板将X线图像转换成荧光图像,荧光经过一组透镜反射,进入CCD摄像机光敏区,由CCD摄像机将荧光图像转换成数字图像信号,送图像处理器进行图像后处理、存储,由显示器显示或激光相机打印。
(2)技术指标:CCD摄像机的像素数一般可达400万像素以上,空间分辨力可达到2.8 Lp/mm,图像密度分辨力为16 bit,图像重建时间为7~8秒,由于荧光板存在老化问题,长时间应用会造成图像质量下降,因此需定期更换荧光板。CCD摄像机型DR造价低,成像质量佳,消耗材料少,易于安装维护,一台多功能DR可满足全身各部位投照需求。

