目录

  • 1 绪论
    • 1.1 模具概述
    • 1.2 课程设置与培养目标
  • 2 塑料成型工艺与模具设计
    • 2.1 塑料成型工艺基础
    • 2.2 注射成型工艺原理及工艺条件
    • 2.3 注射模典型结构
    • 2.4 注射模具结构设计
    • 2.5 模具与注射机参数校核
    • 2.6 注塑模具设计流程及软件介绍
    • 2.7 本章小结与习题
  • 3 冲压成形工艺与模具设计
    • 3.1 冲压工艺基础
    • 3.2 冲裁工艺与模具结构设计
    • 3.3 冲裁模具设计流程与案例
  • 4 模具制造技术
    • 4.1 本章学习目标与教学要求
    • 4.2 模具制造基础
    • 4.3 模具装配工艺
    • 4.4 本章小结与习题
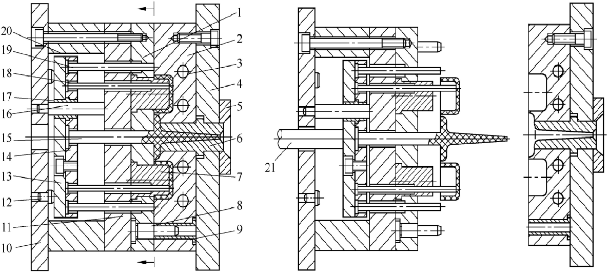
注射模典型结构
  • 1 PPT
  • 2 模具结构讲解视频
  • 3 三种典型模具图
  • 4 典型注塑模具拆装实验