气源装置的作用是为气动设备提供符合需要的压缩空气,气源装置的主体是空气压缩机。
压缩空气站:气压系统的动力源装置
一般规定:排气量≥6~12/min时应独立设置压缩空气站。
若排气量〈 6/min可将压缩机或气泵直接装在主机旁。
压缩空气必须经过干燥和净化处理后才能使用,否则会造成许多不良后果。比如:
油液挥发的油蒸气聚集在储气罐中形成易燃易爆物质,可能会造成事故。
油液被高温汽化后形成有机酸,对金属器件起腐蚀作用。
油、水和灰尘的混合物沉积在管道内将减小管道内径,使气阻增大或管路堵塞。
在气温比较低时,水汽凝结后会使管道及附件因冻结而损坏,或造成气流不畅通以及产生误动作。
较大的杂质颗粒与气缸、气马达、气控阀等元件的运动件之间形成相对运动,而造成表面磨损,从而降低设备的使用寿命;或者堵塞控制元件的通道,直接影响元件的性能,甚至使控制失灵。
压缩空气站的组成:空气压缩机、后冷却器、油水分离器、储气罐、干燥器、过滤器。

压缩空气站净化流程示意图
从图中可以看出,空气首先经过过滤器过滤掉部分灰尘、杂质后进入压缩机1,压缩机输出的空气先进入后冷却器2进行冷却,当温度下降到40~50℃时使油气与水气凝结成油滴和水滴,然后进入油水分离器3,使大部分油、水和杂质从气体中分离出来,将得到初步净化的压缩空气送入储气罐中,对于要求不高的气压系统即可从储气罐4直接供气。
但对仪表用气和质量要求高的工业用气,则必须进行二次和多次净化处理。即将经过一次净化处理的压缩空气再送进干燥器5进一步除去气体中的残留水分和油。在净化系统中干燥器I和Ⅱ交换使用,其中闲置的一个利用加热器8吹入的热空气进行再生,以备接替使用。四通阀9用于转换两个干燥器的工作状态,过滤器6的作用是进一步清除压缩空气中的颗粒和油气。经过处理的气体进入储气罐7,可供给气动设备和仪表使用。
空气压缩机是将电动机输出的机械能转换成气体压力能的装置。
按工作原理分类:
容积式:活塞式、膜片式、螺杆式
速度式(叶片式):离心式、轴流式
目前使用最广泛的是活塞式压缩机
活塞式压缩机的工作原理:

1、连杆
2、活塞
3、排气阀
4、进气阀
5、气缸
6、曲柄
活塞式压缩机利用曲柄连杆机构,将原动机的回转运动转变为活塞的往复直线运动。当活塞下行时,气缸的容积增大,压力降低出现真空度,排气阀关闭。外界空气在大气压作用下,经过空气过滤器和进气管,推开进气阀进入气缸,此过程称作吸气过程。
当活塞上行时,气缸的容积减小,空气受到压缩,压力逐渐升高使进气阀关闭,排气阀被打开,压缩空气经排气管进入储气罐。这一过程称为压缩过程。
曲柄旋转一周活塞往复行程一次,即完成一个工作循环。空气压缩机就这样循环往复运动不断产生压缩空气。
大多数空气压缩机是多缸和多活塞的组合。
用于将空气压缩机排出的气体冷却并除去水分。
一般采用蛇管式或套管式冷却器

蛇管式冷却器
空气压缩机排出的热空气由蛇管上部进入,冷却水从下部进入,通过管外壁与管外冷却水进行热交换,气体冷却后由蛇管下部输出。
这种冷却器结构简单,使用和维修方便,广泛用于流量较小的场合。
套管式冷却器
套管、套管的横截面,套管由内管、外管和支承架组成。
压缩空气从上面进入,在外管和内管之间流动,冷却水从下面进入,在内管中流动对压缩空气进行冷却。
这种冷却器流通截面小,容易达到高速流动,有利于散热冷却,主要用在流量不太大,散热面积较小的场合。

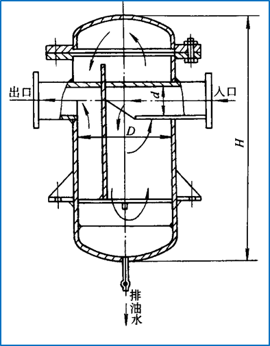
除油器用于分离压缩空气中所含的油分和水分。
工作原理:如图所示,压缩空气进入除油器后产生流向和速度的急剧变化,在这过程中依靠离心力的作用,将密度比压缩空气大的油滴和水滴分离出来。

储气罐主要用于:
消除压力被动,保证输出气流的连续性;
储存一定数量的压缩空气,以备发生故障和临时需要应急使用;
进一步分离压缩空气中的水分和油分。
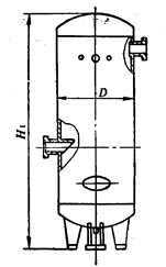
储气罐一般采用圆筒状焊接结构,有立式/卧式两种,一般以立式居多。
每个储气罐都应有以下附件:
安全阀: 调整极限压力,通常比正常工作压力高10%;
压力表:指示罐内空气压力;
设置清理、检查用的孔口;
底部应设排放油水的接管和阀门。
在选择储气罐的容积Vc时,一般以空气压缩机每分钟的排气量q为依据,

立式储气罐高度H1为其内径D的2~3倍,应使进气管在下,出气管在上。

吸收和排除压缩空气中的水分和部分油分与杂质,使湿空气变成干空气的装置。如图所示为一种不加热再生式干燥器。
它有两个填满干燥剂的相同容器。空气从一个容器的下部流到上部,水分被干燥剂吸收而得到干燥,一部分干燥后的空气又从另一个容器的上部流到下部,从饱和的干燥剂中把水分带走并放入大气。
即实现了不须外加热源就可使吸附剂再生。I、Ⅱ两容器定期交换工作,这样就可得到连续输出的干燥压缩空气。
作用:滤除压缩空气中的杂质微粒,达到气压传动系统所要求的净化程度。
一般空气过滤器基本上是由壳体和滤芯所组成,按滤芯所采用的材料不同又可分为纸质、织物(麻布、绒布、毛毡)、陶瓷、泡沫塑料和金属(金属网、金属屑)等过滤器。
空气压缩机中普遍采用纸质过滤器和金属过滤器。这种过滤器通常又称为一次过滤器(滤灰效率为50~70%)。

在空气压缩机的输出端(即气源装置)使用的为二次过滤器(滤灰效率为70%~90%) 和高效过滤器(滤灰效率大于99%)。如图所示为普通空气过滤器(二次过滤器)的结构图。
工作原理:压缩空气从输入口进入后,被引人旋风叶子1,旋风叶子上有许多成一定角度的缺口,迫使空气沿切线方向产生强烈旋转。这样夹杂在空气中的较大水滴、油滴和灰尖等便依靠自身的惯性与存水杯3的内壁碰撞,并从空气中分离出来沉到杯底,而微粒灰尘和雾状水汽则由滤芯2滤除。洁净的空气便从输出口输出。
为防止气体旋转将存水杯中积存的污水卷起,在滤芯下部设有挡水扳4。此外存水杯中的污水应通过手动排水阀5及时排放。在某些人工排水不方便的场合,可采用自动排水式空气过滤器。
空气过滤器的选择主要依据气压传动系统所需要的过滤度和额定流量而定。
空气过滤器必须垂直安装,并将放水阀朝下。
空气过滤器可单独使用,
但多数时是组合使用,其安装次序:空气过滤器减压阀油雾器。
安装位置应在气动设备的附近。

