一 、方向控制阀
方向控制阀按压缩空气在阀内的作用方向,可分为单向型控制阀和换向型控制阀。
1.单向型控制阀
(1)单向阀。

(2)或门型梭阀。
两个单向阀的组合,其作用相当于“或门”。
梭阀有两个进气口P1和P2,一个出口A,其中P1和P2都可与A口相通、但P1和P2不相通。P1和P2中的任一个有信号输入,A都有输出。若P1和P2都有信号输入,则先加入侧或信号压力高侧的气信号通过A输出,另一侧则被堵死,仅当P1和P2都无信号输入时,A才无信号输出。

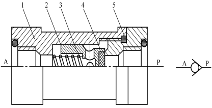
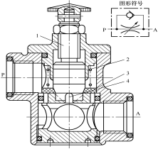
(3)与门型梭阀。(也称之为双压阀)。
两个单向阀的组合,其作用相当于“与门”。
其工作特点是只有P1和P2同时供气,A口才有输出;当P1或P2单独通气时,阀芯就被推至相对端,封闭截止型阀口;当P1和P2同时通气时,哪端压力低,A口就和哪端相通,另一端关闭,其逻辑关系为“与”,图形符号如图。

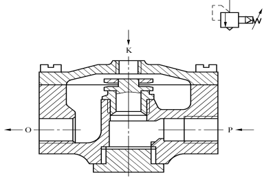
(4)快速排气阀。
当气体从P通入时,气体的压力使密封活塞下移封闭快速排气口O,并导通P口和A口,当P口没有压缩空气时,密封活塞上移,封闭A和P通道,A通过排气通道O而快速排气(一般排到大气中)。
快速排气阀常装在换向阀和气缸之间,它使气缸不通过换向阀而快速排出气体,从而加快气缸的往复运动速度,缩短工作周期。

二、压力控制阀
气压控制阀与液压控制阀在工作原理及分类方法上基本相同,现介绍几种目前应用较多、有代表性的气压控制阀。
1.减压阀
减压阀是气动系统中的压力调节元件。气动系统的压缩空气一般是由压缩机将空气压缩,储存在储气罐内,然后经管路输送给气动装置使用,储气罐的压力一般比设备实际需要的压力高,并且压力波动也较大,在一般情况下,需采用减压阀来得到压力较低并且稳定的供气。
减压阀的减压和稳压原理是:靠进气口的节流作用减压,通过输出压力的负反馈,在膜片上产生的力与弹簧平衡。
(1)直动式减压阀

2.溢流阀
溢流阀也称安全阀,有直动式和先导式两种结构。


三、流量控制阀
1.节流阀
图所示的是节流阀的结构,它由阀体、阀座、阀芯和调节螺杆组成。

2.单向节流阀


四、逻辑控制阀
逻辑阀是常用的气动逻辑元件之一。它是在气控信号作用下使阀中的可动部件动作,来完成一定的逻辑功能。在前面所讲到的梭阀和双压阀也具有逻辑功能,从结构上看,它们与逻辑阀没有本质的差别,所不同的是气动控制阀的输出功率较大,尺寸大,而气动逻辑阀的输出功率较小,尺寸小。气动逻辑阀的种类很多,按工作压力可分为高压(0.2MPa~0.8MPa)、低压(0.02MPa~0.2MPa)、微压元件(< 0.02MPa),按逻辑功能分为“是门”、“或门”、“非门”元件和双稳元件等,按结构形式分为截止式、滑阀式和膜片式逻辑元件等。

