气源装置及气动辅助元件
上一节
下一节
作为气压传动的传动介质空气,在进入气压系统前,需要进行除尘、干燥等一系列操作,这让同学们认识到我们呼吸的空气中含有很多灰尘和杂质。为了能够让我们呼吸的空气更清新,也为了贯彻落实习近平总书记关于碳达峰、碳中和的重要讲话和重要指示精神,我们要走绿色发展的道路。
一气源系统


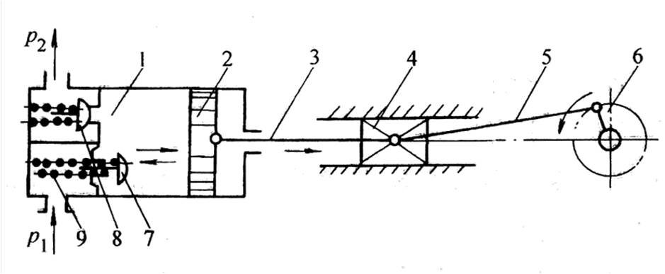
空气压缩机工作原理
Ø吸气过程:曲柄6回转带动气缸活塞2作直线往复运动,当活塞2向右运动时,气缸腔1容积增大形成局部真空,在大气压作用下,吸气阀7打开,大气进入气缸1。Ø排气过程:当活塞向左运动时,气缸1内容积缩小,气体被压缩,压力升高,排气阀8打开,压缩空气排出。

动画
后冷却器


油水分离器

储气罐














