液压缸
上一节
下一节
思政目标:
1.培养分析问题、解决问题,团队协作的能力;
2.培养主动性学习、探索的求知态度。
任务实施:中国大射电望远镜FAST中自主创新项目:主动反射面技术。该技术中使用液压促动器作为动力元件,教学过程以促动器中液压执行机构的选择为教学案例,开展任务。




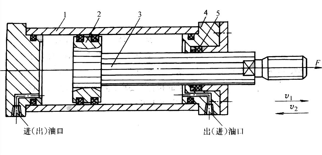
组成:活塞、缸体、活塞杆、端盖、密封


动画:


柱塞缸
动画:



多级缸:

