油箱
上一节
下一节
作为辅助元件,平时虽默默无闻,但是真正需要他的时候,他会挺身而出。这就像在疫情面前逆行的白衣天使,她们平时在普通岗位上默默奉献,当疫情来临时,国家和人民需要她们的时候,她们不怕困难,迎难而上,成为最美的逆行者。


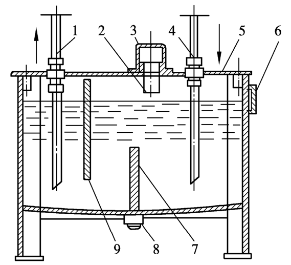
油箱的结构

油箱
1l油箱的功用:油箱在液压系统中的功用是储存油液、散发油液中的热量、沉淀污物并逸出油液中的气体。
2l分类:液压系统中的油箱有整体式和分离式两种。整体式油箱利用主机的内腔作为油箱,这种油箱结构紧凑,各处漏油易于回收,但增加了设计和制造的复杂性,维修不便,散热条件不好,且会使主机产生热变形。分离式油箱单独设置,与主机分开,减少了油箱发热和液压源振动对主机工作精度的影响,因此得到了普遍的应用,特别在精密机械上。按油面是否与大气相通,油箱又可分为开式油箱与闭式油箱。开式油箱广泛用于一般的液压系统;闭式油箱则用于水下和高空无稳定气压的场合。



3油箱的设计要点


