产品质量检测(零件检测与质量分析)

潘春梅佟军民张飞李建军

目录

  • 1 模块一 极限配合与检测
    • 1.1 第一次课(2学时)
    • 1.2 学习情境1-1 输出轴闷盖尺寸公差检测
    • 1.3 学习情境1-2 输出轴尺寸公差检测
    • 1.4 学习情境1-3 减速器配合尺寸检测
    • 1.5 学习情境1-4 箱体盖尺寸公差检测
    • 1.6 学习情境1-5 齿轮尺寸公差检测
  • 2 模块2 几何公差与检测
    • 2.1 学习情境2-1 输出轴几何公差检测
    • 2.2 学习情境2-2 箱体几何公差检测
  • 3 模块3 表面粗糙度与检测
    • 3.1 学习情境3-1 输出轴表面粗糙度检测
学习情境1-1 输出轴闷盖尺寸公差检测
  • 1 自学课件
  • 2 微课
  • 3 信息页
  • 4 视频
  • 5 动画
  • 6 章节测验
  • 7 参考资料
  • 8 主题讨论
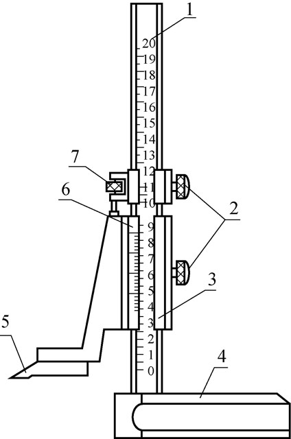
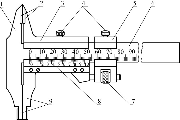
  • 9 游标卡尺图片

1.学习课件

2.参考课件