
轴类典型零件加工工艺——复杂工程问题
驱动桥的主动锥齿轮轴零件


零件图
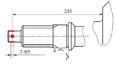
主动锥齿轮轴零件如下

其机械加工工艺成熟,且具有代表性。
生产类型是大批大量,规模化生产。
1.读图与主要加工表面识别
阅读载重汽车总图,传动系统原理如下

汽车后桥部件中包括主减速器组件。
其主要功能是将发动机经过离合器和变速器传递的动力传递给车轮,驱动汽车运动。

阅读载重汽车后桥部件图,掌握主动锥齿轮在后桥部件中的装配关系。

主动锥齿轮轴是汽车主减速器(两级)的第一级减速器的主动齿轮。

主减速器承担着传递动力、减速增扭的功能,它承受载荷较大,也承受地面传递的冲击载荷。

汽车的平顺性和舒适性要求该零件加工精度较高。
汽车作为移动机械装备,其零件在传递同样功率的条件下,具有更小的质量。
阅读主动锥齿轮零件图。主动锥齿轮轴较一般轴类零件稍显复杂,不仅具有典型的轴类零件加工工艺过程,也有螺旋锥齿轮加工工艺内容,分析其机械加工工艺有较大的示范效果。
主动锥齿轮轴上尺寸为Φ65和Φ50两处外圆面的尺寸精度要求高,表面粗糙度要求也高。这两处外圆表面均有圆跳动要求(相对于两个中心孔确定的轴线基准)。它们附近的端面也有圆跳动要求(相对于两个中心孔确定的轴线基准)。
分析后桥部件装配图可以看出这两处外圆表面都是配合表面,是装配基准,也是设计基准。Φ65轴颈端面是确定齿轮位置的轴向基准,是装配基准,也是设计基准。
齿形表面也是主要加工表面,它是零件的工作表面。
花键的尺寸精度要求高,也有圆跳动要求。
花键是装配基准。
2.材料、毛坯与热处理
主动锥齿轮轴材料一般选用20CrMnTi。
最终热处理采用渗碳淬火,表面硬度58~63HRC,心部硬度33~48HRC。
毛坯采用模锻工艺制造。预备热处理为正火处理,硬度为157~207HV。
3.加工方法与定位基准
主动锥齿轮轴是汽车主减速器上的零件,生产类型是大批量生产,主动锥齿轮轴采用精密锻造毛坯。毛坯尺寸精度高,机械加工余量小。
采用粗车→半精车→磨削的加工方案进行淬硬轴颈表面的加工。
齿坯轴的车削和磨削轴颈外圆都可以采用双顶尖安装工件。
双中心孔确定的轴线作为设计基准,是齿坯轴加工的精基准,符合基准重合的原则。
精基准加工采用多工位组合机床,铣削毛坯的两个端面,并钻中心孔。加工基准采用零件主要加工表面对应的毛坯外圆面和端面,它们是粗基准。
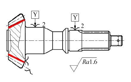
主动锥齿轮齿形加工的定位基准需要使用齿坯轴的精加工表面(主动锥齿轮的主要加工表面对应的齿坯轴Φ65外圆面与端面,即轴颈及端面)。因此,齿形表面加工需要在齿坯轴表面(包括渐开线花键表面)加工完毕后进行。
主动锥齿轮轴的加工工艺过程可以看作两个阶段:齿坯轴加工阶段,齿形表面加工阶段。
在它们之间安排中间检查工序,控制产品质量。
齿坯轴加工是典型轴类零件加工工艺,齿形加工是典型的螺旋伞齿轮加工工艺。
在齿形表面加工阶段,加工方法为粗铣轮齿→精铣轮齿凸面→精铣轮齿凹面。
为了提高齿轮的强度,在齿轮加工完毕后,进行了渗碳热处理。
热处理后工件变形较大,需要磨削装配基准。
采用一次装夹加工完成有圆跳动公差表面,以保证加工表面之间的相互关系。

需要说明的是,齿坯轴加工阶段采用中心孔定位工件,而齿形加工阶段换作轴颈与端面定位,定位基准发生转换,特别设计自定心夹具保障定位精度。

4. 典型工艺案例
在企业生产中,主动螺旋锥齿轮轴加工有几十道工序。
下面以螺旋齿轮加工为例,给出轴类零件加工的典型主要加工工艺。

工序1、铣端面,打中心孔。
铣钻组合机床

工序2、车轴颈及背锥。
液压仿形车床

工序3、车槽及锥端面。
液压仿形车床

工序4、铣渐开线花键。
铣钻组合机床

工序5、磨轴颈及端面。
端面外圆磨床

工序6、加工螺纹。
套丝机

工序7、钻孔。
多工位钻床

工序8、中间检查
检查Φ65.40,Φ50.40,Φ47.42
工序9、粗铣轮齿。
铣齿机床

工序10、精铣轮齿凸面。
铣齿机床

工序11、精铣轮齿凹面。
铣齿机床

工序12、中间检查
接触区,齿侧间隙,齿面粗糙度
工序13、热处理
渗碳层,表面硬度,心部硬度
工序14、磨轴颈及端面。
端面外圆磨床

工序15、最终检查

轴类零件加工工艺
1.零件结构特征与工件安装方式
常见轴类零件包括光轴、阶梯轴、锥轴、半轴、花键轴、螺杆、空心轴、圆柱齿轮轴、圆锥齿轮轴、凸轮轴、曲轴和十字轴等。
依据成组技术思想,下图所示零件统称为轴类零件,它们的机械加工工艺具有较多相似内容。

依据加工过程的定位基准与夹紧方式的不同,轴类零件可以区分为实心轴、空心轴,也可区分为长轴、短轴。
(1) 实心轴 用外圆定位安装或双顶尖定位安装均方便,工件夹紧容易实现。
(2) 空心轴 若空心轴需要采用双顶尖定位方式,则需要用堵头或心轴填充轴的空心孔。
在工件加工过程中往往不拆卸心轴或堵头,或尽量少拆卸,避免重新安装误差。若条件允许,空心轴也可考虑在轴孔处加工倒角锥用于工件定位安装。
(3) 长轴 长轴往往采用双顶尖作为外圆加工定位安装方式。粗加工常常首先加工轴的两个端面,然后钻中心孔,作为精基准。
(4) 短轴 短轴多采用三爪卡盘作为加工安装夹具,定位面为工件外圆和端面。粗加工多数先加工定位外圆表面和轴向定位端面,作为精基准。
齿轮轴、螺杆、花键轴和曲轴等零件加工工艺除了具有轴类零件加工的共性特点,又具有一些特殊性。
2.材料、毛坯与热处理
轴类零件应根据零件的工作条件和使用要求等,选择恰当的材料和热处理方法,以期获得所需强度、韧性和耐磨性。
轴类零件常用材料包括30钢、40钢、45钢、40Cr、40CrNi、GCr15、65Mn、20CrMo、20CrMnTi、20Mn2B、38CrMoAl等。
45钢轴的预备热处理为调质,调质后45钢具有良好的切削性能,兼具较高强度、韧性等综合力学性能。最终热处理采用局部淬火后回火,表面硬度可达45~52HRC,满足一般轴对材料力学性能的需求。
40Cr、40CrNi轴采用调质和表面淬火处理后具备较高的综合力学性能,满足中等精度高速轴需求。
GCr15和65Mn采用调质、表面淬火和回火处理后,表面硬度可达50~58HRC,具有较高疲劳强度和耐磨性。
20CrMnTi、20Mn2B、20CrMo等低碳合金钢轴采用正火和渗碳淬火处理可以获得较低的心部硬度和较高的表面硬度,处理后的轴具有较大的耐冲击性能。因渗碳淬火处理变形较大,热处理后需要磨削加工修复热处理变形。
38CrMoAl等中碳合金钢可以采用调质和渗氮处理,获取较高表面硬度,具有良好耐磨型和疲劳强度,较小的热处理变形。
轴类零件的常用毛坯是圆钢和锻件。挡形状特别复杂时,如曲轴,若强度满足要求也用铸件。
3.主要加工表面与次要加工表面
通常,轴类零件的技术要求如下:
(1)尺寸精度 主要轴颈(指配合,支承轴颈)的尺寸精度,一般为IT9~IT6。
(2)几何形状精度 主要有圆度、圆柱度的要求,一般控制在尺寸公差以内。
(3)位置精度 支承轴颈之间有同轴度要求,工作表面、配合表面对支承轴颈有跳动要求。
(4)表面粗糙度 一般为Ra=0.8~0.16 mm。
轴类零件的主要加工表面往往是轴颈,它们通常是定位基准、装配基准和工作表面等。用作装配基准和进一步加工的定位基准。零件主要加工表面也包括机器运动副的构成表面。
轴类零件的次要加工表面则是除了主要加工表面以外的各种加工表面,如各种凹槽、倒角、螺纹以及不重要的外圆及端面。
4.加工方法与定位基准
轴类零件多为回转体,其加工表面多为外圆面。
粗加工和半精加工方法以车削为主。对于非淬硬钢轴的精加工也可采用车削方法,对于淬硬钢轴的精加工则需要采用磨削方法。
车床和外圆磨床加工外圆表面均可采用双顶尖安装工件。
工件中心孔作为精基准,符合基准统一原则。
采用零件主要加工轴颈和端面对应的毛坯轴颈和端面作为粗基准。
短轴的定位精基准往往是外圆面和端面。
若轴类零件上还有其他加工表面,如轮齿、螺纹、花键等,则需要相应加工方法。
5.典型机械加工工艺过程
若轴类零件比较短,多采用外圆安装工件;若轴类零件比较长,则多采用中心孔安装工件。采用中心孔作为精基准的加工制造过程中尽量早加工工件的中心孔。
若轴类零件采用中心孔作为精基准,
其典型加工工艺过程为:
毛坯制造→预备热处理→铣端面钻中心孔→粗车主要外圆及端面→中间检验→车次要表面→半精车(精车)主要外圆及端面→最终热处理→磨削热处理后的外圆及端面→最终检验。如工件需要掉头车削,则在上述加工工艺过程的粗加工、半精加工和精加工中增加相应工序。
若轴类零件采用外圆面和端面作为精基准,
其典型加工工艺过程为:
毛坯制造→预备热处理→半精车基准外圆面和端面→粗车其他外圆及端面→掉头半精车另一端基准外圆面和端面→粗车其他外圆及端面→中间检验→精车基准外圆面和端面→半精车(或精车)其他主要外圆及端面→车削次要表面→掉头精车另一端基准外圆面和端面→半精车(或精车)其他主要外圆及端面→车削次要表面→最终热处理→无心磨削热处理的外圆→最终检验。
若轴类零件极其精密,尺寸稳定性要求高,则考虑增加低温时效或冷处理工序。

6.特殊轴类零件的加工工艺
除了锥齿轮轴,常见的特殊轴还包括圆柱齿轮轴、丝杆、花键轴、曲轴等。它们的加工工艺除了具备轴类零件的共性,也有特殊性。下面扼要阐述。
1)圆柱齿轮轴
齿轮轴材料选择以齿形加工和寿命为依据,通常选用机械强度、硬度等综合力学性能优良的材料。
齿轮轴加工工艺过程分为两个阶段,即齿坯轴加工和齿形加工。
第一个阶段完成齿坯轴加工,制造出齿形加工定位基准。
第二个阶段为齿形加工阶段,完成齿形加工。
若有变形较大的热处理过程,则齿形加工完成后进行装配基准加工和齿面精加工。
典型的齿轮轴加工工艺过程为:
毛坯制造→预备热处理→齿坯轴加工→中间检验→齿形加工→最终热处理→修整定位基准→齿形精加工→最终检验。
2)丝杆加工
丝杆的材料一般用GCr15、CrWMn、9CrSi等。热处理硬度范围60~62HRC。整体热处理变形大,表面高频淬火变形小。
丝杆加工定位基准通常采用中心孔,符合基准统一原则。
丝杆加工方法与丝杆的精度等级、硬度、生产纲领、生产率等关系密切。常见的螺纹加工方法有车削、旋风铣削、磨削和滚轧等四种。
典型的非淬硬丝杆加工工艺过程为:
毛坯制造→预备热处理→丝杆粗车螺纹→中间检验→半精车螺纹→精车螺纹→最终检验。
淬硬丝杆常采用“全磨工艺”。即采用轴的机械加工工艺加工出丝杆坯轴,然后采用整体淬火热处理提高材料硬度。在淬硬的坯轴上,采用磨削方法加工螺纹表面。“全磨工艺”避免了粗车螺纹+整体热处理+磨削螺纹工艺造成的应力裂纹(淬火应力集中引起)和磨削余量不均(丝杆全长形变造成)等问题。
典型的“全磨工艺”丝杆加工工艺过程为:
毛坯制造→预备热处理→丝杆坯轴加工→中间检验→螺纹磨削→最终检验。
3)花键轴加工
花键是轴类零件上的典型表面,花键轴的材料、毛坯、定位安装方式与普通轴类似。
花键轴加工方法通常有铣削和磨削两种。
铣削花键加工非淬硬轴,是花键的粗加工和半精加工方法。铣削花毽的方式有三面刃铣刀加工、花键滚刀加工、双飞刀高速铣花键等。
三面刃铣刀加工花键采用普通卧式铣床,配分度头调整工件转角,具有设备便利、加工方便、质量不高、生产率低的特点。
花键滚刀加工花键需专用设备和花键滚刀,具有较高的加工质量和生产率。
双飞刀高速铣花键也需要专用设备和刀具,具有很高的加工质量和生产率。
磨削花键加工能够加工淬硬轴,常用作花键的精加工方法。
花键是配对使用的,即花键孔与花键轴相配。它们的定心方式有大径定心、小径定心和键侧定心三种。
其中,大径定心花键副,花键轴的大径可以磨削。花键孔不能磨削,常采用拉削加工。因此大径定心花键的定心精度受限。
小径定心花键副的花键孔与花键轴均可以磨削,均可以在热处理提高硬度的条件下磨削加工,因而具有很高的定心精度和综合力学性能。因而广泛采用小径定心花键。
典型的小径定心花键轴加工工艺过程:毛坯制造→预备热处理→坯轴加工→中间检验→花键铣削→最终热处理→修整定位基准→花键磨削→最终检验。
4)曲轴加工
曲轴毛坯多采用锻件和铸件。大批量曲轴生产常用模锻毛坯。球墨铸铁曲轴采用铸件毛坯。
曲轴加工定位基准通常采用主轴颈为定位基准,止推面为轴向定位基准,与设计基准一致符合基准统一原则。采用中心孔为辅助精基准。连杆轴颈加工的定位精基准为主轴颈,符合基准重合原则。连杆轴颈处在圆周不同相位,还需要角度定位基准,在两端曲轴臂侧面加工工艺平台,作为定位精基准。它的定位粗基准为连杆轴颈。
曲轴的连杆轴颈轴线与主轴颈轴线不共线,各个连杆轴颈轴线也不一定共线。虽然曲轴表面都是外圆表面加工,其加工难度较大,往往需要专用设备,甚至专用加工原理。例如,连杆轴颈多刀车削加工原理。
典型的曲轴加工工艺过程:
毛坯制造→预备热处理→铣端面加工中心孔→粗、精车主轴颈→粗、精磨主轴颈→铣定位角度平台→车连杆轴颈→加工次要表面→中间检查→中频淬火→半精磨主轴颈→粗、精磨连杆轴颈→精磨主轴径→铣键槽→两端孔加工→动平衡→超精加工主轴颈和连杆轴颈→最终检验。


