
(数学公式表达不方便,更准确内容见纸质教材)
习题与思考题
5-1 何谓原始误差?试举例说明原始误差引起加工误差的实质。
5-2 何谓加工原理误差?是否需要完全消除加工原理误差。
5-3 何谓加工误差敏感方向?车床和镗床的误差敏感方向有何不同?
5-4磨削外圆如题图5.1所示,使用死顶尖的目的是什么?哪些因素会引起外圆的圆度或锥度误差,分别采用什么办法减小或消除?

题图5.1 磨削外圆
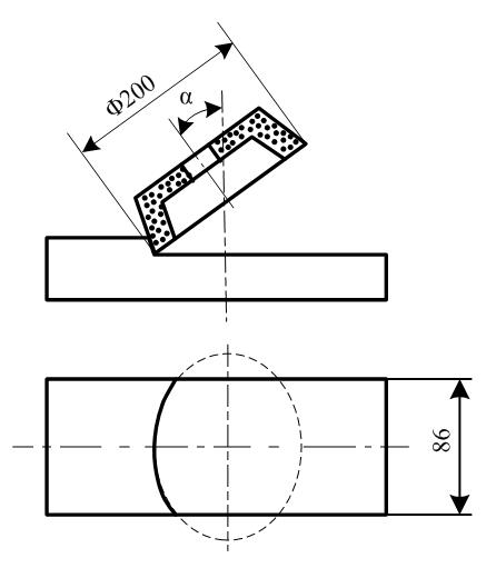
5-5在平面磨床上用端面砂轮磨削工件上表面,如题图5.2所示。为了改善切削条件,减少砂轮与工件接触面积,将砂轮旋转角度,试分析平面度误差。

题图5.2 磨削平面
5-6为什么卧式车床床身导轨在水平面内的直线度要求高于垂直面内的直线度要求?而对平面磨床的床身导轨的要求却相反,镗床导轨在垂直面和水平面内的要求都较高?
5-7传动链误差对所加工的螺纹的螺距误差有什么影响?
5-8 何谓接触刚度?试分析影响连接表面接触刚度的因素有哪些?减小接触变形通常采用哪些措施?
5-9何谓误差复映规律?误差复映系数的含义是什么?哪些因素影响其大小,减小误差复映的工艺措施有哪些?
5-10 设某一工艺系统的误差复映系数为0.25,工件在本工序前有圆度误差0.45mm,若本工序形状精度规定允差0.01mm。试问至少要走刀几次方能使形状精度合格?
5-11 什么是工艺系统刚度?影响工艺系统刚度的因素有哪些?
5-12 在车床上用双顶尖安装细长轴工件,车削加工后测量工件,工件表面连续光滑。
(1)若出现工件中间略粗,两端略细,试分析这种情况是何原因造成。
(2)若出现工件中间略细,两端略粗,试分析这种情况是何原因造成。
(3)若出现工件一端(尾座端)略粗,另一端(主轴箱端)略细,呈现锥体状,试分析这种情况是何原因造成。
5-13在某车床上用顶尖车光轴(Φ49.96~Φ50)mm×600mm,且测得车床的主轴箱刚度Kzx=6000N/mm,尾座刚度Kwz=5000N/mm,刀具刚度Kdj=4000N/mm,切削力Fy=100N,试求:
(1) 因机床刚度变化所产生的最大直径误差,并画出工件的形状误差曲线;
(2) 因工件受力变形所产生的最大直径误差,做出工件的纵向截面形状误差曲线;
(3) 两种因素综合后的工件最大直径误差,做出工件纵向截面形状误差曲线。
5-14在钻床上用小钻头加工深孔时,常发现孔轴线偏弯,而在车床上用小钻头加工常发现孔径扩大,试分析原因。
5-15刀具的制造误差和磨损在哪些加工场合直接影响加工精度?所引起的加工误差属于何种误差?
5-16 残余应力产生的原因是什么?如何减少或消除残余应力?
5-17 根据统计规律,加工误差分为几种?统计分析方法有哪些?
5-18 分布图的功用是什么?点图呢?
5-19 机械加工工艺过程稳定性的含义是什么?如何评价工艺稳定性?
5-20 机械连续加工一批工件,顺序测量工序尺寸记录为下表(每行从左至右,行序从上至下)。已知该某工序尺寸要求10~11.5mm,完成下列加工误差分析任务。
(1)绘制分布图,分析工序能力和废品率,并提出改进方案。
(2)绘制点图,分析加工工艺稳定性。
| 10.24 | 9.94 | 10.00 | 9.99 | 9.85 | 9.94 | 10.42 | 10.30 | 10.36 | 10.09 |
| 10.21 | 9.79 | 9.70 | 10.04 | 9.89 | 9.81 | 10.13 | 10.21 | 9.84 | 9.55 |
| 10.01 | 10.36 | 9.88 | 9.22 | 10.01 | 9.85 | 9.61 | 10.03 | 10.41 | 10.12 |
| 10.15 | 9.76 | 10.57 | 9.76 | 10.15 | 10.11 | 10.03 | 10.15 | 10.21 | 10.05 |
| 9.73 | 9.82 | 9.82 | 10.06 | 10.42 | 10.24 | 10.60 | 9.58 | 10.06 | 9.98 |
| 10.12 | 9.97 | 10.30 | 10.12 | 10.14 | 10.17 | 10.00 | 10.09 | 10.11 | 9.70 |
| 9.49 | 9.97 | 10.18 | 9.99 | 9.98 | 9.83 | 9.55 | 9.87 | 10.19 | 10.39 |
| 10.27 | 10.18 | 10.01 | 9.77 | 9.58 | 10.33 | 10.15 | 9.91 | 9.67 | 10.10 |
| 10.09 | 10.33 | 10.06 | 9.53 | 9.95 | 10.39 | 10.16 | 9.73 | 10.15 | 9.75 |
| 9.79 | 9.94 | 10.09 | 9.97 | 9.91 | 9.64 | 9.88 | 10.02.017 | 9.91 | 9.54 |
5-21 在无心磨床上磨削一批(Φ50.009~Φ50.034)mm小轴,加工后测量发现其尺寸分布符合正态分布,均方根差δ=0.005mm,分布曲线中心带比公差带中心大0.01mm。试做出尺寸分布曲线,分析可修复及不可修复的废品率。
5-22 某箱体孔,图纸尺寸为(Φ50.009~Φ50.034)mm,根据过去经验镗后尺寸呈正态分布,均方根差δ=0.003mm,试分析计算该工艺能力如何。为保证加工要求,应采用何种工艺措施?
5-23 题图5.3分别给出了四个工艺过程的点图,试分析每个工艺过程的特点。
(a)

(b)

(c)

(d)
题图5.3 点图
5-24 提高加工精度的主要措施有哪些,试举例说明。



