
习题及思考题
7-1 什么是装配?装配包含哪些内容?
7-2 装配精度与零件精度的关系如何?
7-3 什么是装配精度?影响装配精度的因素是什么?
7-4 与机械加工尺寸链相比,装配尺寸链有何特点?
7-5 装配尺寸链计算极值法和概率法的特点分别是什么?
7-6 什么是互换装配法?互换装配法有哪些?
7-7 什么是分组装配法?其特点与应用场合如何?
7-8 什么是修配装配法?其特点与应用场合如何?
7-9 什么是调整装配法?其特点与应用场合如何?
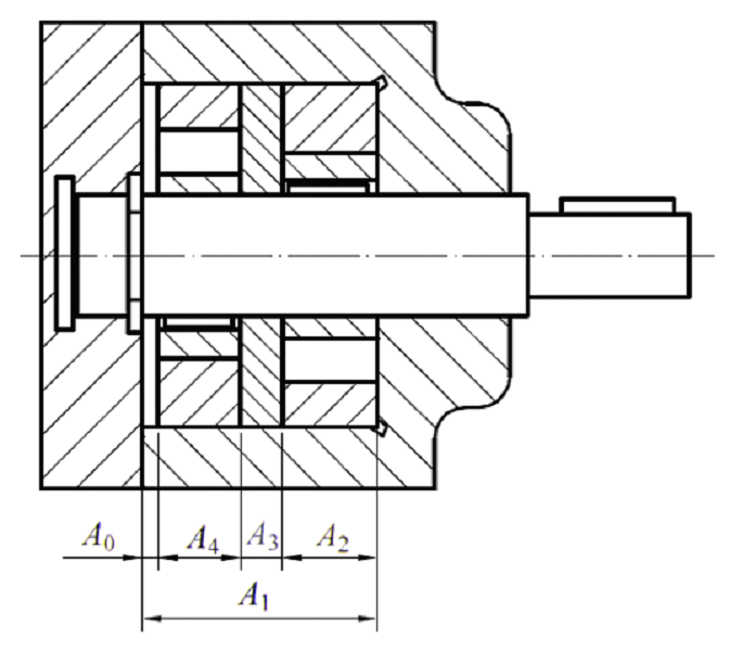
7-10 双联转子泵结构如题图7.1所示。要求冷态装配间隙A0=0.05~0.15mm。已知各组成环的基本尺寸如下:A1=41mm,A2= A4=17mm,A3=7mm。
(1)选择A1为协调环,试用完全互换法设计各组成环尺寸及其极限偏差。
(2)选择A1为协调环,取置信水平P=99.73%,试用大数互换法设计各组成环尺寸及其极限偏差。
(3)A1按IT10级公差制造,A2、A4按IT9级公差制造,选择A3为修配环。试用修配法设计修配环尺寸及其极限偏差。
(4)A1按IT10级公差制造,A2、A4按IT9级公差制造,选择A3为调整环,并取T3=0.02mm。试用调整法设计调整环尺寸及其极限偏差。

题图7.1
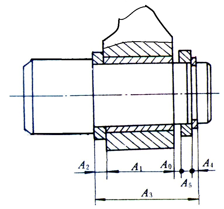
7-11 如题图7.2所示摇臂部件装配。已知基本尺寸如下:A1=30mm,A2=5mm,A3=43mm,A4=3mm,A5=5mm。要求控制安装间隙A0为0.1~0.35mm。采用完全互换法、大数互换法、修配法、调整法分别设计零件尺寸。

题图7.2
7-12 如题图7.3所示,普通车床主轴与尾座顶尖轴线的高度差不超过0.06mm。已知基本尺寸如下:A1=202mm,A2=46mm,A3=156mm。通常采用修配法装配。特别说明:修配工艺只允许修尾座高度,并在底板底面预先留有一定的修刮量。试设计各个尺寸。

题图7.3
7-13 某铣床矩形导轨装配结构如图7.15所示,要求装配配合间隙A0=0.01~0.07mm。已知A1=30mm,A2=30mm。A1、A2按IT11级公差制造。
(1)只修配A面时,试用修配法确定修配环尺寸及其极限偏差。
(2)只修配B面时,试用修配法确定修配环尺寸及其极限偏差。
(3)可以修配A面,也可以修配B面时,试用修配法确定修配环尺寸及其极限偏差。
7-14 题图7.4所示为齿轮装配图。已知基本尺寸:A1=115mm,A2=8.5mm,A3=95mm,A4=2.5mm,Ak=9mm。按照固定调整法装配。试设计各个尺寸。

题图7.4
7-15 什么是装配工艺规程?机械加工工艺规程的作用及其设计原则是什么?
7-16 装配的组织形式包含哪些?如何确定机器装配组织形式?
7-17 通常如何安排机器装配顺序?
7-18 装配工序设计的主要内容是什么?



