项目式教学:减速器传动轴的滚动轴承精度设计
上一节
下一节
项目式教学:减速器传动轴的滚动轴承精度设计
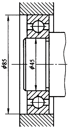
闭式传动的减速器传动轴上安装0级609深沟球轴承,内径为φ45mm,外径为φ85mm,其额定负荷为19700N,工作情况为:外壳固定,轴旋转,转速980r/min,承受的径向动负荷为1300N。试确定:
(1)轴颈和外壳孔的尺寸公差带代号和采用的公差原则
(2)轴颈和外壳孔的尺寸极限偏差以及它们与滚动轴承配合的有关表面的几何公差和表面粗糙度参数值;
(3)将上述公差要求分别标注在装配图和零件图上。


