2.2 空间数据的组织与管理
-
1 学习导向
-
2 视频
-
3 PPT
-
4 知识点
-
5 测验
-
6 讨论
-
7 资源
上一节
下一节
问题
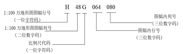
王三同学拟找测绘数据管理部门购买某一研究区的地形数据,对方提出需要填写具体的图号,他该怎么确定涉及哪些图号的地形图呢?
空间数据是怎么进行组织管理的?













