-
1 导读
-
2 图片
-
3 课件
-
4 视频
-
5 测评
螺纹基础知识

1.螺纹形成及主要参数
(1)螺纹的形成和分类
如图7-76所示,将底边长πd2的直角三角形ABC的纸片绕在直径为d2的圆柱面上,并使其底边BC和圆柱面底周边相重合,则斜边AB在圆柱面上形成的一条曲线即为螺旋线。再取一个通过圆柱面的轴线的牙型平面N(如矩形、三角行、梯形),使其沿螺旋线移动,则此牙型平面的空间轨迹即构成螺纹,如图7-77所示。
|
图7-76 螺旋线的形成 图7-77 螺纹的形成 |
按照牙型平面N 的不同,可将螺纹分为普通螺纹、管螺纹、梯形螺纹、锯齿形螺纹等,其特点和应用见表7-25。除矩形螺纹外,均已标准化,相关参数可参考国标gb/t14791-2013。
表7-25 常用螺纹的特点和应用
| 螺纹类型 | 牙型图 | 特点和应用 |
| 普通螺纹 |
| 牙型角a=600,当量摩擦系数大,自锁性能好。同一公称直径,按螺矩P的大小分为粗牙和细牙。粗牙螺纹用于一般联接,细牙螺纹常用于细小零件和薄壁件的联接,也可用于微调机构 |
| 圆柱管螺纹 |
| 牙型角a=550,牙顶有较大的圆角,内、外螺纹旋合后无径向间隙。该螺纹为英制细牙螺纹,公称直径近似为管子内径,紧密性好,用于压力在1.5MPa以下的管路联接 |
| 梯形螺纹 |
| 牙型角a=300,牙根强度高,对中性好,传动效率较高, 是应用较广的传动螺纹 |
| 锯齿形螺纹 |
| 工作面的牙侧角为30,非工作面的牙侧角为300,传动效率较梯形螺纹高,牙根强度也高,用于于单向受力的传动螺旋机构,如用于轧钢机的压下螺旋和螺旋压力机等机械上 |
| 矩形螺纹 |
| 牙侧角为00,传动效率高,但牙根强度差,磨损后无法补偿间隙,定心性能差,一般很少采用 |
注:除管螺纹采用英制(以每英寸牙数表示螺距)外,其他螺纹均采用米制。
按照圆柱表面上螺旋线的数目,又可将螺纹分为单线螺纹(图7-78a)和多线螺纹(图7-78b)。为制造方便,螺纹线数一般不超过4。单线螺纹自锁性好,常用于联接;多线螺纹传动效率较高,常用于传动。
按照螺旋线绕行方向,还可将螺纹分为右旋螺纹(图7-78a,标注时可省略)和左旋螺纹(图7-78 b,标注代号为LH)。右旋螺纹应用最广。
|
a) b) 图7-77 螺纹的线数和旋向 a)单线右旋螺纹 b)多线左旋螺纹 |
此外,根据螺纹是分布在内圆柱面上还是外圆柱面上,可以将其分为圆柱内螺纹和圆柱外螺纹,两者共同组成螺旋副,如图7-87所示。一般内螺纹的尺寸参数用大写字母表示,外螺纹的尺寸参数用小写字母表示。
(2)螺纹的基本参数和尺寸
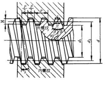
下面以普通螺纹为例说明螺纹的基本参数和几何尺寸,如图7-78所示。
|
图7-78 螺纹的基本参数 |
①大径d(D):螺纹的最大直径,与外螺纹牙顶(内螺纹牙底)相重合的假想圆柱直径,它是螺纹的公称直径。
②小径d1(D1):螺纹的最小直径,与外螺纹牙底(内螺纹牙顶)相重合的假想圆柱直径。
③中径d2(D2):螺纹的牙厚与牙间相等的假想圆柱直径。
④螺距P :相邻两牙在中径上对应两点间的轴向距离。根据螺距的大小,普通螺纹可分为粗牙(螺距可不标注)和细牙。
⑤导程S :同一条螺旋线上的相邻两牙在中径上对应两点间的轴向距离。设螺旋线数为n,则S=nP。
⑥导程角λ:在中径圆柱上螺旋线的切线与垂直于螺纹轴线的平面间的夹角,其展开形状如图7-75所示。计算公式为:
λ=arctan
(7-11)
⑦ 牙型角α:轴向剖面内,螺纹牙型两侧边的夹角。
⑧牙侧角β:轴向剖面内,螺纹牙型两侧边与螺纹轴线的垂线间的夹角。对三角形、梯形等对称牙型,β=
。
⑨螺纹接触高度H:内外螺纹相互旋合后,螺纹接触面的径向距离。
国家标准GB/T14791-2013规定了普通螺纹的基本尺寸和标注方法,见表7-26。
表7-26 螺纹直径与螺距、粗牙普通螺纹基本尺寸(GB/T14791-2013)
|
| H=0.866P d2=d-0.6495P d1=d-1.0825P 式中,D,d—内、外螺纹大径; D2, d2—内、外螺纹中径; D1, d1—内、外螺纹小径; P—螺距。 螺纹标记示例: M24 表示公称直径24 mm,螺距3 mm的右旋粗牙普通螺纹。 M24×1.5 LH 表示公称直径24 mm,螺距1.5 mm的左旋细牙普通螺纹。 | ||||
| 公称称直径(大径)D,d | 粗牙 | 细牙 | |||
| 螺距 | 中径D2,d2 | 小径D1,d1 | 螺距P | ||
| 3 4 | 0.5 0.7 | 2.675 3.545 | 2.459 3.242 | 0.35 | |
| 5 6 8 | 0.8 1 1.25 | 4.480 5.350 7.188 | 4.134 4.918 6.647 | 0.5 | |
| 10 | 1.5 | 9.026 | 8.376 | 1.25,1,0.75 | |
| 12 | 1.75 | 10.863 | 10.106 | 1.5,1.25,1,0.5 | |
| (14) 16 | 2 2 | 12.701 14.701 | 11.835 13.835 | 1.5,1 | |
| (18) 20 (22) 24 (27) 30 | 2.5 2.5 2.5 3 3 3.5 | 16.376 18.376 20.376 22.052 25.052 27.727 | 15.294 17.294 19.294 20.752 23.752 26.211 | 2,1.5,1 | |












