1.完成如图1所示工程图对应的M12六角螺母(GB/T 6170-2000)三维模型建模,未注尺寸(如螺距1.25等)按GB/T 6170-2000确定。

图1 六角螺母
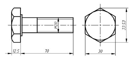
2.完成如图2所示工程图对应的三维模型建模,六角头螺栓未注尺寸按GB/T 5782-2000确定。

图2 六角头螺栓
3.完成如图3-4-3所示圆头螺母的三维建模。

图3 圆头螺母
4.完成如图3-4-4所示蝶形螺母的三维建模。

图4 蝶形螺母
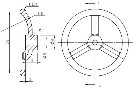
5.完成如图3-4-5所示轮盘零件的三维建模

图5 轮盘
1.完成如图1所示零件的三维建模,并以紫色带边着色显示三维模型。提示:建模时注意其中的相切、等壁厚、同心等几何关系。请问模型体积是多少?参考答案:15734.60 图中字母对应的尺寸见下表:


图1 钣金件连接
2.完成如图2所示工程图对应的三维模型建模钣金壁厚为1.5,建模完成后请回答模型的体积。

图2 搭板
3.完成如图3所示零件的三维建模,并以绿色带边着色显示三维模型,五角星顶面为红色。提示:建模时注意其中的长方体薄板尺寸为200*20*2、五角星在以边长为5的正五边形为参考,请问环形折弯模型的周长是多少?


图3 指环王
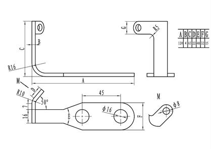
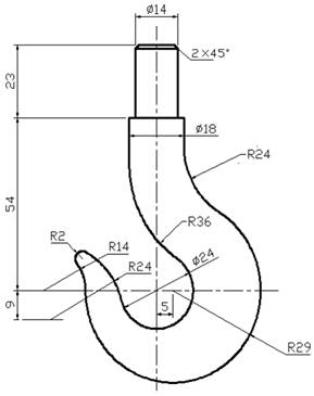
4.完成如图4所示工程图对应的三维模型建模未注尺寸自行补充。

图4 行车吊钩
5.完成如图5所示工程图对应的三维模型建模,建模完成后请回答模型的体积。

图5 转盘