钢筋混凝土独立基础
上一节
下一节
构造要求
(1) 锥形基础的边缘高度不宜小于200mm,且两个方向的坡度不宜大于1:3;阶梯形基础的每阶高度宜为300mm~500mm。
(2)垫层的厚度不宜小于70mm,垫层混凝土强度等级不宜低于C10。
(3)扩展基础受力钢筋最小配筋率不应小于0.15%,底板受力钢筋的最小直径不应小于10mm;间距不应大于200mm,也不应小于100mm。当有垫层时钢筋保护层的厚度不应小于40mm;无垫层时不应小于70mm。
(4)混凝土强度等级不应低于C20。
(5)当柱下钢筋混凝土独立基础的边长大于或等于2.5m时,底板受力钢筋的长度可取边长的0.9倍,并宜交错布置。

设计计算
柱下钢筋混凝土独立基础的计算应符合下列规定:
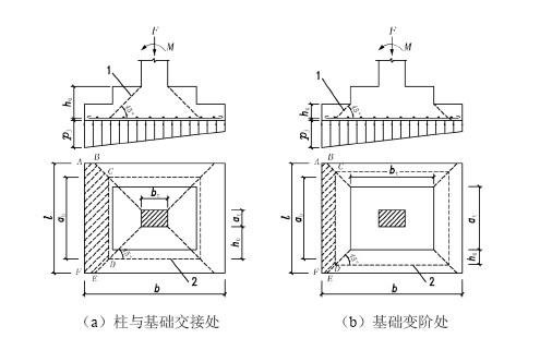
1)对柱下独立基础,当冲切破坏锥体落在基础底面以内时,应验算柱与基础交接处以及基础变阶处的受冲切承载力。
2)对基础底面短边尺寸小于或等于柱宽加两倍基础有效高度的柱下独立基础,应验算柱与基础交接处的基础受剪切承载力。
3)基础底板的配筋,应按抗弯计算确定。
4)当基础的混凝土强度等级小于柱的混凝土强度等级时,尚应验算柱下基础顶面的局部受压承载力。


