一:本视频主要介绍采用压力机压入法进行轮对组装的过程,通过本视频可以了解压力机的外形,轮对组装过程。
提醒:视频大小为27M,请在WIFI下观看,流量土豪略过本提醒。
二:本视频主要介绍对磨损后车轮的再加工过程,通过本视频可以了解车轮旋切的过程。
提醒:视频大小分别为20M、15M,请在WIFI下观看,流量土豪略过本提醒。
三:本视频主要介绍轴箱装置的拆装过程,通过本视频可以了解轴箱拆装的顺序和检修的过程。
提醒:视频大小分别为154M,请在WIFI下观看,流量土豪略过本提醒。
四:本视频主要介绍对轴承的加工过程,转载视频,忽略广告。
提醒:视频大小分别为31M,请在WIFI下观看,流量土豪略过本提醒。
1.轮对
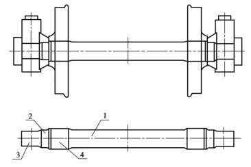
由一根车轴和两个同型号同材质的车轮压装在一起组成一条轮对。我国目前主要采用辗钢整体式车轮,也有部分铸钢整体车轮。车轮与轨面接触的部分称为踏面,踏面内侧突起的部分称为轮缘。我国客车车轮的标准直径为915mm。车轴中部为轴身,安装轴承的部分称为轴颈,安装轴承密封装置的部位称为防尘板座,安装车轮的部位称为轮座。
2.轴承装置
有滚动轴承装置和滑动轴承轴箱油润装置两类装置。目前滑动轴承已淘汰,我国车辆轴承全部滚动化。滚动轴承装置又分两种形式,一种是有轴箱的单列短圆柱滚子轴承轴箱装置,主要用于客车转向架;另一种是无轴箱双列圆锥滚动轴承,全部用于货车转向架。滚动轴承装置一般由滚动轴承、轴箱、轴箱盖和密封装置等组成,其中滚动轴承由内圈、外圈、滚子及保持架等组成。
【活动场景】
在城市轨道交通车辆转向架生产车间或检修现场教学,或用多媒体展示介绍城市轨道交通车辆转向架使用与检修。
【任务要求】
掌握转向架的作用、分类及组成。
【知识准备】
(1)轮对
如图5.19所示是城轨车辆轮对结构示意图。由图可知城轨车辆轮对是由一根车轴和两个同型号车轮通过过盈配合组装而成。轮对组装过程通常采用冷压或热套工艺,使车轮与车轴牢固地结合在一起,使用过程中不允许有松脱现象。

图5.19 轮对结构示意图
1-车轴;2-车轮
轮对的作用是引导车辆沿钢轨运动,同时还承受车辆与钢轨之间的载荷。因此,轮对应具有足够的强度,以保证车辆的安全运行。在保证强度和使用寿命的前提下,应减轻轮对的质量,并使其具有一定的弹性,以减少车轮与钢轨之间的动作用力和磨耗。
轮对的内侧距是保证车辆运行安全的一个重要参数。我国地铁采用与铁路通用的1435mm标准轨距,轮对在钢轨上滚动时,轮对内侧距应保证在最不利的条件下,车轮踏面在钢轨上仍有足够的安全搭接量,不致造成掉道,同时还应保证车辆在线路上运行时轮缘与钢轨间有一定的游隙。轮缘与钢轨间的游隙太小,可能会造成轮缘与钢轨的严重磨耗;轮缘与钢轨间的游隙太大,会使轮对蛇行运动的振幅增大,影响车辆运行品质。轮对内侧距有严格的规定:我国地铁车辆轮对内侧距为(1353±2)mm。轮对结构还应有利于车辆顺利通过曲线和安全通过道岔。
1)车轴
①车轴的种类。如图5.20和图5.21所示分别为拖车车轴和动车车轴的结构示意图,其主要区别是动车车轴配有齿轮箱与齿轮轮座。
②车轴各部分的名称。如图5.20所示的拖车由轴身、防尘板座、轴颈和轮座4部分组成,其中轴颈是安装滚动轴承和承载的部件,防尘板座是供安装防尘板的,轮座是车轴与车轮配合的部位,也是受力最大的部件,因此直径最大,与轮箍孔之间有一定的过盈量,轴身是两轮座的连接部分;如图5.21所示的动车车轴,前4部分和拖车车轴一样,只增加了安装齿轮的齿轮座。
③车轴材质和加工工艺。城轨车辆的车轴一般采用优质碳素钢加热锻压成型,现经过正火或正火后退火等热处理和机械加工后制成。为了实现轴承、车轮、传动齿轮等的安装,在车轴上相应位置设有轴承安装座,各安装座及轴身之间均以圆弧过度,以减少应力集中。

图5.20 拖车轮对及拖车车轴
1-轴身;2-防尘板座;3-轴颈;4-轮座

图5.21 动车轮对及动车车轴
1-轴身;2-防尘板座;3-轴颈;4-轮座右;5-齿轮座
④车轴的发展。车轴为转向架的簧下部分,降低簧下部分的质量对改善城轨车辆的运行品质和减少对轮轨动力作用有很大的影响。如采用空心车轴结构就可以减少轮对质量,从而降低车辆的簧下质量,一般空心车轴比实心车轴可减轻20%~40%的质量,因此,目前动车组和部分城轨车已经开始使用新型的空心车轴。
2)车轮
①车轮的分类。城轨车辆所使用的车轮按结构、形状、尺寸及材质分类有多种分类方法,现分述如下:
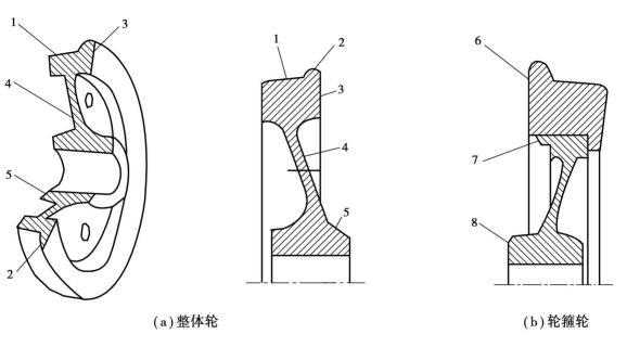
a.按其结构分为如图5.22(a)所示整体轮图和图5.22(b)所示的轮箍轮两种,整体车轮按其材质可分为辗钢轮和铸钢轮等。轮箍轮又可分为铸钢辐板轮心、辗钢辐板轮心以及铸钢辐条轮心的车轮。为降低噪声,减小簧下质量,还有橡胶弹性车轮、消声轮等。城轨车辆主要使用整体轮,也有部分城轨车辆使用新型减振车轮,比如,西安地铁2号线的车轮加装了阻尼减振块,以达到降噪的目的。
b.按踏面的形状可分为锥形踏面、磨耗型和高磨耗型。目前城轨车辆普遍采用磨耗型踏面形状。
c.弹性车轮,目前,地铁、轻轨车辆及高速列车车辆也有部分采用弹性车轮的,这种车轮在轮心轮毂与轮箍之间装有橡胶弹性元件,使车轮在空间三维方向上具有一定的弹性。弹性车轮减小簧下质量,减小了轮轨之间的作用力,缓和冲击,减小轮轨磨耗,降低噪声,改善车轮与车轴的运用条件,提高列车运行平稳性。
d.按车辆制造的工艺分为整体辗钢轮、铸钢轮和新型铸钢轮。

图5.22 车轮
1-踏面;2-轮缘;3-轮辋;4-辐板;5-轮毂;6-轮箍;7-扣环;8-轮心
②车轮的结构。目前,我国城市轨道交通车辆普遍采用整体辗钢轮。整体辗钢轮由踏面、轮缘、辐板和轮毂组成。由于车轮踏面有特定的形状,各处的直径不同,因此在测量车轮直径时规定离轮缘内侧70mm处测得的直径称为名义直径,作为车轮滚动圆的直径。我国铁路客车的车轮标准直径为915mm,铁路货车的直径为840mm,城轨车辆的轮径以840mm为主。
轨道交通车辆的车轮的轮径小,可降低车辆的重心,增大车体容积,减少车辆簧下质量,缩小转向架固定轴距,但同时也会使车辆运行的阻力增大,使轮轨接触应力增大,踏面磨耗加快。
轮对的日常检查十分重要,轮缘及踏面磨耗过限、踏面擦伤、轮毂弛缓和车轴裂纹是常见故障,为使城轨车辆安全运行,对新造车同轴的两轮直径之差规定不能超过1mm,同一动车转向架各轮径差不得超过2mm。
③车轮的制造工艺与材料的发展。新型铸钢轮的生产工艺是采用电弧炉炼钢、石墨铸钢、雨淋式浇铸工艺。采用电弧熔炼钢水,钢水纯度高。采用石墨铸型,使铸件表面光洁,尺寸精度高。由于石墨导热性能优良,铸件凝固速度快、晶粒细化,可提高材质的力学性能和车轮的内在质量。采用雨淋式浇铸工艺,冒口和浇口设在同一位置,浇铸时钢水由轮辋、辐板至轮毂顺序凝固,补缩用的钢水自冒口沿补缩通道不断补充,达到最佳的补缩效果。铸成后的车轮,进行缓冷处理,使铸件各部位均匀冷却,以消除内应力。随后进行热轮抛丸用以清除表面余砂及氧化铁皮再进行加热、淬火以及回火等热处理工艺,对辐板要求进行抛丸处理,提高车轮的使用寿命。由于采用了先进的生产工艺,新型铸钢轮具有尺寸精度高、安全性好、制造成本低等优点。与辗钢轮比较明显的区别在于:铸钢轮直接由钢水铸造成型,工序减少,节约劳动力,生产能耗低;采用石墨型浇铸工艺,提高了车轮尺寸精度,几何形状好,内部组织均匀,质量分布均匀,轮轨间动力作用相对小;新型铸钢轮的辐板为深盆形结构(流线型结构),较辗钢轮耐疲劳,抗热裂性能更优。
④车轮踏面的形状。车轮与钢轨的接触面称为踏面,如图5.23(a)所示。早期的车轮踏面是锥形的,车轮踏面由两段不同坡度的直线组成,标准锥形踏面有两个斜度,即1:20和1:10,前者位于轮缘内侧48~100mm范围内,是轮轨主要接触部分,后者为离内侧100mm以外部分,各组成面均以圆弧面平滑过渡。如图5.24所示是磨耗率与运行千米数的关系,实践证明,锥形踏面车轮的初始形状,运行中将被很快磨耗。当磨耗成一定形状后,车轮与钢轨的磨耗都变得缓慢,踏面形状将处于相对稳定。如果新造轮踏面制成类似磨耗后相对稳定的形状,即磨耗形踏面,如图5.23(b)所示。在相同的走行公里下,可明显地减少踏面的磨耗量,延长轮对的使用寿命,减少换轮、旋轮的工作量,其经济效益十分明显。磨耗形踏面可减小轮轨接触应力,提高车辆运行的横向稳定性和抗脱轨安全性。
车轮轮缘踏面采取磨耗形轮廓具有如下理由:
①便于通过曲线。车辆在曲线上运行时,由于离心力的作用,轮对偏向外轨,于是在外轨上滚动的车轮与钢轨接触的部分直径较大,而沿内轨滚动的车轮与钢轨接触部分直径较小。这样,造成在相同转角内,外轮行走的路程长而内轮行走的路程短,正好和曲线区间线路的外轨长、内轨短的情况相适应,使轮对较顺利地通过曲线,减少车轮在钢轨上的滑行。
②自动调中。车轮踏面做成一定磨耗形形状,使车轮踏面的中部有一定弧度,一般钢轨在铺设时也有指向线路中心的斜度,因此,钢轨对车轮作用力的方向是指向线路中心的。车辆在直线线路上运行,当轮对受到横向力的作用使车辆中心线与轨道中心不一致时,则轮对在滚动过程中能自动纠正偏离方向。
③能顺利通过道岔。线路上的道岔对车辆运行的平稳性和安全性影响极大,因此踏面的几何形状也应适应通过道岔的需求。由于尖轨前端顶面低于基本顶面,当轮对由道岔的尖轨过渡到基本轨时,为了防止碰撞基本轨,要求踏面具有一定的斜度。并把踏面的最外侧做成C5的倒角,以增大踏面的轨顶的间隔,保证车轮顺利通过道岔。

图5.23 车轮轮缘踏面外形

图5.24 磨耗率与运行千米数的关系
④使踏面磨耗比较均匀。由于车轮踏面具有一定斜度,当车轮在轨道上运行时,回转圆直径也在不停地变化,致使车轮在钢轨上的接触点也不停地变换位置,结果使踏面磨耗比较均匀。
⑤防止车轮脱轨。当车轮通过曲线时,常使轮缘紧靠外侧钢轨,如图5.25所示。此时如果车轮受到较大的横向力,则车轮可能从轮缘外侧面爬上钢轨而脱轨,但由于轮缘面有一定的斜度,尽管车轮有少量抬起,也会在车轮载荷的作用下顺着轮缘的斜坡滑至安全位置。这种情况不但在曲线上出现,在直线区段上轮对受较大的横向水平力时,也会出现。可见轮缘上斜度的大小,对车辆的运行安全有着十分重要的作用。

图5.25 顺利通过曲线
(2)轴承轴箱装置
轴箱装置是实现轮对与构架相互连接、相互运动的关键部件,起着承上启下的作用。它既是活动关节,也是连接轮对与构架的活动关节,又可传递牵引力、横向力和垂向力,还可实现轮对与构架间的垂向运动和横向运动。
1)轴承轴箱装置的组成、分类、作用
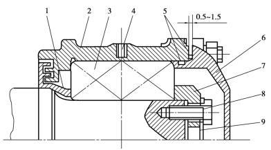
①轴箱装置的组成。轴承与轴箱的组合体称为轴承轴箱装置,如图5.26所示,城轨车辆的轴箱装置由轴箱和轮对轴承组成,轴箱由轴箱体、防尘挡板、轴箱盖以及轴端压板、防尘挡圈和密封等轴端附属装置等部件组成。

图5.26 装有ATP装置的城轨车辆的轴箱(西安地铁2号线)
②轴箱的分类。我国轨道交通车辆转向架曾使用过的轴承主要有滑动轴承和滚动轴承两种,它们的轴箱结构也有所不同,目前滑动轴承已基本淘汰,这是因为与滑动轴承相比较,滚动轴承可显著降低车辆的启动阻力和运行阻力,改善车辆走行部分的工作条件,减少燃轴(轴箱轴承烧损)的惯性事故,并大量地减少了轴承的维护和检修工作量,降低了运营成本。目前,城轨车辆普遍采用滚动轴承的轴箱装置。
城轨列车的轴箱根据所安装的设备不同而有所不同,有安装ATP测速电机的轴箱称为轴箱组成ATP,如图5.26所示为安装有ATP装置的轴箱;安装防滑测速装置的轴箱称为防滑轴箱组成,拖车的每根轴都安装有防滑装置。
③轴箱的作用。轴箱装置将轮对和构架联系在一起,使轮对沿钢轨的滚动转化为车体沿轨道的直线运动,并把车辆的质量以及各种载荷传递给轮对。具体作用可分述如下:
a.连接轮对与转向架构架,支撑人字弹簧的底部,支撑转向架构架。
b.承受和传递轮对与转向架之间的各种载荷,承受车体重力,传递牵引力、制动力。
c.给轴承内外圈定位,保持轴颈和轴承的正常位置,从而保证车轴正常安装位置。
d.使轮对沿钢轨的滚动转化为车体沿线路的平动。
e.轴箱采用滚柱轴承,在提高承载能力的同时,降低了轴箱摩擦系数,减少了车辆启动和运行阻力,以适应城轨车辆高速运行、启动频繁、行车密度大的要求。
f.保持轴承油脂润滑,保证轴承良好的润滑性能,并具有良好的密封性,防止尘土、雨水等物侵入或油脂甩出,从而防止油脂润滑作用被破坏,避免烧轴事故。
2)城轨车辆滚动轴承的形式
由于城轨车辆允许轴重较大,一般为10~25t,在运行中也要承受变化的动静载荷的作用,因此,要求轴承的承载能力高、强度高、耐冲击、寿命长。滚动轴承按滚动体形状分类主要有圆柱滚动轴承、圆锥滚动轴承、球面滚动轴承等多种形式,一般城市轨道交通车辆都采用了圆柱滚动轴承或圆锥滚动轴承。
根据轴承结构特点,又可分为整体式轴承和分体式轴承。进口轴箱轴承的主要品牌为SKF和FAG,在我国铁路上广泛使用的轴承的生产厂商有:大连瓦房店、北京南口、哈尔滨等。
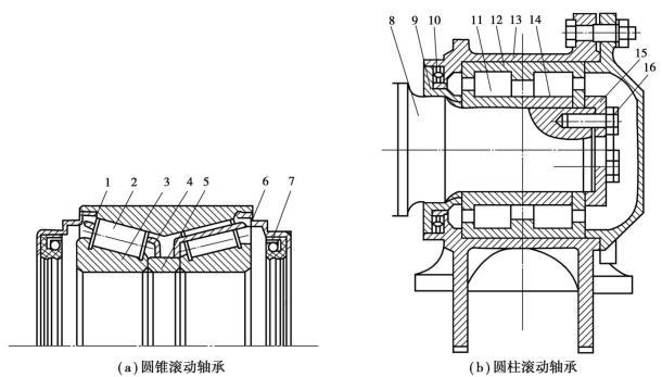
如图5.27(a)、(b)所示分别为我国深圳地铁所采用的双列圆锥滚动轴承和上海地铁、北京地铁和西安地铁2号车辆转向架所采用的圆柱滚动轴承轴箱装置,由图可知,轴承基本结构均是由外圈、内圈、滚子、保持架等4部分组成。
①圆柱滚动轴承。圆柱滚动轴承的滚子是圆柱形的,一般属于双列分体式轴承,采用聚合物保持架,采用迷宫环对润滑脂非接触式密封。轴承滚子既能承受径向力,又能承受轴向力。但圆柱滚动轴承的轴向力主要靠滚子端面和挡边承受,滚子端面与挡边之间的摩擦式滑动摩擦,摩擦力较大,容易导致轴温升高,降低润滑脂使用寿命,轴承使用寿命也会受到影响。
②圆锥滚动轴承。圆锥滚动轴承(TBU)目前运行比较广泛。TBU采用圆锥滚子,一般为整体式轴承,也采用聚合物保持架,其主要轴向载荷由滚道承受(20%~30%的载荷则由挡边承受)。一般采用传统的接触式橡胶密封,即卡紧式密封件,因而提高了润滑脂对污染的防护能力,延长了油脂寿命,并使轴承具有更好的性能和更长的寿命。
3)滚动轴承轴箱的密封形式
我国城轨车辆上采用的滚动轴承装置按密封形式的不同可分为橡胶油封式(见图5.28)和金属迷宫式密封式轴箱装置(见图5.29)。

图5.27 轴箱轴承
1,12-圈;2-滚子;3,14-内圈;4-保持架;5-中隔圈;7,10-密封; 8-车轴;9-防尘板座;11-滚柱;13-轴箱;15-内圈压板;16-轴箱盖
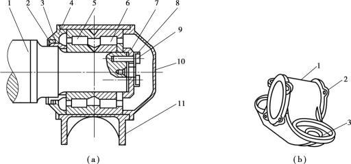
如图5.28(a)所示,橡胶密封式轴箱装置主要由轴箱体、轴承后盖、防尘挡圈、橡胶油封、轴承前盖和压板等组成。如图5.28(b)所示为轴箱体的结构示意图,它为铸钢筒形结构,两侧铸有弹簧托盘,用来安装轴箱弹簧等配件。

图5.28 橡胶油封式轴箱体
1-车轴,轴箱筒;2-防尘挡圈,轴箱耳;3-油封,弹簧托盘;4-后盖; 5,6-轴承蒙;7-压板;8-防松片;9-螺栓;10-后盖;11-轴箱体
如图5.29所示为金属迷宫式轴箱油封装置,由图可知,这种密封方式不带轴箱后盖,在轴箱体后端设有迷宫槽,迷宫槽的底部设有排水孔。

图5.29 金属迷宫式密封式轴箱装置
1-防尘挡圈;2-轴箱体;3-圆柱滚子轴承;4-轴温报警器安装孔; 5-密封圈;6-轴箱前盖;7-压板;8-压板螺栓;9-防松片
4)轴箱装置横向力传递顺序
假设相对于车体轮对向右偏移:
右端:车轴→防尘挡圈→轴承内圈→滚子→轴承外圈→轴箱→转向架→车体。
左端:车轴→螺栓→内圈压板→轴承内圈→滚子→轴承外圈→轴箱后盖→螺栓→轴箱→转向架→车体。
5)轴箱的定位方式
城市轨道交通车辆转向架轴箱定位方式主要有以下3种:
①转臂式定位。其结构如图5.30所示。定位转臂一端通过弹性节点与构架上的定位转臂座相连;另一端则用螺栓固定在轴箱体的承载座上。而弹性节点主要由弹性橡胶套、定位轴(锥形销套)和金属外套组成,其中弹性橡胶套的形状和参数对转向架走形性能影响较大。其优点是:轴箱与构架间无自由间隙和滑动部件,无摩擦损耗;构成的零件很少,分解、组装容易,且维修方便;轴箱的上下、左右及前后定位刚度可各自独立设定,比较容易满足转向架悬挂系统的最佳设计要求,即在确保良好乘坐舒适度的情况下,能够同时确保稳定的高速行驶性能和良好的曲线通过性能。
②八字形橡胶堆轴箱定位装置。如图5.31所示为上海地铁车辆(SMC)和广州地铁车辆采用的八字形(也称人字形)橡胶堆轴箱定位装置,该橡胶堆具有三向弹性特性,且可根据需要设计。通常kx:ky:kz=1:(2~2.5):(10~12),即垂向刚度kx最小(约为纯剪的一倍),纵向刚度kz最大,如图5.32所示。在垂向载荷作用下,橡胶同时受剪切和压缩变形,改变其安装角度,可得到不同的垂向和纵向刚度,此安装一般取10°或11°。该定位装置的优点是无摩擦磨损,质量轻、结构简单,吸收高频振动和减少噪声等,寿命可达150万走行千米以上。
③层叠圆锥橡胶轴箱定位装置。层叠圆锥橡胶具有三向轴向特性,且其横向弹性可通过在圆周上开切口来调整。在垂向载荷作用下,橡胶主要受剪切变形,其结构如图5.33所示。层叠圆锥橡胶轴箱定位装置具有无摩擦磨损、质量轻、结构简单,吸收高频振动和减少噪声等优点。

图5.30 转臂式轴箱定位结构示意图
1-定位转臂(包括弹簧座);2-轴箱;3-底部压板;4-垂向减振器;5-止挡管; 6-转臂凸台;7-弹簧套;8-螺旋弹簧;9-锥形套;10-柱形橡胶套;11-锥形销轴

图5.31 人(八)字形橡胶堆轴箱定位结构示意图
6)轴承游隙
轴承游隙包括径向游隙和轴向游隙两种。
①径向游隙。轴承径向游隙对轴承工作性能有着重要的影响,每一种轴承在一定的作用条件下,都有最佳的径向游隙,使轴承寿命高,摩擦阻力小,磨损小。

图5.32 人(八)字形橡胶堆(块)

图5.33 层叠圆锥橡胶轴箱定位装置结构示意图(北京市城轨车辆)
径向游隙分为原始游隙、配合游隙和工作游隙3种。原始游隙是未装配的轴承内外圈间的径向游隙,轴承装配后,内圈胀大,径向游隙减少,轴承工作后,随着温度升高,润滑油膜形成,径向游隙还需进一步减小。
游隙过小,会使轴承工作温度升高,不利于润滑,影响力的正常传递,甚至会使滚子卡死;游隙过大,是轴承压力面积减少,压强增大,使轴承寿命减少,振动与噪声增大。因此,选择合适的径向游隙是非常重要的。一般载荷大的轴承要求游隙较大,圆柱滚子轴承原始径向游隙一般范围为0.11~0.19mm。
②轴向游隙。轴向游隙的作用是避免滚子端部与内外圈挡边经常接触,所以轴向游隙也不宜过小,一般成对圆柱轴承轴向游隙为0.8~1.4mm。TBU轴承由于滚道承受轴向载荷,轴向间隙可以更小,其径向游隙和轴向游隙均可通过垫片调整到最佳状态。
7)滚动轴承润滑脂
一般采用锂基润滑脂,润滑脂性能好坏直接影响轴承性能和使用寿命。列车检修时要注意检查润滑脂状态,如有结块、明显融化、发臭等现象,应拆下轴承检查并更换润滑脂,通常润滑脂填充量为轴承内自由空间的30%~50%。润滑脂过少,轴承润滑不足,加剧轴承磨损,导致轴温升高;若填充过多,在高速情况下,特别容易引起轴承温度升高、油脂融化,并可能导致烧轴。
【任务实施】
本次任务实施建议在城轨车辆检修车间的轮轴检修班组进行。下面以西安地铁2号线地铁车辆为例进行本次任务的实施。
(1)认知西安地铁2号线地铁车辆车轴

图5.34 西安地铁2号线的车轴
如图5.34所示为西安地铁2号线所采用的车轴实物图,西安地铁2号地铁车辆的车轴采用优质碳素钢加热锻压成型,再经热处理(正火或正火后再回火)和机械加工制成。
各学员在教师的指导下认识车轴的各组成部分及作用,具体如下:
①轴颈。安装滚动轴承和承载的部件。
②防尘板座。供安装防尘板和限制轴承过分内移作用。
③轮座。是车轴与车轮配合的部位,也是受力最大的部件,所以直径最大。
④轴身。是两轮座的连接部分。⑤齿轮箱安装座(动车车轴)。
(2)认知西安地铁2号线地铁车辆车轮

图5.35 西安地铁2号线的车轮
如图5.35所示为西安地铁2号线地铁车辆所采用的车轮的实物图。西安地铁2号线车辆的轮对采用的是整体辗钢轮,采用LM磨耗型踏面,车轮的轮径为840mm,磨耗极限轮径为770mm,硬度为266~320Hb.
各学员在教师的指导下认识车轮的各组成部分及作用,包括踏面、轮缘、轮辋、辐板和轮毂组成。
(3)认知西安地铁2号线车辆轴箱定位装置的保养
西安地铁2号线车辆轴箱定位装置如图5.36所示。

图5.36 西安地铁2号线轴箱定位装置
(4)城轨车辆轮对组装的基本知识
1)轮对组装的一般要求
为保证轮对组装的质量和运行安全,轮对在压装时须符合下列要求:组装成轮对的两个车轮须是同型号、同材质的车轮;如车轮是经平衡试验的,则两车轮的不平衡度应在同一侧面、同一直径平面内。组装表面必须清洁,不应有任何损伤。压装过盈量的范围应为轮毂孔直径的0.8%~1.5%。禁止用压力法移动车轮在轴上的位置,以调整轮对内侧距离。同一轮对上,车轮内侧面三处轮对内侧距的差值不得超过1mm。在同一轮对上的轮位差不得超过3mm。同一轮对上,两个车轮直径差不得超过1mm。厂、段修后,标准轮对内侧距为(1353±3)mm。车轮的轮缘踏面应符合要求。
2)轮对组装
如图5.37所示为轮对组装的生产现场图,轮对的组装采用压力机压入法。轮毂孔与轮座的接触部分应选用纯净的植物油(禁用桐油)润滑。压力机必须备有正确矫正的压力计和记录压装压力曲线图的自动记录器。压装时轮轴中心与压力机活塞中心应一致并并行压入。压装速度应保持均匀,压装速度范围应为30~200mm/min。压装过盈量应符合规定要求,以保证轮毂与轮座间有足够的结合力,又不致使轮毂因过盈量过大而使轮毂产生过大的塑性变形。

图5.37 轮对压装时的受力图
3)轮对检验
每个轮对组装后应进行压力曲线检验和电阻检验,不符合技术要求时为不合格品。最高运行速度超过120km/h的客车轮对装车前应进行动平衡试验。

图5.38 轮对压装良好曲线(L0/L≥80%)
如图5.38所示是轮对压装的合格曲线,具体要求很多,主要是起点陡升不得超过10t,全部曲线不得有跳吨,曲线中部不准有降吨,平直线长度不得超过该曲线投影长度的10%,平直线的两端均应圆滑过渡。
轮对组装后若压力曲线不合格,在原轴原孔的表面无损伤的情况下,允许重装一次;如超过规定最大压力吨数时应加工,达到质量要求后,允许再压装一次;第一次组装小于规定的最小压力吨数或过盈量不足时,均不得重装。允许重装的轮对,第一次组装不合格的压力曲线图表与第二次组装合格的压力曲线图表应合并保存。
每个车轮的压力曲线图上应填写下列内容:轴型、轴号、组装单位代号、左右侧别、车轮制造标记、轮座直径及轮毂孔直径(或配合过盈量)、最终压入力、压装年月日,并由操作者、工长、检查员和验收员盖章。车轮压装压力曲线图表必须由各单位统一保存,保存期限为6年。

