本视频主要介绍塞拉门实训装置,用于了解各部件结构。
提醒:视频大小为147M,请在WIFI下观看,流量土豪略过本提醒。
实训中心城轨车辆塞拉门实训装置介绍课件(在线阅读仅能通过网页版访问,但可以下载)。
塞拉门的开关过程
城市轨道交通车辆的客室车门,按驱动系统的动力源可分为电动式车门和气动式车门两种。电动式车门的动力来源是直流或交流电机,气动式车门的动力来源是驱动汽缸。
电控气动门是由压缩空气驱动传动汽缸,再通过机械传动系统和电气控制系统完成车门的开关动作。机械传动系统的作用是将传动汽缸活塞杆的运动传递至车门,使车门动作。电气控制系统包括气动门控制、再开门控制、车门动作监视和列车控制电路联锁等内容。其作用是为了保证车门动作可靠和行车安全。车门的电气控制系统一般采用电子控制技术,可根据乘客和司机的不同要求编制程序,修改操作过程,自动监控装置具有全方位监控车门系统、自动故障报警和记录等功能。为了防止车门夹伤乘客,现代自动车门还具有防夹功能。根据欧洲标准规定,在关门时最大挤夹力小于200N,在开门时最大挤夹力应小于250N。
电控电动门是由电动机、传动装置(轴、磁性离合器、皮带轮和齿形皮带)、控制器、闭锁装置和紧急开门装置组成。齿形皮带与两个门翼相固定,闭锁和解锁所需的扭矩由电动机提供。另一种电气驱动装置为电动机通过一根左右同步的螺杆和球面支撑螺母驱动滚珠摆动导向件和与其固定的门翼。
(1)客室电控气动门的认知
1)客室车门结构
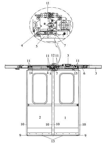
以广州地铁1号线车辆客室车门为例,车门系统主要由电气控制系统、空气驱动系统、机械传动系统、门机械锁闭机构、门页、导轨、紧急解锁机构、门状态检测及信号指示等组成。其结构如图4.10所示。
2)客室车门的空气驱动系统及工作原理
广州地铁1号线客室车门为电控气动门,车门的控制是通过电控制压缩空气,再由压缩空气驱动车门的驱动风缸,通过机械传动系统完成车门的开、关动作。每个车门的气动控制原理如图4.11所示。
①组成部件。
A.中央控制阀。中央控制阀装置(见图4.12)是控制车门动作的重要部件,其上集成安装了MV1,MV2,MV3这3个电磁阀及车门开关门速度、开关门缓冲节流阀和快速排气阀等部件,它位于车门传动装置上。
a.“关门”电磁阀MV2:在“关门”电磁阀的通常状态下(即失电),车门驱动风缸排气。
b.“开门”电磁阀MV1:在“开门”电磁阀的通常状态下(即失电),车门驱动风缸及解锁风缸都处于排气状态(通向大气)。
c.“门解锁”电磁阀MV3:解锁电磁阀得电时,解锁风缸与气路相连接,当有空气进入,锁钩就会被顶开。当该电磁阀处于通常状态下(即失电),解锁风缸排气,活塞缩回,锁钩在扭簧作用下复位。
d.节流阀:在中央控制阀中共有4个节流阀,其功能分别为开门速度、关门速度、开门缓冲、关门缓冲调节节流阀。向“﹢”方向旋转,表示供气量增大;反之,表示供气量减小。
e.快速排气阀:在中央控制阀中共有两个快速排气阀,驱动风缸两端是通过快速排气阀排向大气的。它的排气口是常开的,当驱动风缸通过它充气时,其阀芯将排气口关闭。

图4.10 广州地铁1号线车辆客室车门结构
1-右门页;2-左门页;3-导轨;4-锁钩/紧急手柄;5-左门驱动连杆;6-驱动风机; 7-解锁风缸;8-中央控制阀;9-导向衬块;10-橡胶密封条;11-防跳轮/支撑滚轮;
12-锁闭行程开关S1;13-密封毛刷;14-钢丝绳;15-关闭行程开关S2

图4.11 车门的气动控制原理图

图4.12 中央控制阀
1-关门电磁阀MV2;2-解锁电磁阀MV3;3-开门电磁阀MV1;4-排气孔消音片;
5-关门速度节流阀;6-开门缓冲节流阀;7-关门缓冲节流阀;8-开门速度节流阀;9-气路连接头
B.驱动风缸。每个车门都设有一个单向作用的驱动风缸,用于实现门页的开、关动作。该风缸在一个行程末端有缓冲作用。驱动风缸活塞杆用活塞杆托架连接在左门页上。开门行程受安装在导轨上的止挡限制。风缸和中央控制阀之间用尼龙管连接。
C.解钩汽缸。它是执行门锁解钩动作的。
D.车门行程开关。
a.锁闭行程开关S1.该行程开关用于检测车门是否正确锁闭。其组成结构如图4.13所示。S1位于车门控制机构的中央,从车内观察,该开关位于紧急开门手柄的后面,通过锁钩上的凸轮操纵。当车门锁钩被顶开时,凸轮旋转使S1动作。
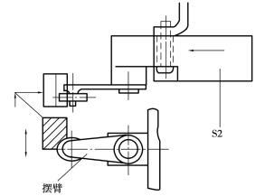
b.车门关闭行程开关S2.该行程开关主要用于检测车门门页是否关闭到位,通过安装在右门页上的碰块触发该行程开关的动作。其组成结构如图4.14所示。

图4.13 锁闭行程开关

图4.14 车门关闭行程开关
c.门切除行程开关S3.该行程开关用于检测车门是否切除。当单个车门发生电路检测故障时(通常是S1,S2接触不良造成的),可通过方孔钥匙切除该车门,S3行程开关的触点接通将旁路该门的S1,S2行程开关。其组成结构如图4.15所示。
d.门解锁行程开关S4.该行程开关安装在车门控制机构中央的紧急开门手柄上方,由紧急开门手柄上的凸轮操纵。其组成结构如图4.16所示。紧急情况下拉下紧急解锁手柄后,S4的触点断开,使中央控制阀的MV2电磁阀失电,驱动风缸左腔的压力空气排往大气,这时可通过双手把门页打开。

图4.15 门切除行程开关

图4.16 门解锁行程开关
②工作原理。
以图4.11所示的气动控制原理图为例,假设压缩空气从P口进入,下面分别介绍车门的开、关动作过程:
A.开门:MV1,MV3得电,而MV2失电。气路的动作过程如下:
进气:
压缩空气→MV1(得电)→MV3(得电)→节流阀→解钩汽缸→顶开锁钩
开门节流阀→门控汽缸进气口A1→活塞杆外伸
排气:
活塞左移→门控汽缸排气A2→开门缓冲节流阀→快速排气阀→大气
当活塞的左端头进入汽缸左端的小直径处则A2出口被封堵,大汽缸内的气体只能从A2一个出气口并经过开门缓冲节流阀到快速排气阀最终排至大气。由于A2出口被堵,使得整个排气速度大大降低,从而使开门的速度有了一个极大的缓冲。
B.关门:MV2得电,而MV1,MV3失电。气路的动作过程如下:
MV3(失电)→解钩汽缸排气活塞缩回→锁钩落锁复位
进气:
压缩空气→MV2(得电)→关门速度控制节流阀→门控汽缸进气口A2→活塞杆缩回
排气:
活塞杆右移→门控汽缸排气A1→关门缓冲节流阀→快速排气阀→大气
关门缓冲的原理与开门缓冲的原理相同。由于活塞杆的端头与左门门页及钢丝绳的一端相连接,而右门页与成环形绕接的下层钢丝绳相连接,故左、右门页在活塞杆运动时能同步反向移动。而运动的速度则是先快后慢,最后使门页完全关闭或打开。
3)客室车门的电气控制
广州地铁1号线车辆的车门为电控气动门,其控制电路为110V有节点电路。车门作为关系行车安全的重要部件,采取必要的保护措施确保当车门没有关闭到位时,列车无法启动。
车门既可在ATO模式下自动打开也可由司机进行手动开关。从安全角度考虑,有以下两种不同的门控信号:
●门开使能。
●“开门”指令和“重开门”指令。
在通常操作中,车门打开可由ATP系统来控制。门的电气控制命令操纵一个单向作用的汽缸使锁钩打开。这些操作都是在开门过程中通过中央控制阀来进行控制的。
只有当列车静止且在站台正确的位置时,ATP系统才能给出门使能信号。在URM模式下操作,可通过司机室的按钮来实现开门使能。在这种情况下,车门使能与牵引控制单元的0km/h信号互锁。用乘务员钥匙也可单独打开某扇门。
门只有在司机操纵台启动下才能打开。当列车控制只连接ATP系统时,中央开门及关门是不可能的。
①车门控制的主要电路。
A.开关门控制电路。当满足司机台激活、列车速度为“0”、ATP系统给出门使能信号后,按下“开门”按钮,经过整列车、单节车、单个门的相关继电器使单个门的中央控制阀控制车门打开。开车前,按下“关门”按钮,时间继电器延时结束后,中央控制阀控制(详见车门气动控制部分)使车门关闭。
B.车门的监测电路。由于车门状态关系乘客及运行安全,为确保列车运行过程中车门正确锁闭。只要检测到有一个车门没有正确锁闭,列车将无法启动;而在运行过程中,如果有乘客将紧急解锁手柄拉下,列车将触发紧急制动并停车。
C.重开门。当单个或多个车门没有完全关好时,可以按下“重开门”按钮重新把门打开并关闭(司机操纵台:8S06是重开右侧门;副司机操纵台:8S05是重开左侧门)。若按钮一直按下,车门将一直打开直至松开按钮。已锁闭的车门将不会被打开。
D.自动折返。如果司机操纵台在自动折返线时已锁,在ATP系统控制启动之前,开门命令一直保持有效。如果指令输出“列车控制已开”从列车前端转到尾端,则开门指令被尾端司机室控制取代。打开司机操纵台后,门就可从该操纵台打开。
E.用乘务员钥匙开门。每节车的19/17门和20/18门可局部打开。主要依赖于列车是否启动(蓄电池连接上)及压缩空气是否可以利用。开门指令是由门上的乘务员可旋转钥匙开关(车内及车外)两个中的一个给出。开门命令存储下来,门会一直开着,直到发生以下情况:①门上的一个旋转钥匙开关给出局部关门命令;②列车该侧给出“开门/关门”指令;列车该侧给出了“重开门”命令。
用乘务员钥匙进行局部开门不依赖ATP系统的释放(或在URM操作模式下速度为0km/h),即使列车在驾驶时也可进行局部开门。当门被切除时,不可用乘务员钥匙来开门。
②参与门控的继电器。
A.整列车控制所使用的继电器。
a.8K01,8K02:左右侧门的门使能继电器。
b.8K03,8K04:开门继电器。
c.8K05,8K06:延时断开继电器。
d.8K07,8K08:门未锁继电器。
e.8K09,8K10:整列车所有门关好继电器。
f.8K41:关门报警启动继电器。
g.8K42:关门报警电闪继电器。
h.8K43:关门报警继电器。
i.8K47:左边门开继电器。
j.8K48:右边门开继电器。
k.8K49:门关好监测继电器。
B.单节车继电器。
a.8K21,8K22:解锁继电器。
b.8K23,8K24:开门继电器。
c.8K25,8K26:重开门继电器。
d.8K27,8K28:关门监测继电器。
e.8K29:17/19门乘务员钥匙开门继电器。
f.8K30:18/20门乘务员钥匙开门继电器。
g.8K45,8K46:关门报警继电器。
C.每个门的控制继电器。
a.8K31,8K33,8K35,8K37,8K39:左边门门未切除继电器。
b.8K11,8K13,8K15,8K17,8K19:左边门开、关门继电器。
c.8K32,8K34,8K36,8K38,8K40:右边门门未切除继电器。
d.8K12,8K14,8K16,8K18,8K20:右边门开、关门继电器。
除此以外,每个车门均安装有S1,S2,S3,S4这4个行程开关以检测车门的状态。
③车门状态显示。
A.车门状态。列车每个车门(包括紧急逃生门)的车门状态以司机室运行屏中的彩色符号显示,圆圈的颜色代表车门状态。
a.灰蓝色的符号:车门关闭状态。
b.黄色符号:车门打开状态。
c.黑色符号:紧急打开。
d.红色闪烁符号:故障。
e.一直红色符号:手动解锁。
B.车门状态显示:
a.位于司机室左侧墙上的及操纵台上的“左开门”指示灯亮:满足车载ATP系统允许的条件或操作4S04(非正常情况)或列车停车后(URM模式),且已给出左门开解锁信号,列车左侧门允许打开;“左门关”指示灯亮:列车左边所有车门已经关好且该端司机台已经激活。
b.位于司机室右侧墙上的及操纵台上的“右开门”指示灯亮:满足车载ATP系统允许的条件或操作4S04(非正常情况)或列车停车后(URM模式),且已给出右门开解锁信号,列车右侧门允许打开;“右门关”指示灯亮:列车右边所有车门已经关好且该端司机台已经激活。
c.位于司机室右侧墙上紧急疏散门指示灯亮:至少有一端的疏散门已经解锁或检测出电路故障。
d.每个客室车门上方的内外侧均有一个橙色指示灯:车门未锁时亮;内侧均有一个红色指示灯:车门切除时亮。
e.位于每节车后端左、右外侧墙上的橙色指示灯:每节车每侧有一个以上车门未锁时亮。
f.位于司机操纵台上的“TFT”彩色显示屏:显示车门被紧急解锁的位置及车载ATP系统对车门的控制状态。
④控制车门开关按钮的作用及使用。
a.左门开按钮:用于指示列车左边门是否有开门信号和开启列车的左边门,有门开使能信号时,按8S01按钮。
b.左门关按钮:用于指示列车左边门是否“关好”和关闭列车的左边门,按8S03按钮。
c.右门开按钮:用于指示列车右边门是否有开门信号和开启列车的右边门,有门开使能信号时,按8S02按钮。
d.右门关按钮:用于指示列车右边门是否“关好”和关闭列车的右边门,按8S04按钮。
e.左门重开按钮:用于重新开启列车左边未完全关闭的客室门,列车左边有开门使能信号和左边门至少有一个门未关好。
f.右门重开按钮:用于重新开启列车右边未完全关闭的客室门,列车右边有开门使能信号和右边门至少有一个门未关好。
g.强行开门按钮:在ATP系统保护下,无开门使能信号时(开门指示灯不亮),司机按压一次“强行开门”给出开门使能信号。按压两次“强行开门”按钮时,可起旁路车门的作用(车门检测故障时才能使用)。
⑤TMS列车管理系统的开门连锁功能。
a.只有列车静止时,开关门指令才有效。
b.当列车上任一与外界联系的车门处于开启或非正常关闭的状态时,列车将不能启动,列车车门没有全部关好,列车则无法启动。
c.当列车速度大于5km/h时,列车上任何与外界联系的车门都不允许正常打开,一旦被强行打开(如启动紧急开门按钮),列车将紧急制动。
d.当列车牵引时,如果车门被强行打开,列车将在ATP系统保护下,停止行驶中的车辆;在没有ATP系统的保护下,VTCU仅使车辆由牵引转至惰行。
e.VTCU接受司机发出/ATP,发出/ATO,发出的开关门指令,并考虑联锁条件后,发送到EDCU(其中,EDCU为车门电子控制单元;VTCU为车辆列车控制单元)。
⑥开、关门控制原理。
以广州地铁1号线车辆某一车门(如A车1/3门)开门、关门控制为例,其控制原理如图4.17所示。
当开门指令发出后,中间继电器8K11得电,控制电磁阀MV1,MV3得电使车门得以打开;当关门指令发出后,中间继电器8K21触点断开,8K11失电,控制电磁阀MV1,MV2使车门关闭。为了行车安全,车门监控回路的8K09,8K10继电器,S1,S2,S3行程开关还直接或间接地影响车辆的牵引、制动及紧急制动状态,起到安全监控和保护作用。

图4.17 车门、开关控制原理流程图
(2)电控电动客室车门
广州地铁3号线客室车门是电动双页塞拉门。在客室车厢的每一侧有4个车门。每个车门配有两个电动塞拉门页。由于塞拉门与车体在同一平面内,能保持列车较好的流线型,所以具有密封性好,空气阻力小等特点。但塞拉门的结构复杂,且造价较高。车门的布置如图4.18所示。
1)客室车门结构
广州地铁3号线客室塞拉门主要由车门电控单元EDCU、车门驱动单元、门页、紧急解锁装置、切除装置、支撑杆、托架组件、车门导轨、车门门槛及嵌块等组成,如图4.19所示。

图4.18 车门布置示意图

图4.19 广州地铁3号线车辆客室塞拉门结构
1-车门驱动单元;2-门页;3-紧急上车装置(EAD设在外部,仅7,8号有);4-滚子摇臂; 5-下部导轨;6-止动销;7-手指保护橡胶;8-车门隔离装置;9-下部导轨; 10-紧急下车装置(EED);11-电缆;12-支撑滚子;13-玻璃
①内紧急解锁装置EEd.每个客室门在车内门柱盖板的右侧均配有紧急解锁装置,用于紧急情况下,开启客室车门,其结构如图4.20所示。紧急下车装置时一个带有锁定点的扭转手柄,可手动操作。要操作此扭转手柄,必须首先手动取下透明塑料盖,然后将扭转手柄转动至其锁定点(垂直位置)。在紧急情况下,使用扭转手柄启动相应紧急出口装置后,车门会被解锁。只有列车完全停稳后,车门即可被手动推开。
②外紧急解锁装置EAd.每节车厢在外部配有两个紧急解锁装置,分别位于车厢的左右两侧,以便在紧急情况下可以使用方孔钥匙从车厢外部开启后边的两个客室车门(7和8号),进入列车内部。

图4.20 紧急解锁装置
1-扭转手柄;2-透明盖板
③其他装置。每个客室门上均安装有一套手动紧急解锁系统。此外,每个客室门还包含一个用方孔钥匙操作的手动隔离装置,用来将相应的客室门锁定在关闭位置,并将其EDCU与车厢电源断开。
在车门的盖板和门页上分别设置有锁闭行程开关S1、紧急解锁开关S2、EDCU电源复位开关S3和切除开关S4.
④广州地铁3号线车辆客室车门系统的特点。
a.采用自润滑的丝杠、螺母传动方式,具有阻力小、无噪声和维护工作简单的特点。
b.每个车门均采用独立的EDCU门控单元控制,减少了使用中间继电器引起的故障。
c.每节车1,2号门采用MDCU(车门主控制单元)进行控制,MDCU通过MVB总线与VCU(列车控制单元)进行通信,并通过RS485接口与3,4,5,6,7,8号门的LDCU(车门本地控制单元)进行通信和储存故障信息。
d.具有障碍物探测功能,在行车时可防止发生夹人、夹物现象。
2)塞拉门工作原理
塞拉门借助于车门上端的传动机构和导轨,车门开启状态时门页贴靠在侧墙的外侧,车门处于关闭状态时,门页外表面与车体外墙成一平面。车门机构工作示意图如图4.21所示。

图4.21 车门结构示意图
①车门开、关过程。
a.开门:当车门EDCU(车门控制单元)接收到开门信号时,EDCU会输出电信号驱动电机往开门方向工作,电机通过皮带把转动力矩传送给丝杠(一半为左旋,另一半为右旋),丝杠运动将会带动与之啮合的螺母运动,螺母通过携门架与门页连接,从而带动门页同步运动。当车门打开到最大开度时,EDCU将会输出车门制动信号给制动单元,制动单元将会对车门丝杠进行制动,使丝杠停止转动。
b.关门:当车门EDCU接收到关门信号时,输出电信号驱动电机往关门方向工作,电机通过皮带把转动力矩传送给丝杠,丝杠运动将会带动与之啮合的螺母运动,螺母通过携门架与门页连接,从而带动门页同步运动。当车门关好并触动锁闭行程开关S1时,EDCU接收到车门已关闭信号后,EDCU将会输出车门制动信号给制动单元,制动单元将会对车门丝杠进行制动,使丝杠不能运动。同时关门止挡进入了嵌块的导槽里,以防止门页在纵向和横向上的运动,平衡压轮也会把门页压紧在加强点上,以保证门页在运行过程中不会因负压太大而产生抖动。
②车门控制原理。电子门控单元EDCU是车辆电源和车门机械操纵机构之间的接口,其控制原理如图4.22所示。车门具有零速保护和安全联锁电路,开关门具有报警装置。

图4.22 车门控制原理框图
广州地铁3号线车门控制单元有两种:一种是MDCU(车门主控制器);另一种是LDCU(车门本地控制器),如图4.23所示。
每个客室门均由一个独立的EDCU控制。客室门1和2的EDCU配有主控卡。通过多功能车辆纵向(MVB)实现与其他车厢的信息交换。其中一个带有主控卡的EDCU(MDCU)用来执行与VCU的通信任务。另一个MDCU则作为主控冗余,在前一个MDCU出现故障的情况下接管主控功能。其他客室门(3~8)则由不带主控卡的本地控制单元(LDCU)控制,可通过一个RS485接口与MDCU进行单独通信。
EDCU包括内部电源、微控制器和程序存储器。微控制器驱动车门电机并控制电机转矩以及电机电流和速度。EDCU提供每种车门组件(如电机、制动单元、车门锁闭限位开关S1、车门停用限位开关S4、紧急装置限位开关S2)所需要的所有电源。
EDCU的输入和输出信号由软件控制,并可通过更新软件来实现车门功能的更改。
③开、关门的电气控制。车门的开、关是通过安装在司机室内的开、关门按钮来实现的,司机室内每侧设一套开、关门按钮,共有4个按钮:强行开门按钮、开门按钮、关门按钮和重开门按钮。其中强行开门信号、开门信号和关门信号都分别能通过硬件和软件传送至各车门控制单元,只有重开门功能是通过软件实现的,通过按压“重开门”按钮把重开门信号传送至VCU(列车控制单元),再由VCU向各EDCU触发该功能。当司机用主控钥匙启动司机台时,开关门按钮得电,可操作车门开关动作。当所有车门被关闭和锁闭时,关门按钮灯亮。如果有任何一个车门保持在打开状态,所有车门按钮灯都不会亮。

图4.23 车门控制单元
3号线车门存在两种操作模式:一种是自动模式;另一种是手动模式。在ATO模式下,当车门处于手动模式时,列车到站后可实现自动开门,但必须手动关门;如果车门在自动模式下,列车到站后可实现自动开、关门控制。
车门既可在ATO模式下自动打开,也可由司机进行手动开关。实现开门需要具备以下3个条件才能实现开门。a.开门使能;b.开门指令;c.零速信号。
当司机按下关门按钮,关门吸纳后通过列车线向每个车门发出。每个车门的车门控制单元收到关门信号后将控制电机驱动丝杠从而使门页关闭并锁好。
④车门状态显示。
a.当列车所有车门均已关闭,司机操纵台上所有车门关闭绿色指示灯将会点亮。
b.车门状态红色指示灯功能:如果相应客室门被停用(切除),则红灯稳定点亮。
c.车门模式橙色指示灯功能:如果车门开启,则稳定点亮;从发出关门命令到客室门关闭期间以1Hz的频率闪烁,同时蜂鸣器报警,直至客室车门完全关闭为止。
车门状态显示在司机室内的司机显示屏上。如果某个客室门故障或已被隔离,则相关信息会被保存在相应的EDCU中。同时,该信息也会被传输至VCU并呈现在司机显示屏上。
⑤障碍物检测。3号线车门是通过检测电机电流和车门的移动位置来实现防夹功能的。在车门的关闭过程中,可能有障碍物阻碍其完全关闭并锁定。在这种情况下,车门会启动自动防夹功能,并进行三次连续的关门尝试。如果车门在关闭过程中遇到障碍物且在连续三次尝试关门之后仍然不能关闭,车门将会完全打开,并保持此状态指导再次收到关门指令。车门的状态和位置在司机显示屏上显示车门开启且故障。
此时,应检查车门工作不正常的原因,并清除障碍物,然后按“关门”按钮。如果无效,则应手动关闭车门,且将该车门切除。
(3)操作车门的主要设施
操作车门的主要设施如下:
①司机室左侧墙上有左开门、左关门、重开门3个按钮。
②司机室右侧墙上有右开门、右关门、重开门3个按钮。
③位于司机操作台的“强行开门”开关、“开门”开关。
④位于司机操作台上的车门开门操作选择开关,有“自动”和“手动”挡。
⑤车载ATP列车自动保护系统。具有停车保护、速度监督和超速防护、列车间隔控制、测速与测距、车门监督控制、紧急停车、给发车信号和列车倒退控制。
⑥车载ATO自动驾驶系统。具有停车点目标控制、打开车门。从车站发车、列车加速、区间临时停车、限速区间、手动驾驶与ATO随时转换和记录运行信息。
⑦RM-受限制人工驾驶模式。列车运行由司机驾驶,列车的运行速度不能大于25km/h.如果列车的速度超过极限速度,则列车产生紧急制动而停车。
⑧SM-ATP监督下的人工驾驶模式。列车运行由司机驾驶,列车的运行速度受ATP监督,如果列车的极限速度超过了ATP允许的速度,则列车会产生紧急制动而停车。
⑨URM-非限制人工驾驶模式。用ATP钥匙开关后才起作用,使用时必须经过批准和登记。列车运行由司机控制,无限制速度监督。
(4)车门状态显示
车门状态指的是列车每个车门的车门状态以司机室运行屏的彩色符号显示。用如下符号进行表示:
①灰蓝色符号:车门关闭状态。
②黄色符号:车门打开状态。
③黑色符号:紧急打开。
④红色闪烁符号:故障。
⑤一直红色符号:手动解闭。
【任务实施】
以BODE公司生产的车门为例进行客室门的控制分析。
(1)“零速”列车线
只有当“零速”出现,即列车的运行速度小于1.8km/h或3km/h时,“开门”列车线才能激活。在这种情况下,安全继电器直接由“零速”激活,才允许开门。如果“零速”列车线一旦失电,即列车运行速度大于1.8km/h或3km/h时,开启的车门将会自动关闭。
(2)开门/关门
客室车门的开关是由车门控制单元根据列车控制(开门列车线、关门列车线、零速列车线)电平信号和车门驱动机构上的元件(限位开关、车门位置传感器)电平信号来控制的。客室车门的开关电平信号见表4.4.
表4.4 客室车门的电平信号

1)开门
通过激活“车门”列车线来执行车门。如果在开门过程中,“开门”列车线断电,车门仍将开启到最大开启位。另外,还可通过按下EDCU上的维护按钮来执行开门。
2)关门
通过激活“关门”列车线来执行关门。“关门”列车线激活3s后,车门开始关闭。如果在关门过程中,“关门”列车线断电,车门仍将关闭到最终关闭位。如果在关门过程中,“关门”列车线断电,同时,“开门”列车线断电,车门关闭程序停止,1s后车门重新开启到最大开启位。
3)警告灯/蜂鸣器
在每扇客室车门的上方车体内外部各装有一个警告灯,开关门时警告灯将会亮并闪烁。当车门被切除时或遇障碍物六次激活后,警告灯将常亮。
同时在开关门时光电感式的蜂鸣器将会发出蜂鸣声音,并持续3s,以警告乘客车门将要打开或关闭。
4)障碍物探测
①关门防夹。车门在关闭的过程中,如果遇到障碍物,车门的防夹功能将会被激活,将施加一定的关门力(<300N),持续时间为0.5s。然后车门驱动电机将会被处于解锁状态(在电机上短路)2s,以便可以手动移动车门并移开障碍物。
这样的循环能进行3次,如果防夹功能在第三次关闭的过程中仍被激活,此时列车车门将反向运动,打开并停留在开启位。车内外的两个指示灯将亮,以引起驾驶员的注意。驾驶员可再次启动关门指令来关闭车门。
②开启门时障碍物探测。开门时障碍物探测也能被激活3次。在开门方向上检测到障碍物时EDCU将中断开门程序,中断时间为2s。在进行第六次尝试开门被激活后,车门将停留在这个位置上,同时车门控制单元(EDCU)认为这个位置就是车门可达到的最大开门位,然后只有通过关门指令将会关闭后再开启。
5)车门切除
一旦运营中有车门关闭故障时,驾驶员可通过用方孔钥匙将故障车门切除。转动方孔钥匙时必须将车门拉到关闭并锁紧位。转动方孔钥匙时会激活车门切除限位开关并机械锁紧这扇车门。车门切除限位开关S2的触点将向车门控制单元发送该扇车门被切除的信号。这时车门控制单元将切除这扇门所有的功能,同时警示灯常亮。
6)主隔离开关
在驱动机构上安装有一个主隔离开关。可通过该主隔离开关切断车门的供电电源,以便对车门做维护检修工作。
7)紧急解锁
①在速度低于1.8km/h或3km/h时操作紧急解锁装置将导致:
A.传给门控单元的信号将使门控单元切断其所有的门控功能。
B.通过弓形钢缆手动解锁锁钩,使车门处于解锁位。
C.触发门驱动件上制动装置处的限位开关。
D.将中断车门关闭和锁闭环路。
E.门控单元发出信号。
F.门可以通过手动在开门和关门方向上移动。
②当速度大于1.8km/h时操作紧急解锁装置将导致:
A.产生一个持续1s的8A的脉冲发给电动机(完全关闭),在这个短暂的脉冲之后,将会给电动机施加连续的大约为电动机正常工作电流的50%(1.5A)电流以使车门保持在关闭位。而且这个连续电流施加的时间不限。
B.“紧急解锁”限位开关上的常闭触点断开,这时“门关闭和锁闭回路”中断。
C.如果乘客企图打开门,“门关闭并锁闭”限位开关将监控到车门正在被打开,这将引起:
a.持续时间为1s的8A的脉冲电流,以较大的关闭力关门。
b.脉冲电流过后,将以150%(4.5A)的电流关紧车门,持续时间为3s。
c.持续3s后,再次产生持续时间为1s的8A脉冲电流。
d.脉冲电流过后,将以150%(150A)的电流关紧车门,持续时间为5s。
e.持续5s,再次持续时间为1s的脉冲电流。
f.脉冲电流过后,将以150%(150A)的电流关紧车门,持续时间为5s。
g.一直如此循环下去……在这一期间,加在车门门板上的推力降大于300N。
h.60s后,由于发电机发热的原因,以上所说的过程又将开始,但是两脉冲电流之间的电流将降为电动机电流的100%(3A)。
i.180s后,这个功能将下降到50%的持续电流,且无脉冲。
当乘客停止开门,门会自动回到关紧位。
③当速度大于5km/h时操作紧急解锁装置还将导致列车产生紧急制动。
(3)与其他专业的接口
每扇门上均装有1个车门控制单元,所有的EDCU连接到RS485车辆母线上,并通过RS485车辆母线与列车综合管理系统(TIMS)进行通信。TIMS发送请求指令并询问EDCU, EDCU通过应答请求来进行相应,上传不同的门状态和诊断信号(见图4.24)。
EDCU根据列车控制系统的电平信号和车门驱动机构上的元件(限位开关、车门位置传感器)的电平信号来控制门的开关。
使用笔记本电脑,通过EDCU上的RS485服务接口可以安装软件和更新软件。

图4.24 ATI显示车门状态
(4)车门常见故障的处理
车门常见的故障主要包括机械故障和电气故障。
1)机械故障及处理
①机械尺寸变化引起的故障。在客流量大且集中时,由于车体挠度等因素影响,造成车门相关部件与车体等部位干涉,从而引起车门故障。
出现此故障时应检查车门尺寸调整是否在规定的范围内,如V型尺寸、车门对中尺寸等;同时还应检查车门的各部件是否存在相互干涉的情况。
②零部件损坏。零部件损坏可通过更换新件解决,如果同一类零部件损坏率较大,则应当检查是否存在系统设计问题或调整方面的失误。
2)电气故障及处理
①关门位置检测开关故障。故障现象为车门打开按下关门按钮后,单个车门无法关闭,车辆显示屏显示该车门故障。该故障的主要原因是关门行程开关DCS在车门打开过程中出现故障及误动作,在关门过程中,EDCU收不到“门关好”信息,EDCU将向列车诊断发出“车门故障”信息。
解决办法:
检查该行程开关是否存在故障,若有故障,将其更换;检查该行程开关额安装是否过紧,并检查其调整是否满足要求,不符合要求则重新调整。
②EDCU电子门控单元故障。可能出现的问题包括电子门控单元EDCU硬件故障、突然死机等。
解决办法:
检查EDCU中软件版本是否为新版本,若不是,则更新软件后重新开关门试验,检查是否正常;检查EDCU的接线端子等是否异常,若不异常,则重新安装接线端子;若为EDCU本身故障,则更换该EDCU单元。
③车门电机故障。可能出现的现象有车门不动作、车门动作一段距离后停止运动等。
解决办法:
检查车门电机各接线是否有松动或断裂的情况;若松动,则重新紧固或更换断裂部件;检查车门电动机的连接件包括电动机皮带、联轴器等是否出现异常;若皮带出现断裂则更换;以上故障都排除后仍然不能解决该故障时,则可能是车门电动机本身的故障,可考虑更换车门电机。

