1.任务2.3 电动放风阀的结构与工作原理
2.课程思政
任务2.3 电动放风阀的结构与工作原理
DK-1型电空制动机采用ZDF型电动放风阀(原理图中代号94)。 用来接受紧急电空阀94YV得电或失电的控制,经其动作后,连通或关断制动管向大气的放风气路,从而控制紧急制动的实施,实现全列车的紧急制动。
一、电动放风阀构造与气路通路
1.电动放风阀构造
电动放风阀属于阀口式空气阀,它由紧急电空阀与放风阀两部分组成,如图3-3-1所示。

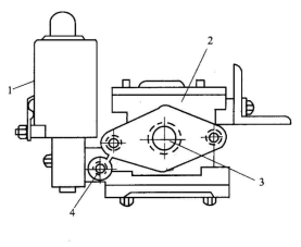
图3-3-1电动放风阀
1–紧急电空阀94YV;2–阀体;3–制动管接管孔;4–总风缸接管孔。
电动放风阀主要由橡胶膜板(简称膜板)、铜碗、芯杆、芯杆套、放风阀(简称阀)、放风阀弹簧、阀座等组成,如图3-3-2所示。
图 3-3-2电动放风阀结构图
1–上盖;2–放风阀弹簧;3–放风阀;;4–芯杆;5–铜碗;6–橡胶膜板;7–下盖;8–电空阀;9–阀体。
2.电动放风阀气路
电动放风阀内部空间分别与3条气路(或管路)连通,如图3-3-3所示。
(1)放风阀上侧空间经阀体孔与制动管连通;
(2)放风阀下侧及铜碗上侧空间经阀体孔与大气连通;
(3)铜碗及膜板下侧空间与紧急电空阀94YV的控制气路连通。
图3-3-3电动放风阀气路
二、 电动放风阀作用原理
电动放风阀的工作过程包括以下两个动作状态,紧急制动状态和非紧急制动状态。各位置通路及工作过程见表3-3-1所示。
3-3-1 电动放风阀位置原理图及工作过程
工作 位置 | 气路通路 | 工作过程 |
1.紧急制动状态 |
| 当紧急电空阀94YV得电时,接通总风经紧急电空阀94YV向电动放风阀铜碗及膜板下侧空间充风的气路,橡胶膜板、铜碗推动芯杆上移而压缩放风阀弹簧,顶开放风阀口,连通制动管向大气放风的气路,使制动管压力迅速降低,实现全列车的紧急制动。
|
2.非紧急制动状态 |
| 当紧急电空阀94YV失电时,接通电动放风阀铜碗及膜板下侧空间经紧急电空阀94YV向大气排风的气路,在放风阀弹簧作用下,放风阀推动芯杆、铜碗、橡胶膜板下移,关闭放风阀口,切断制动管向大气放风的气路。此时,制动管的压力变化主要由中继阀控制。 |



