2.课程思政-朱德号司机长寄语
3.课程思政:
任务5.1 认识CCBⅡ制动机
【相关资料】
第二代微机控制制动机(CCB II)是基于网络的微机控制电空制动机,它是按照美国铁路协会标准AAR(Association of American Railroads)以26—L制动机为基础,为满足干线客、货运机车的运用要求而设计的,可以满足我国既有机车车辆的配套使用。
一、CCBⅡ制动机具技术特点:
(1)控制准确性高,反应迅速。
(2)安全性较高。
(3)部件集成化高,可进行部件的线路更换,维护简单。
(4)有自我诊断、故障显示及处理方法提示功能。
(5)系统内部通过 LON 网通讯,系统同机车间通过 MVB 网进行通讯。
二、HXD3型电力机车制动控制原则
(1)优先使用机车动力制动。
(2)通过自动制动阀或监控装置实施常用制动,经计算机车施加同空气制动力相当的动力制动,列车施加空气制动。
(3)通过自动制动阀、车长阀或监控装置实施紧急制动,经计算机车施加同空气紧 急制动力相当的动力制动,列车施加空气紧急制动。
(4)通过紧急按钮实施紧急制动时,机车断开主断路器后施加空气制动,列车施加 空气制动。该紧急按钮为非常情况(如机车起火,主断路器粘接等电器故障)设计。
(5)通过单独制动阀实施制动,机车施加空气制动。
(6)通过司控器可以施加动力制动,其最大值为 480kN。
(7)若司控器和自动制动阀同时实施动力制动,取其大值。
(8)若单独制动阀施加的空气制动大于90kPa,机车将不再施加或切除动力制动;若单独制动阀减压使空气制动小于60kPa,机车可以施加动力制动或恢复动力。
三、CCB-Ⅱ制动机制动控制系统
1.CCB II制动机主要部件
CCB II制动机是基于微处理器和LON网的电空制动控制系统,除了紧急制动作用由机 械阀触发,其他所有逻辑控制指令均由微处理器发出。CCB II制动机包括5个主要部件,LCDM(制动显示屏)、EPCU(电空控制单元)、X-IPM微处理器、EBV(电子制动阀)、RIM /JCB(继电器接口模块),如图5-1-1所示。

图5-1-1 CCB II制动机主要部件
CCBⅡ制动系统的主要特点是采用模块化、电子化,利用计算机编程进行控制,EPCU的8个在线可替换模块组成控制,其中5个在线可替换模块安装了控制程序,模块与模块间、模块与M-IPM之间通过Lonworks总线连接进行数据交换,CCBⅡ制动系统还能实现远程控制,即Locotrol控制功能。
2. CCB II制动机主要部件的布置
CCBⅡ制动系统由一个集成计算机X-IPM,一个电空制动单元EPCU,一个中间继电器接口单元RIM,两台液晶显示屏LCDM以及两套电子制动阀EBV。CCBII电空制动机系统的控制部分和辅助功能控制部分集成在空气制动柜中,空气制动柜置于机械间,HXD3型电力机车制动柜布置与HXD3B(C)型电力机车制动柜布置有所差异。
(1)HXD3型电力机车制动柜布置
HXD3型电力机车制动柜布置如图5-1-2所示。

图5-1-2 HXD3型电力机车空气制动柜布置图
1—B09测试口;2—B06/1,B06/2压力传感器;3—A24总风塞门;
4—B40弹簧停车模块;5—B50踏面清扫模块;6—B29测试Vl;
7—B28/B30/B34的压力传感器接口;8—电气接口;9—U81安全阀;
l0—U83干燥风缸;11—U84压力开关;12—U80辅助空压机;l3—U43升弓模块;
14—F41撒砂模块;15—B46主机IPM;16—B47继电器模块RIM;17—B49电缆箱;
l8—B20电空控制单元;19—空气接口;20—Zl0.22闸缸塞门;21—Zl0.36紧急电磁阀;22—B48电源盒;23—Gl电子防滑器;24—空气接口
(2)HXD3B型电力机车制动柜布置
HXD3B型电力机车制动柜布置如图5-1-3所示。制动柜由以下部件组成:机架、停放制动风缸25l (A13)、塞门 (排水) (A14)、塞门(A24)、测试口 (A73)、控制单元 (EPCU) (B20)、压力传感器 (B28) 、压力传感器(B30)、压力传感器(B32)、压力传感器(B34)、停放制动模块 (B40)、处理模块 M-IPM (B46)、继电器接口模块(B47)、撒砂模块 (F41)、PSW 模块 (P50)、无人警惕模块 (S10)、辅助压缩机模块 (U43)、控制风缸(U76)、塞门 (排水) (U88)等装置与车辆一侧压缩空气系统之间通过管路建立气动连接。


图5-1-3 HXD3B型电力机车空气制动柜布置图
1—辅助控制模块;2—总风截断塞门;3—干燥风缸;4—辅助干燥器;5—辅助压缩机;6—电空控制单;7—气路接口;8—监控传感器接口;9—升弓钥匙塞门;10—气路接口;
11—预留空间;12—I/O 模块;13—辅助压缩机按钮;14—微处理器;15—电器接口
(3)HXD3D型电力机车制动柜布置
HXD3D型电力机车制动柜布置如图5-1-3所示。
![]() |
图5-1-4 HXD3D型电力机车空气制动柜布置图
1-升弓钥匙塞门;2-总风截断塞门;3-辅助干燥器;4-辅助压缩机;5-辅助控制模块;6-电空控制单元;7-气路接口;8-防滑器控制单元;9-继电器接口模块10-微处理器
四、CCB-Ⅱ制动机主要部件控制关系
1. CCB II制动机主要部件控制关系
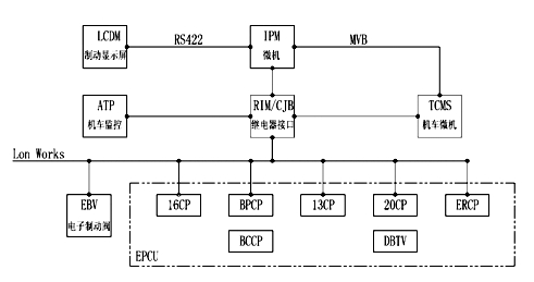
在制动机主要部件中,EBV、EPCU、RIM、IPM 之间通过 LON 网线进行通讯;IPM、LCDM 之间通过 RS422 进行通讯;IPM、TCMS 之间通过 MVB 数据线进行通讯;RIM、 TCMS 通过开关模拟量硬线进行通讯。通讯关系如图5-1-5所示。
图5-1-5 HXD3制动机主要部件通讯关系图
2.气路控制关系
(1)控制列车:

(2)控制机车:

3.系统主要部件的冗余
(1)空气备用(16CP失效)
空气备用模式是指系统采用纯机械三通阀(DBTV)来代替电子控制(16CP)产生制动缸管控制压力。
其控制关系如下:

![]()
(2)ER备用(ERCP失效)
如果ERCP失效,它的功能由16CP和13CP实现。由软件控制自行进行切换,控制关系如下:

![]()
(3)单独制动备用(20CP失效)
20CP失效时,16CP将响应单独制动手柄的指令,控制本机车制动缸的压力。对于重联车,将不存在平均管压力。控制关系如下:
![]()
![]()
单独制动阀 16CP BCCP 机车制动缸
4.紧急制动的触发方式
(1)自动制动阀置紧急位;
(2)开放车长阀触发紧急制动;
(3)按下操纵台紧急按钮触发紧急制动(断主断路器);
(4)IPM 触发紧急制动;
(5)监控装置触发紧急制动;
(6)列车断钩分离触发紧急制动。
5.总风缸压力低保护
当总风缸压力低于 500kPa 时,TCMS 接收到压力传感器信号,不允许机车加载牵引。


