1.任务1.2认识基础制动装置
2.课程思政
任务1.2认识基础制动装置
基础制动装置由制动缸、制动传动装置、闸瓦装置及闸瓦间隙调整装置组成。
制动缸俗称闸缸,是产生制动原力的部件,它受制动缸压力空气压力变化的控制而进行动作。制动缸的种类很多,但其构造基本相同,主要由缸体、活塞、活塞杆及缓解弹簧等组成。
制动传动装置应用杠杆原理,将制动缸产生的制动原力放大一定的倍数后均衡地传递给各个闸瓦。
闸瓦装置用于安装闸瓦,并调整闸瓦与车轮踏面间的工作角度。闸瓦装置包括闸瓦、闸瓦托、闸瓦签及闸瓦定位装置等。
闸瓦间隙调整装置用于自动调整闸瓦与车轮踏面之间的间隙,使闸瓦间隙保持在规定的范围内,以确保制动作用的可靠性。
1.按闸瓦的布置情况分
基础制动装置按照闸瓦的分布情况,可分为单侧制动式和双侧制动式。
目前我国货车和东风4型内燃机车、部分电力机车采用单侧制动,客车和部分型号的内燃、电力机车采用双侧制动。随着列车运行速度的提高,大吨位货车也有采用双侧式基础制动装置的必要。SS系列电力机车除SS1、SS3、SS7型机车采用双侧制动外,其它车型均采用单侧制动。
图2-3-1 SS4改进型电力机车基础制动装置
1—制动器;2—安装座(一);3—安装座(二)
图2-3-2 SS9型电力机车基础制动装置
1—JDYZ-4A型单元制动器制动器;2—JDYZ-4B型单元制动器
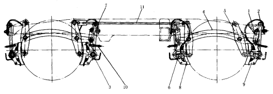
图2-3-2 209T转向架的基础制动装置
1-杆吊;2-缓解弹簧;3-制动梁;4-移动杠杆拉杆;5-移动杠杆;6-拉环;
7-闸瓦托吊;8-闸瓦;9-闸瓦托10-闸瓦托弹簧;11-移动杠杆上拉杆
2. 按制动缸的控制对象分
基础制动装置按照制动缸的控制对象,可分为组合式和单独式。
1. 构造
SS4改型电力机车单元制动器的结构如下图所示。主要由箱体、制动缸、制动杠杆,闸瓦间隙调整器和闸瓦装置等组成,结构如图2-3-4所示。
图2-3-4 SS4改型电力机车单元制动器
1-闸瓦定位弹簧;2-箱体;3-棘钩;4-压环;5-密封套;6-门组装(左);7-门组装(右);8-油杯;9 -护罩;10-虑尘网;11-制动缸;12-杠杆;13-隔套;14-杠杆;15-圆锥弹簧;16-扭簧卡;17-扭簧止板;18-扭转弹簧;19-闸瓦托杆;20-闸瓦托;21-闸瓦签;22-闸瓦;23-脱钩杆;24-开口销;25-手轮;26-螺盖;27-棘轮;28-传动螺杆;29-传动螺母;30-滑套;31-条簧;32-密封罩;33-螺母;34-闸瓦签圆销。
2. 工作原理
当制动缸充气时,活塞带动活塞杆左移(活塞同时压缩了圆锥缓解弹簧),推制动杠杆下端并以上螺销为支点向左摆动,制动杠杆带动与它相连的滑套,使传动螺母与传动螺杆推动闸瓦托,使闸瓦压在车轮踏面上实现制动作用。当制动缸排气时,活塞和活塞杆在缓解弹簧的推动下,使上述各传动零件作反方向运动,闸瓦即离开踏面而缓解。
HXD3型电力机车单元制动器采用轮盘制动。轮盘制动和踏面制动同属于摩擦制动方式,但轮盘制动相对于踏面制动有许多优点。
1.单元制动器的布置
图2-3-5 HXD3型电力机车单元制动器
HXD3型电力机车基础制动装置外形结构如图2-3-5 所示,其采用的是轮盘制动方式,每个车轮安装一套独立的单元制动器,其中每个转向架装有一套单元制动器带弹簧停车储能制动,安装在第一、六轴车轮上,制动单元的布置如图2-3-6所示。
图2-3-6 基础制动装置布置图
2.制动单元组成结构
轮盘制动装置包括单元制动缸(常用单元制动缸和带停放单元制动缸)、制动盘、闸片及夹钳组成。常用制动单元结构如图2-3-7所示,常用制动单元是由制动缸作用部与闸片间隙调整器组成的一个独立的构。闸片间隙调整器可以使闸片和制动盘磨耗过大后使盘片间隙得到自动的调整,使闸片间隙始终保持在正常的数值范围内。


图2-3-8 闸片

