1、双工方式
在无线通信系统中,可以让用户在发送信息给基站的同时接收从基站来的信息。例如,在常规电话系统中,“讲”和“听”可能是同时进行的,这种被称作双向双工的通信方式。
频分双工(FDD):FDD方式为每一个用户提供了两个确定的频段(信道),前向信道提供从基站到移动台的信息传输,反向信道提供从移动台到基站的传输。在FDD方式中,双工信道实际上是由两个单工信道组成的,利用 “双工器”设备,允许在双工信道上同时进行无线发射和接收。
时分双工(TDD):TDD是用时间而不是频率来提供前向信道和反向信道。采用TDD工方式时,数据的发送和接收实际上都是间歇性的,但时间间隔很短,用户并不会感觉到,看起来就像是连续传输一样。

2、FDMA
频分多址(FDMA)为每一个用户指定一个特定频率范围的信道,系统分配给每一用户一个唯一的频段或信道,这些信道按要求分配给请求服务的用户,在呼叫的整个过程中,其它用户不能共享这一频段。

第一代模拟蜂窝系统是以FDMA/FDD为基础的。当呼叫进行中,一个用户占用一个信道。这一个信道实际上是两个单工的具有45MHz频率双工分隔的一对载波,语音信号在前向信道上从基站发送到移动台,在反向信道上从移动台发送到基站。

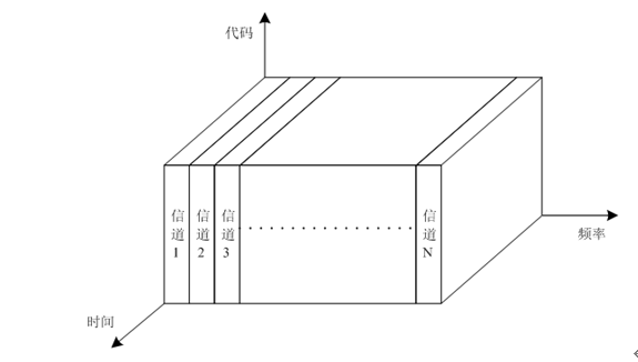
3、TDMA
时分多址(TDMA)系统把无线频谱按时隙划分,并且每一个时隙仅允许一个用户使用,要么发射要么接收。TDMA系统发送数据是用“缓存+突发”方式,因此对任何一个用户而言发射都不是连续的。这就意味着以前的模拟调制方式将无法在TDMA系统中使用,模拟信号数字化技术和数字调制技术必须与TDMA一起使用。

在TDMA系统中,每个用户的发射在时间上相互连成一个重复的帧结构。TDMA帧是由时隙组成的,每一帧都由头比特、信息数据和尾比特组成。

4、CDMA
码分多址(CDMA)采用扩频技术,其发射信号带宽比最小所需射频带宽要高若干数量级。窄带调制信号与伪随机PN序列直接相乘(直扩)或者由PN序列控制载波发射频率(跳频),达到展宽频谱的目的。
CDMA可以抵抗多径干扰而增强多址能力。只有少数用户使用时,CDMA并没有很好的带宽效率。然而,在CDMA系统中,大量用户可以不互相干扰(正交)地共享同一扩频带宽,因此CDMA在多用户环境中就变成了具有很高带宽效率的系统,这正是无线通信系统设计者非常需要的。
目前码分多址技术主要有两个类型:
l 直接序列扩频码分多址(DS-CDMA)
l 跳频码分多址(FH-CDMA)
1)、直扩码分多址(DS-CDMA)
在直扩码分多址(DS-CDMA)系统中,窄带信号被乘以叫作扩频信号的一个伪随机代码序列(PN),此码片速率比消息中的数据速率要高若干个数量级。

2)跳频码分多址(FH-CDMA)
跳频多只是一个数字多址系统,此系统中单个用户的载波在带宽信道范围内按伪随机方式变化,数字数据被分为尺寸一致的组,在不同的载波上发射出去,任意一个发射组的瞬时带宽都比整个扩展带宽小的多。用户载频的伪随机变化使在任意时刻对以具体信道的占用也随机变化,这样可以实现一个大频率范围的多址接入。
5、OFDM
传统的频分复用/频分多址(FDM/FDMA)技术将较宽的频带分成若干较窄的子载波进行并行发送。为了避免各子载波之间的干扰,不得不在相邻的子载波之间保留较大的间隔。
OFDM技术是高速率无线通信系统中有广阔应用前景的多载波数据通信技术,将待传输的数据流分解成M个子数据流,每个子数据流的传输速率降为原数据流的1/M,然后用这些子数据流去并行调制M个载波。 OFDM技术的各个子载波间可相互重叠,并且能够保持各个子载波之间的正交性,以避免子载波之间的干扰。部分重叠的子载波排列可以大大提高频谱效率。正交信号可以通过在接收端采用相关技术分离,这样可以减少子信道之间的相互干扰。

OFDM的基本原理:在频域用不同的子载波将一个宽频信道划分为多个子信道,各相邻子信道相互重叠,但不同子信道之间相互正交。在时域,将高速的串行数据流分解成若干并行的低速子数据流,将这些子数据流调制到不同的子信道中同时传输,这些在子载波上同时传输的数据符号就够成了一个OFDM符号。

TD-SCDMA被国际电信联盟认可为全球第三代移动通信标准之一,这是全球三个标准中唯一由中国人自主开发的3G技术标准。在第一代、第二代移动通信领域,中国没有一项属于自己的核心技术专利与核心知识。被称为“中国3G之父”的李世鹤是这个标准的主持制定者。TD技术是中国自主创新的一面旗帜,为TD标准,他殚精竭虑。
“中国3G之父”李世鹤:TD-SCDMA是我一生的事业 人一辈子能做成一件事也就很不容易了。我这一辈子都在同一个单位工作,当然原来叫邮电部电信科学技术研究院。现在,TD-SCDMA能够实现独立大规模商用了,对于我来说,这一步整整走了20年。
能够出国留学,对我来说是很幸运的,我是“文革”后的第一批留学生。1978年,国家要挑选800人出国留学,我立即报名了。我原来学的是俄语,英语是后来自学的,水平非常低,但是真没想到居然通过了英语考试。邮电部将我们50多人集中在北京邮电学院恶补了4个月英语后,我和其他5个人一起到加拿大蒙特利尔大学学习,4年后我拿到了该校的博士学位。
可能和现在的人想法不同,我决定回国工作并没有经过什么思想斗争。当时我留在国外并不困难,我的博士论文现在还在蒙特利尔大学展览,被认为是该校历史上最好的博士论文之一,我和导师的关系也非常好。但我还是决定立即就回来。我当时的想法是,自己年纪比较大了,再干几年就四五十岁了,更重要的是我认为当时国家十分需要我回来。
1983年我回到所里,虽说是做总工程师,但当时月薪只有70元人民币。而国家的通信产业情况又是怎么样的呢?我在蒙特利尔大学时参加了一个国际学术研讨会,会上公布了各国固定电话普及率,加拿大的数字是70%,美国接近100%。但很少有人能说出中国的情况,一个教授说,他曾看到报道,中国的普及率是0.3%。在这种情况下,我在国外根本坐不住。
回国两年后,我很快找到了努力的方向,就是移动通信。我当时就坚信移动通信会成为未来通信产业发展的主要方向。1985年我曾参加一个国际会议,一位美国教授在会上提出,21世纪将是移动通信的世界,会上大多数都是反对意见,但我立即站起来支持他的观点。
当然,我确定这个主攻方向还有另一个原因——在固网业务上,中国已经落后得太多,而在移动通信上可以实现赶超。之后我先做了10年的技术跟踪,1995年后,我就一直在做TD-SCDMA。对于我来说,这20年做了这一件事已经很足够了,当然成不成功不能我来讲,因为一项技术从开发到应用有很长的路要走。
(来源/商务周刊)