过滤介质及过滤器的结构
-
1 主要内容
-
2 教学视频
-
3 授课教案
上一节
下一节
主要内容
一、常用的过滤介质
1.纤维状或颗粒状过滤介质
(1)棉花 (2)玻璃纤维(3)活性炭(4)烧结金属(5)多孔陶瓷(6)多孔塑料




2.过滤纸类介质:主要是超细玻璃纤维纸
3.微孔膜类过滤介质
4.非织造布



二、空气介质过滤器
1.纤维状或颗粒介质过滤器
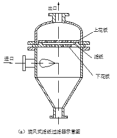
2.过滤纸类过滤器(旋风式和套管式)
3.金属烧结管空气过滤器
4.微孔膜过滤器





