X射线光电子能谱(XPS)也被称作化学分析用电子能谱(ESCA)。该方法是在六十年代由瑞典科学家Kai Siegbahn教授发展起来的。为此,Kai Siegbahn在1981年获得了诺贝尔物理奖。三十多年的来,X射线光电子能谱无论在理论上和实验技术上都已获得了长足的发展。XPS已从刚开始主要用来对化学元素的定性分析,也已发展为表面元素定性、半定量分析及元素化学价态分析的重要手段,成为一种最主要的表面分析工具。

XPS基本原理:X射线光电子能谱基于光电离作用,当一束光子辐照到样品表面时,光子可以被样品中某一元素的原子轨道上的电子所吸收,使得该电子脱离原子核的束缚,以一定的动能从原子内部发射出来,变成自由的光电子,而原子本身则变成一个激发态的离子。在光电离过程中,固体物质的结合能可以用下面的方程表示:
Ek = hv- Eb - fs 或者 Eb = hv-Ek - fs
式中:Ek-出射的光电子的动能,eV;
hv-X射线源光子的能量, eV;
Eb-特定原子轨道上的结合能,eV;
fs-谱仪的功函, eV。谱仪的功函主要由谱仪材料和状态决定,对同一台谱仪基本是一个常数,与样品无关,其平均值为3~4eV。


元素的原子结构是由原子核和核外电子构成,电子分布于各个轨道上,除氢、氦以外的元素中,距离原子核最近的轨道称为内壳层,上面的电子称为内层电子;而构成化合价的外壳层电子,则被称为价电子。样品在具有足够能量的软X射线照射下,原子内层电子会被激发,以一定动能逸出,产生光电子,过程服从爱因斯坦光电方程,通过能量分析仪器分析光电子动能和数目,即可获得样品中有关元素组成和化学键状态的信息。
不同元素的内层电子所释放光电子能量不同,由此元素的光电子能量成为其指纹特征,人们更常用电子结合能Eb描述,Eb是轨道电子的标识性参数,二者都可用作元素种类的鉴定。另外,内层电子的结合能还会受到核外电子分布影响,任何影响这些电荷分布的因素,都有可能引起内层电子结合能的变化,在光电子能谱上可以看到光电子谱峰的位移,这被称为电子结合能位移。由于元素处于不同化学环境而引起的结合能位移称为化学位移,这是利用光电子能谱鉴定物质表面化学结构的理论依据。
基于上述描述,可以得出结论:
1)不同元素,具有不同的化学结合能,且具有特征性。通过XPS扫描一种物质,可以依据结合能的位置,确定存在的元素种类。例如,下面一张某种聚合物的XPS宽能量扫描图,可以确定存在三种元素(C、N、O)。

2)同一种元素,因为各原子在物质中的位置差异(化学环境差异),导致不同位置原子的化学结合能不同。这一结合能的差异(位移)是XPS技术进行结构分析的重要依据。例如下图为PET树脂的C1s的XPS谱图。

3)和其它波谱分析类似,无论是在样品中关于不同元素种类的宽扫XPS峰,还是针对同一元素在不同化学环境时的元素XPS峰,它们的峰面积都代表了各种元素或者不同化学环境元素的含量。

XPS谱仪的结构:它由超真空系统、快速进样室、X射线激发源、离子源、能量分析器、计算机系统等主要部件构成,如下所示:

XPS的采样或分析深度:
X射线光电子能谱的采样深度与光电子的能量和材料的性质有关。一般定义X射线光电子能谱的采样深度为光电子平均自由程的3倍。根据平均自由程的数据可以大致估计各种材料的采样深度。
一般对于金属样品为0.5 ~2 nm, 对于无机化合物为1 ~3 nm, 而对于有机物则为3 ~10 nm。
XPS技术的应用
1)表面的元素组成(广谱)
大豆胶黏剂-木材胶接接头的XPS谱图,激发源为Mg Ka

高纯Al基片上沉积的Ti(CN)x薄膜的XPS谱图,激发源为Mg Ka

2)表面元素的半定量分析
首先应当明确的是XPS并不是一种很好的定量分析方法。它给出的仅是一种半定量的分析结果,即相对含量而不是绝对含量。由XPS提供的定量数据是以原子百分比含量表示的,而不是我们平常所使用的重量百分比,样品表面的C, O 污染以及吸附物的存在也会大大影响其定量分析的可靠性。
Cxmol%=(Ax/Sx)/Σ(Ai/Si)
Cx为某元素x的摩尔百分比,Ax为元素x的峰面积,Si为元素x的灵敏度因子
灵敏度因子法定量常用元素的灵敏度因子:C=0.296, N=0.477, O=0.711


基于XPS谱图的元素分析,测得大豆胶黏剂-木材胶接接头的元素组成:C=47.2mol%,N=15.9 mol%,O=37.0mol%。
3)表面元素的化学价态分析
表面元素化学价态分析是XPS的最重要的一种分析功能,也是XPS谱图解析最难,比较容易发生错误的部分。例如,在Na2S2O3中,可发现两个强度相等的S2p峰,Na2SO4只有一个S2p峰 ,从而认识到前者两个硫元素的化学环境是不同。

应用实例1:大豆胶黏剂用大豆粉经常温放置后因常态老化的结构变化确定。
常温放置的大豆粉发生了老化,起始各种价态成分发生变化;老化的主要归结于豆粉中C-H键或C-C键氧化成为C-O、O-C-O及C=O等价键结构。


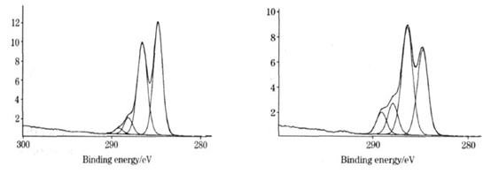
应用实例2: 竹材表面的XPS分析
下图是竹材经紫外光照前后的XPS图片,其中左图-未处理的竹材表面;右图-辐照160h后的竹材表面。利用XPS分峰区别两个表面C元素的价态及含量如下表所示,在288-289ev左右代表羰基和羧基的峰明显增加,说明竹材表层在光照后出现了明显的氧化降解。



