
圆锥拉杆
图样分析
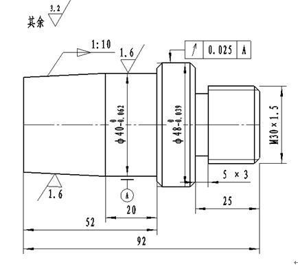
圆锥拉杆零件(图1-7-2)所示,圆锥柄的台阶轴尺寸分别为Φ400-0.062和Φ480-0.039,尺寸精度较高,而且圆锥面一端的表面粗糙度Ra1.6,因此需要粗加工和精加工,总长度尺寸为92mm,,圆锥柄台阶长度尺寸52、20螺纹长度尺寸25,保证自由公差,加工时应注意台阶长度尺寸,台阶轴的一倒角为2×45º倒角,一端的螺纹为M30×1.5。Φ400-0.062的外圆相对于基准A的圆跳动0.025,相对位置精度较高,而且工件长度较长,因此采用一夹一顶的定位装夹方式。加工时应先在螺纹端车削10~20mm定位台阶,在圆锥端的端面加工顶尖孔。
加工准备
机床:卧式车床CD6140A
刀具:90º、45º硬质合金车刀、高速钢光刀、螺纹车刀,刀柄25×25
夹具:三爪自定心卡盘、活顶尖
材料:45#钢 Φ50×95
工具:卡盘扳手、刀架扳手
量具:游标卡尺、游标深度卡尺、钢板尺、千分尺、1:10锥度套规
加工实施
1.安装车刀 按照车刀的安装方法正确安装车刀。
2.工件的安装 三爪卡盘定位和顶尖装夹工件的一夹一顶方法和三爪自定心卡盘定位装夹工件。
3.调整切削用量 合理选取并计算调整切削用量。
4.车削加工步骤
(1)粗基准定位装夹 车削螺纹端10~20mm长的夹头
(2)调头粗基准定位装夹 车端面、钻中心孔
(3)一夹一顶定位装夹 粗车Φ480-0.039、Φ400-0.062
外圆光刀精车Φ480-0.039、Φ400-0.062保证长度尺寸、倒角
粗车外圆锥面,调整好1:10锥度
外圆光刀精车外圆锥面。
(4) 三爪卡盘定位装夹Φ400-0.062圆柱面 车螺纹端端面、车螺纹外径Φ30,切槽刀车削退刀槽,加工倒角,车螺纹。
车削圆锥柄零件工艺步骤
| 序号 | 工件加工面 | 工件定位、夹紧面 | 工件定位装夹 | 注意事项 |
| 1 | 车削端面、外圆柱面10~20mm长的夹头 | Φ50毛坯面
|
![]() | 90º车刀粗车,留加工余量。 |
| 2 | 车端面、钻中心孔 | Φ50毛坯面
| ![]() | 45º偏刀车端面 钻中心孔 |
| 3 | 粗车Φ480-0.039、Φ400-0.062,留精加工余量 | 一夹一顶
| ![]() | 90º偏刀粗车
|
| 4 | 外外圆光刀精车Φ480-0.039、Φ400-0.062保证长度尺寸、倒角
| ![]() |
90º偏刀、 光刀精车 | |
|
5 | 粗车圆锥端,小托板转动圆锥半角2º51´44"
| ![]() | 90º偏刀 | |
|
6 | 外圆光刀精车外圆锥面
| ![]() | 光刀 | |
|
7
| 车螺纹端端面、车螺纹外径Φ30 | Φ400-0.062圆柱面 | ![]() | 90º偏刀 |
| 8
| 切槽刀车削退刀槽,加工倒角 | ![]() | 切槽刀 45º偏刀 | |
|
9
| 车螺纹 | ![]() | 螺纹车刀 |
加工工艺卡片
加工工艺卡片
| 工件名称:圆锥拉杆 | 图纸编号:图1-7-2 | |||||
| 毛坯材料:45#钢
| 毛坯尺寸:Φ50×95 | |||||
| 序号 | 内容 | 要求 | n (r/min) | f (mm/r) | ap (mm) | 工夹量具 |
| 1 | 安装车刀刀 | 90º、45º车刀、高速钢光刀正确安装。 | 刀架扳手 | |||
| 2 | 装夹工件 | 工件按工艺顺序正确定位装夹。 | 卡盘扳手 | |||
| 3 | 切削用量 | 查表选铣削用量 | vc=90-110 (m/min) | f=0.4-0.5 (mm/r) | ap
| |
| 4 | 车削端面、外圆柱面10~20mm长的夹头 | 560 | 0.5 | 2 | 150mm游标卡尺、钢板尺 | |
| 5 | 车端面、钻中心孔 | 220 | 0.10 | |||
| 6 | 粗车Φ480-0.039、Φ400-0.062,留精加工余量 | 560 | 0.5 |
2 | 150mm游标卡尺、钢板尺 | |
| 7 | 切削用量 | 查表选铣削用量 | vc=15-25 (m/min) | f=0.1-0.15 (mm/r) | ap
| |
| 8 | 外圆光刀精车Φ480-0.039、Φ400-0.062保证长度尺寸、倒角 | 90 | 0.15 | 0.2 | 千分尺 150mm游标卡尺 | |
| 9 | 粗车圆锥端,小托板转动圆锥半角2º51′44″
| 560 | 手动 | 1 | 150mm游标卡尺、锥度套规 | |
| 10 | 切削用量 | 查表选铣削用量 | vc=15-25 (m/min) | f=0.1-0.15 (mm/r) | ap
| |
| 11 | 精车圆锥端(光刀) | 90 | 0.15 | 0.2 | 150mm游标卡尺、锥度套规 | |
| 12 | 车螺纹端端面、车螺纹外径Φ30 | 560 | 0.5 | 2 | 150mm游标卡尺 | |
| 13 | 切槽刀车削退刀槽,加工倒角 | 220 | 手动 | 3 | ||
| 14 | 车螺纹 | 72 | 1.5 | 0.2 | 螺纹环规 | |
| 15 | 清理整顿现场 | |||||
检查评价
评分标准
| 班级: | 姓名: | 学号: | 零件:台阶面 | 工时: | |||||||
| 项目 | 检测项目 | 赋分 | 评分标准 | 量具 | 扣分 | 得分 | |||||
|
加工准备 | 工具、量具、刀具准备 | 5 | 准备不齐全不的分 | ||||||||
| 工件定位、装夹正确 | 5 | 定位装夹不正确不得分 | |||||||||
| 切削用量选择及调整 | 5 | 选择不合理不得分 | |||||||||
| 尺寸精度 | Φ480-0.039 | 10 | 每超0.02扣2分 | 游标卡尺 | |||||||
| Φ400-0.062 | 10 | 每超0.02扣2分 | 钢板尺 | ||||||||
| M30×1.5 | 10 | ||||||||||
| 20 | 2 | ||||||||||
| 25 | 3 | ||||||||||
| 52 | 2 | ||||||||||
| 92 | 3 | ||||||||||
| 锥度1:10 | 10 | ||||||||||
| 2×45º | 5 | 每超0.02扣2分 | 钢板尺 | ||||||||
| 位置精度 | 圆跳动0.025 | 5 | 百分表 | ||||||||
| 表面粗糙度 | 表面Ra3.2 表面Ra1.6 | 5 | 表面没达到粗糙度要求不得分 | 表面粗糙度对比样块 | |||||||
| 量具使 用 | 正确使用量具 | 5 | 使用不规范不得分 | ||||||||
| 操作规 范 | 操作过程规范 | 5 | 不按安全操作规程操作不得分 | ||||||||
| 安全文 明 | 文明生产 | 5 | 着装、工作纪律 | ||||||||
| 安全操作 | 5 | 有安全问题不得分 | |||||||||
| 累 计 | |||||||||||
| 监考员 | 检查员 | 总 分 | |||||||||










