MATLAB在电阻电路中的应用
一、目的
1、掌握MATLAB矩阵运算方法及其在电路中的基本表达式;
2、加深对电阻电路中结点电压法和网孔电流法等电路分析方法和戴维南等电路定律的理解,能够运用MATLAB解电路方程组。
二、原理
1、电路理论中定义了一些理想元件:电压源、电流源、电阻、受控电压源、受控电流源、电容和电感。使用这些元件能够对实际电路建模,其模型在电路理论中简称为电路。由电阻、受控源和独立源组成的电路称为电阻电路,含有电容和电感等的电路称为动态电路。当电路模型给出后,在所有元件值和电源值给定的情况下,依据电路知识就可以写出有关数学方程。
2、MATLAB具有强大的数学方程求解功能,学生在学习电路课时运用MATLAB可使注意力集中在电路分析方法本身上,而不会为数学方程的求解所困扰,从而有助于提高学习效率。
3、若用MATLAB只是求解电路方程,还不能完全减轻电路分析的工作量,因为电路方程的手工建立仍是一项十分艰巨的工作。借助MATLAB的编程语句,这一工作也可由计算机完成,从而在输入电路结构和元件值的情况下就能够分析电路。
三、内容
1、写程序进行电阻电路的计算
如图3.1所示的电路,已知:
,
,
,
,
,
,
。
(1)如
,求![]()
(2)如已知![]()

图3.1 电阻电路


![]()
![]()
程序如下:
% 解(1)
display('解(1)')
R1=2
R2=4
R3=12
R4=4
R5=12
R6=4
R7=2
a11=R1+R2+R3;a12=-R3;a13=0
a21=-R3;a22=R3+R4+R5;a23=-R5
a31=0;a32=-R5;a33=R5+R6+R7
b1=1;b2=0;b3=0
us=input('us=')
A=[a11,a12,a13;a21,a22,a23;a31,a32,a33]
B=[b1;0;0];I=A\B*us
ia=I(1);ib=I(2);ic=I(3)
i3=ia-ib,u4=R4*ib,u7=R7*ic
% 利用电路的线性性质及问题(1)的解
display('解(2)')
u42=input('给定u42=')
k1=i3/us;k2=u4/us;k3=u7/us
us2=u42/k2,i32=k1/k2*u42,u72=k3/k2*u42
![]()
R7 =
2
解(1)
a13 =
0
a23 =
-12
a33 =
18
b3 =
0
us=10
us =
10
A =
18 -12 0
-12 28 -12
0 -12 18
I =
0.9259
0.5556
0.3704
ic =
0.3704
i3 =
0.3704
u4 =
2.2222
u7 =
0.7407
解(2)
给定u42=6
u42 =
6
k3 =
0.0741
us2 =
27.0000
i32 =
1.0000
u72 =
2
四、任务(作业)
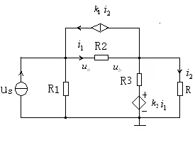
1.含受控源的电阻电路
如图3.2所示电路,已知
,控制常数
,求
和
。

图3.2含受控源的电阻电路
2.戴维南定理与功率分析
如图3.3所示电路,已知:![]()
![]()
求:(1)负载
为何值时能获得最大功率?
(2)研究
在
范围内变化时,其吸收功率的情况。

图3.3 功率分析

