一、变形
1、核酸的变性( denaturation):指在理化因素作用下,核酸双螺旋区的氢键断裂,碱基堆积力遭到破坏,双螺旋解链形成单链的过程。
理化因素:破坏氢键、碱基堆积力,增加磷酸基静电斥力。如pH值、高温、低离子强度。
方法:过量酸,碱,加热,变性试剂如尿素、酰胺以及某些有机溶剂如乙醇、丙酮等。
2、DNA变性

3、DNA的变性(denaturation)
DNA变性的本质是双链间氢键的断裂
变性后其它理化性质变化:OD260增高;粘度下降;比旋度下降;浮力密度升高;酸碱滴定曲线改变;生物活性改变
4、实验室常用的方法——热变性
当DNA的稀盐溶液加热到80-100℃时,双螺旋结构即发生解体,两条链彼此分开,形成无规线团。

Ø融解温度(melting temperature,Tm):DNA热变性过程中,紫外吸收达到最大值的一半时溶液的温度称为融解温度(Tm)或解链温度、变性温度。
5、影响Tm值的因素
(1)溶液的性质 (2)DNA分子的长短和组成
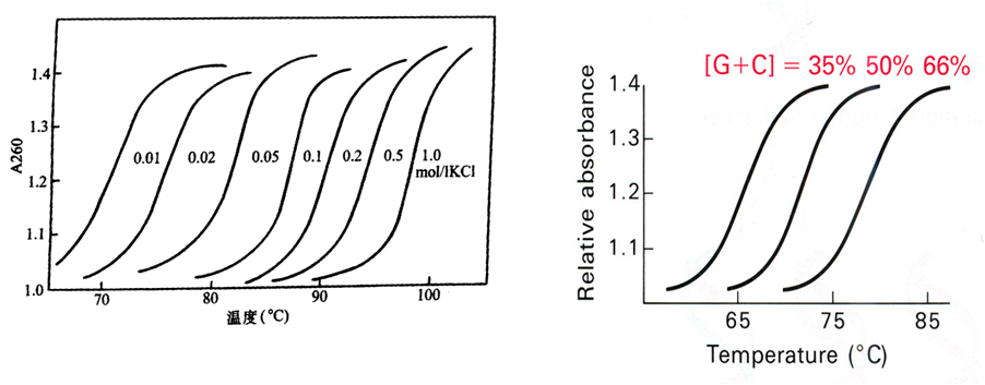
大肠杆菌DNA在不同浓度KCl溶液下的熔融温度曲线
提高溶液的离子强度,可中和DNA分子链上磷酸基团的负电荷,降低它们之间的排斥力,稳定DNA的结构。
nGC含量越高,Tm越大


Ø增色效应:DNA变性时其溶液OD260增高的现象。
二、DNA复性
DNA复性(renaturation)的定义:在适当条件下,变性DNA的两条互补链可恢复天然的双螺旋构象,这一现象称为复性。
热变性的DNA经缓慢冷却后即可复性,这一过程称为退火(annealing) 。
减色效应(hypochromic effect ):DNA复性时,其溶液OD260降低。

三、分子杂交(Molecular hybridization)
由不同来源的核酸单链形成杂化双链的过程
利用一个标记的(如用同位素标记),特异的,单股DNA或RNA片段——探针(probe),可以:
研究DNA之间的亲缘关系;
发现基因的缺失或突变;
测定某种遗传信息的量;
鉴定某种基因
基因治疗等




