-
1 知识点
-
2 课件
-
3 课堂练习
-
4 课后巩固
水中粗粒固体去除的目的是为了去除漂浮或较大的悬浮颗粒,以达到防止后续水泵、闸门、管道等设备被损坏或阻塞、减轻后续处理负荷的目的。对于粗粒固体的去除主要依靠截留作用,即以固体物质的粒径为分离依据,利用机械阻隔作用实现颗粒物的去除。粒径大于处理设备孔径的固体被分离,粒径小于处理设备孔径的则随水流出,进入后续处理步骤。处理设备主要有格栅和筛网,前者适用于粗筛,后者用于较小粒径固体的去除。
3.1.1格栅
格栅通常由一组或多组平行金属栅条制成的框架组成,倾斜或直立地设立在进水渠道中,以拦截粗大的悬浮物。
一、格栅的分类
按照栅条间距不同,将格栅分为粗、中、细三种。粗格栅栅条间距为50~100mm,中格栅为10~50mm,细格栅栅条间距<10mm。
根据格栅上截留物(栅渣)的清除方式不同,可将格栅分为人工清理格栅和机械格栅。人工清理格栅适用于栅渣产生量不大的场合;机械格栅适用于大型水厂等需要经常性清除大量截留物的场合。
二、格栅的结构和工作方式
1.人工清理格栅
人工清理格栅一般用直钢条制成,与水平面成45°~60°倾角放置,污水从栅条间隙中流过,粒径大于栅距的固体物质被截留,人工定期清除。
人工清理格栅的放置形式和结构如图3-1所示。其中各项尺寸参数含义如下:


图3-1 人工清理格栅结构示意图
H——栅槽总高度,为栅前水深和超高之和;
h——栅前水深,是污水经过格栅之前渠底到水面的高度;
h1——过栅水头损失,为了弥补水流经过格栅的水损,避免在栅前形成壅水现象;
h2——超高,为防止水量变化,在水面标高和构筑物最高处之间留出余量,一般取0.3m;
α——格栅安置的倾角,人工清理格栅一般取45°~60°;
α1——进水渠展开角,用于调整栅前流速,优化格栅工作条件;
B——栅槽宽度;
B1——进水渠道宽度。
2.机械清理格栅
机械清理格栅一般与水平面成60°~70°角安置,也有的机械格栅成90°安置。机械格栅根据清渣方式也可以分为两种:a.格栅固定不动,截留物用机械方式清除,如移动式伸缩机械格栅;b.活动格栅,刮渣设备固定不动,如回转式机械格栅,如图3-2所示。


图3-2 回转式机械格栅
回转式机械格栅是一种常用的机械格栅,由机架、驱动、传动、滤网、清污及传送机构、电气控制等部分组成。筛网是由许多金属材质的小齿耙相互连接组成一个大的旋转面,在驱动和传动机构作用下,筛网可以由下向上回转,回转过程中将小齿耙截留的污物带出水面至格栅顶部,由顶部的橡胶刷清污机构反向运动清理干净,清理下来的污物落入下方传送带输送至污泥处理构筑物,被清理干净的筛网部分继续回转,循环往复。
三、格栅的选择
格栅栅条的断面形式、栅条间距和清渣方式是选择格栅时应考虑的主要因素。
格栅常用的断面形状由圆形、正方形、矩形、半圆形等。圆形断面水力条件好,阻力小,但刚度较差;矩形断面刚度好,但水力条件略逊;半圆形断面水力条件和刚度均较好,但形状相对复杂。一般采用矩形断面。
格栅栅条间距与格栅用途有关,设置在水泵前的格栅栅条间距应该满足水泵的要求;设置在污水处理系统前的格栅栅条间距不超过40mm。一般水厂会根据水质情况和后续处理要求选择多组格栅,如采用一组粗格栅和一组中格栅,甚至采用粗、中、细三组格栅进行较大固体物质的截留。
栅渣清除方式的选择和栅渣量有关。当栅渣量大于0.2m³/d时,采用机械清理格栅;栅渣量小于0.2m³/d时,采用人工清渣和机械清渣方式均可。
3.1.2筛网
筛网用于截留和去除污水中较小的悬浮固体物质,如纤维、纸浆、藻类等。对于水中不同尺寸的可以选择不同材质的金属丝网(如不锈钢网、铜网)和不同尺寸的筛网去除。筛网既可以用于污水中固体物质的去除,也可应用于工业废水中原料物质的回收,筛网孔眼直径为0.5~1mm。筛网的种类有很多,有振动式筛网、水力筛网、转鼓式筛网等。下面以常见的转鼓式筛网为例,介绍其结构和工作方式。


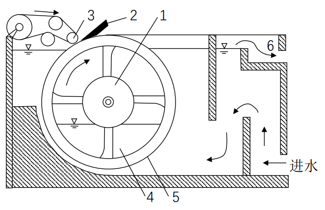
图3-3 转鼓式筛网结构示意图
图3-3所示为从制浆造纸废水中回收纸浆纤维的转鼓式筛网,转鼓绕水平轴旋转,圆周转速约为0.5m/s,废水由转鼓外进入,通过筛网的孔眼过滤流入鼓内。纤维被截留在筛网外,在其随转鼓转出水面后经挤压轮挤压脱水,再用刮刀刮下回收,滤后水由位于转鼓一端的出水口出水。
你能根据上述对转鼓式筛网工作方式的介绍,把图3-3中各组件名称标出来吗?
筛网具有处理简便、占地较小、不必投加化学试剂、运行费用低及维修方便、可以回收原料等特点,同时又很多定型的筛网设备出售,因此在中小型污、废水处理中得到了较为广泛的应用。随着筛网的孔径进一步缩小,筛网能够去除的更加微小的颗粒物,去除率不断增加,进一步出现了微滤机,孔眼直径达20~40μm,不仅可以运用于工业废水物料回收,还可以应用于深度处理。

