一、普通铆钉干涉配合铆接
1.铆钉长度的选择
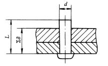
(1)沉镦头形铆钉长度如图所示,按下列公式计算。

(2)平锥镦头形铆钉长度如图所示,按下列公式计算。

式中: L —铆钉长度;
δ—铆接件夹层厚度;
d —铆钉直径。
所选取的铆钉长度应能填满镦头窝或保证镦头尺寸为原则,一般不宜过长,否则会影响干涉量。
2.铆接工艺方法
(1)优先选用单个压铆或正铆法。为了获得较为理想的密封性,需使用专用的带有凹坑的铆卡。干涉量的大小只能通过控制铆接力及镦头的大小来进行间接的控制。
(2)沉镦头普通铆钉干涉配合铆接,沉镦头的凸出部分,可用专用带限制器的铣刀铣平。
(3)铆接的干涉量需通过在相应的试片上进行检测。试片的材料、厚度、所用铆钉、工具和工艺方法等参数应与产品相同,并要求试片随同产品一道施工。
二、无头铆钉的铆接
1.铆钉长度的选择
铆钉长度按下列公式选取。
式中: L —无头铆钉的长度;
δ—被连接件的总厚度;
d —无头铆钉直径。

2、铆接工艺方法
(1)无头铆钉的铆接必须用自动钻铆机完成由制孔到铣平镦头以及产品移位等全部工序。
(2)利用铆钉伸出夹层的量,控制铆接干涉量的大小,铆钉伸出量大,所获得的干涉量大,反之,干涉量小。
(3)铆接前,选取与产品相同的材料和厚度尺寸做试片,进行铆接,并测出试件的干涉量,如果符合要求,则应锁定设备及各种铆接工艺参数,再铆接产品。
三、冠头铆钉的铆接
1.铆钉长度的选择
冠头铆钉的长度选择与普通铆接方法相同。
2.铆接工艺方法
(1)冠头铆钉铆接一律采用反铆法进行铆接,如图所示;

(2)铆枪的功率和顶把的质量均应比普通铆接大一级;
(3)为使零件和铆钉头不受损伤,在平头冲与铆钉之间应垫上玻璃纸;
(4)允许单个压铆,不允许成组压铆;
(5)产品铆接所达到的干涉量,应做试片检查,其方法与普通铆钉干涉配合铆接检查方法相同。
四、干涉铆接的要领和注意事项
干涉铆接的要领和注意事项如下:
(1)制孔时注意保证垂直度、精度和孔壁光滑并用孔量规检验;
(2)锪窝为保证窝的尺寸,要使用带限制器的锪窝工具,并用窝的量规检验;
(3)铆卡及铆枪必须按文件规定选用,以保证达到预定的干涉量要求;
(4)对于冷冻铆钉,取出后必须在规定的时间内铆接;
(5)铆接之前应做试片,试片及试验方法按有关文件规定;
(6)冠头铆钉铆后冠头的顶面仍允许有不高于0.2mm 的凸起,能见到一个圆圈;
(7)需更换不合格的铆钉时,必须加大一级排除。

