教学时数: 2 学 时
课 题: 钳工的常用设备
教学目标:
钳工初步认识,掌握常用设备的操作原理
教学重点:
1.钳工常用设备
2.台虎钳、砂轮机的几点注意事项
教学难点:
台虎钳、钻床的工作原理
教学方法:
讲授法
教 具:
钳台、台虎钳、砂轮机、挂图
教学内容及步骤:
〈复习提问〉
机械工种分为哪几类?
〈引入新课〉
由钳工工种的特点引入
〈讲授新课〉
§1.1钳工常用设备
钳台
钳台的用途:
钳台也称钳工台或钳桌,用木材或钢材制成,其式样可以根据要求和条件决定,主要作用是安装台虎钳。钳台长、宽、高尺寸的确定钳台台面一般是长方形,
长、宽尺寸由工作需要决定,高度一钳台般以800mm~900mm为宜以便安装上台虎钳后,让钳口的高度与一般操作者的手肘平齐,使操作方便省力。
1.台虎钳的用途、规格类型:
a、用途:台虎钳是专门夹持工件的,
b、规格:台虎钳的规格是指钳口的宽度,常用的有100mm, 125mm,150mm等
![5UFZQ7EZ@AG(G}YQ)Z%(R]J.png](https://p.ananas.chaoxing.com/star3/origin/0b5a6311d3a82fc05f388e9ee4a5d39b.png)
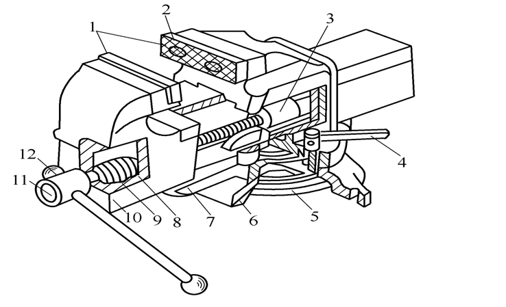
图1-2 台虎钳
1—钳口;2—螺钉;3—螺母;4、12—手柄;5—夹紧盘;6—转盘座;7—固定钳身;8—挡圈;9—弹簧;10—活动钳身;11—丝杆二、 台虎钳 c、类型:类型有固定式和回转式两种
2、回转式台虎钳的工作原理:
回转式台虎钳的钳身可以相对于底座回转(详细讲解书图1-2a),能满足不同方位的加工需要,使用方便、应用广泛。
使用台虎钳的注意事项:
(1)、夹紧工件时松紧要适当,只能用手力拧紧,而不能借用助力工具加力,一是防止丝杆与螺母及钳身受损坏,二是防止夹坏工件表面。
(2)、强力作业时,力的方向应朝固定钳身,以免增加活动钳身和丝杆、螺母的负载,影响其使用寿命。
(3)、不能在活动钳身的光滑平面上敲击作业,以防止破坏它与固定钳身的配合性。
(4)、对丝杆、螺母等活动表面,应经常清洁、润滑,以防止生锈。砂轮机砂轮机的用途:磨削各种刀具或工具
![S[L7J`8)IQO]HYIT`HUP3PH.png](https://p.ananas.chaoxing.com/star3/origin/f7a1ede9e69b7152ac9ff72402ea89ee.png)
砂轮机使用时的注意事项:(强调)
砂轮机的旋转方向要正确;
b、砂轮起动后,应等砂轮旋转平稳后再开始磨削,若发现砂轮跳动明显,应及时停机休整;
c、砂轮机的搁架与砂轮之间的距离应保持在3mm以内,以防止磨削件轧人,造成事故;
d、磨削过程中,操作者应站在砂轮的侧面或斜对面,而不要站在正对面。
钻床
介绍钻床的用途:钻床是加工孔的设备;
钳工常用钻床的种类:
(1)、台式钻床:
![5X]Z1BLX~RSXGOL]V]KW2$H.png](https://p.ananas.chaoxing.com/star3/origin/0219df01de1a9e09bab6c0a48185f2f0.png)
1—底座面;2—锁紧螺钉;3—工作台;4—头架;5—电动机;6—手柄;7—螺钉;8—保险环;9—立柱;10—进给手柄;11—锁紧手柄
介绍台式钻床的规格:
台式钻床是一种小型钻床,一般用来钻直径为13mm以下的孔,台式钻床的规格是指所钻孔的最大直径,常用的有6mm,12mm等几种规格。常用台式钻床的工作原理(讲解书图1-4)
台式钻床的特点:
这种钻床具有很大的灵活性,能适应各种情况的钻孔需要,但是由于它的最低转速较高(一般不低于400 r/min)不适于锪孔、铰孔。
(2)、立式钻床:

a、介绍立式钻床的规格:
立式钻床一般用来钻中小型工件上的孔,其规格有25mm、35mm、40mm,50mm等几种规格。
b、立式钻床的工作原理(讲解书图1-5)
c、立式钻床的优点:
立式钻床的结构比较完善,功率较大,又可以实现机动进给,因此可以获得较高的生产效率和加工精度。另外,它的主轴转速和机动进给量都有较大的变动范围,因而可以适应于不同材料的加工和进行钻孔、扩孔、锪孔、铰孔及攻螺纹等多种工作。
(3)、摇臂钻床:

a、摇臂钻床用于大工件及多孔工件的钻孔,除了钻孔外还能扩孔、锪平面、锪孔、铰孔、镗孔、套切大圆孔和攻螺纹等
b、介绍摇臂钻床的结构
〈巩固练习〉
让学生再看一遍所讲的内容
〈课堂小结〉
钳工的常用设备及用途;
台虎钳、砂轮机的几点注意事项。
〈作业布置〉
1.课堂作业:
2.书P6 1-2、1-3
3.课后作业:
4.书P6 1-1
〈预习思考〉
1.钻床分为哪几类、其规格是依据什么定的?
2.说说几种钻床的特点
〈教 后 感〉

