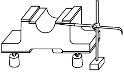
活动一 划线
-
1 学习任务
-
2 教学视频
-
3 微课
-
4 课件
-
5 教材
-
6 章节测验
上一节
下一节

思政目标:划线是保证加工效率和加工精度的关键。需要学生不断地练习并总结经验,需要培养学生吃苦耐劳的劳模精神和精益求精的工匠精神。
学习重点:1.划线的概念;
2.熟悉划线的类型和特点;
3.掌握划线的作用
学习难点:1.划线的类型;
2.划线的作用。
学习方法:教学视频学习、微课学习、章节自测、划线实践训练。
学习用具:多媒体教学仪、划线所需工量具、参考资料等。



