实名认证
上一节
下一节
实名认证下可以进行实名认证、人脸采集和学习监控。

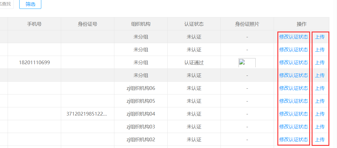
①实名认证
进入实名认证,可上传认证照片,并修改认证状态为通过或不通过。

②人脸采集
对于成员对象可发送采集通知、上传人脸信息,对于已采集照片的成员可重新上传或删除已上传的照片。

③学习监控
进入学习监控,可点击课程进行监控,跳转界面后选择不同的班级进行监控。


