2.3育苗机械
林业苗圃由于面积比较小,作业集中,地势平坦等有利于采用机械的条件,育苗作业的机械化程度在营林作业中是比较高的。
其中的施肥、整地、作床、播种、追肥、浇水、防治病虫害、切根、起苗、装卸和运输等作业都在不同程度上实现了机械化。
过去苗圃作业所用的机械多是借用农业机械或改装的农业机械,且大部分是单项作业机械。
随着林业机械研制工作的发展,近来根据苗圃育苗的技术特点相继研究和制造了各种苗圃专用的机械。
2.3.1 林业播种机
一、播种机的技术要求
林业播种机的技术要求可归纳为下列几项:
1)播种机应能播种大、中、小粒的、流动性和非流动性的以及带翅的种子。排种装置必须能适应未经处理的干燥种子和经过沙藏、水浸等处理的种子。在播小粒种子时还必须考虑到混沙和混肥的问题。
2)播种机必须能按条播和穴播等不同方法进行播种。苗行必须保持直线状,在以后的中耕除草和起苗的作业中能够使用机械。
3)种子在苗行内的分布必须均匀,播种量保持不变。
4)排种装置不许损伤种子,能够根据要求调节播种量。
5)种子的覆土深度能够根据林业技术要求进行调节,而且保持均一。
6)应有覆沙部分
二、林业常用的播种方法
苗圃常用的播种方法有:条播、点播和撒播和精密播种。可根据树种及农林业技术要求采用不同的播种方法。
1、条播:将种子按要求的行距、播量和播深成条的播入土壤中,然后进行覆土镇压的方式。种子排出的形式为均匀的种子流。适用于中、小种子。条播的优点是苗木有一定的行间距,便于机械化抚育管理,起苗操作比较方便,所以是应用最广泛的播种方法。适用于条播的播种机称为条播机。
2、点播(穴播):在播种行内数粒种子按一定株距集中在一个穴内的播种方法称为点播。一般用于大粒种子的播种,具有条播的优点,但产量较低。
3、撒播:将种子均匀的撒于圃地。用于撒播极小粒种子。如:杨、柳、桉树等。主要优点是苗木产量较高,但不便于田间管理。
4、精密播种:按精确的粒数、间距、行距、播深将种子播入土壤的方式。是点播的高级形式。
三、播种机的类型
1、按播种方法的不同可以分为点播机、条播机和撒播机。目前苗圃多用条播机。
2、按与拖拉机挂结方式可分为悬挂式和牵引式。林业苗圃因播种地块一般都比较小,故多用悬挂式。
3、按配套动力可分为人力式、畜力式和机动式。根据苗圃规模不同上述三种类型目前都有应用。
4、按排种原理可分为机械式、气力式和离心式。林业苗圃播种机多为机械式。
5、按所能完成的作用内容可分为单项作业和多项作业播种机。
四、播种机的类型和一般构造
根据播种机与拖拉机间联接方法的不同可以将播种机分为:拖拉机牵引式、拖拉机悬挂式和自走式三种。
拖拉机悬挂式与自走式、牵引式相比有许多优点。同样工作幅的悬挂式播种机的重量约为牵引式播种机的一半左右,它结构紧凑,尺寸小,机动灵活性大,不需要很大的回转地带。根据播种方法则可分为条播机、撒播机和精密播种机等。
随着精密播种技术的发展,近年来出现了推式精密少量播种机,其结构简单,操作方便,性能可靠。具有节约良种、提高生产率和苗木质量,降低育苗生产成本等特点。播种均匀,可节约良种20~40%,当年就可收回成本,是理想的中小型苗圃播种机具。
2.3.2 起苗机
起苗作业包括:将生长有苗木的土壤切开,使土壤松碎,将苗木拔出,抖掉根上的土壤,将苗木捆成束,装入箱中等工序,也可以不捆束,将苗木直接装入箱中或袋中。
根据起苗机完成上述工序的多少,可以分成简单起苗机和复式起苗机两类。简单起苗机只完成挖土和松土两种工序,拔苗、抖土、捆苗和装箱等工序由人工来进行。复式起苗机除挖土和松土以外还完成其他后续工序。
(1)起苗机的分类:
1)根据起苗机完成上述工序的多少,可以分成简单起苗机和复式起苗机两类。
2)根据作业方式分:床作式和垄作式起苗机。
3)根据与拖拉机挂结方式分:悬挂式和牵引式起苗机。
(2)林业对起苗机的技术要求
1)挖苗深度和宽度应满足根系长度和数量的要求(一般播种苗起苗深度18~25 cm,插条苗更深一些);
2)挖苗深度要稳定一致;
3)起苗后根部土壤要松碎,以便拔苗;
4)不得损伤苗木,根部无撕裂现象。
(3)起苗机的一般组成
1)简单式起苗机主要由挖苗铲、机架、悬挂架等组成。
2)复式起苗机除了上述结构外还有碎土装置,采用高度调节的应设限深轮。

BBM-1联合起苗机
丹麦Egedal Maskinfabrik A/S 公司研制的Type B.O.T 联合起苗机。该起苗机是由起苗刀、限深轮、链式输送机、分选台、液压振动器、液压升降机构、工作平台和露天工作室等组成。该起苗机适合起幼苗和小植株,工作效率高,功耗低。

B.O.T 联合起苗机
2.3.5 植保机械
病虫害给林业生产造成重大损失。我国每年因松毛虫的危害损失木材达数百万立方米。受害严重的松树林,往往成片枯死。由此可见,加强病虫害防治对林业生产至关重要。
防治林木病虫害可以采取植物检疫、营林技术和选育抗病虫害树种等措施,同时进行化学、物理、生物防治以及综合防治。目前,化学防治和生物防治发展迅速,已成为当前防治森林病虫害的重要手段。
化学防治法所用的机械种类很多。
按施药方法分有:喷雾机、喷粉机、弥雾机、喷烟机等。
按动力分为手动和机动两大类。
前者包括压缩式、背负式和单管式手动喷雾器以及手动喷粉器;
后者包括背负式弥雾喷粉机,担架式喷雾机、喷粉机、拖拉机悬挂式、牵引式喷雾机以及手扶拖拉机配套的喷雾机、弥雾喷粉机等。
一、 喷雾机
喷雾机是将药液提高到一定压力通过喷头喷出,形成细小雾滴,喷洒在受害的树木或苗木上,它的优点是药液的附着性好、持久、受气候影响小;缺点是用水量大。
用于林业上则对喷雾机有以下要求:
(1)喷射部件耗药经济、雾化良好,雾滴大小合适。雾滴小则用药省,喷洒均匀,易于附着和渗入树冠。但雾滴太小容易产生飘移。当必须防止邻近施药区地块有害物的沉降时,飘移是应特别加以考虑的问题。
(2)要有一定的射程。特别对高大乔木则要求射程远和较强的穿透能力。
(3)雾滴分布均匀。在喷幅范围内要求药液分布均匀,不应过稀或过密。
(4)雾滴浓度一致。雾滴浓度应不因贮液箱中药液量的多少而改变。
(5)与药液接触的零部件要有良好的耐腐蚀和耐磨损的性能。
(6)压液系统的工作压力超过5kgf/cm2时,应有安全阀或调压阀;工作压力超过2 kgf/cm2时应有压力指示表。液箱容积超过200L时应有相应的吸液设备。
(7)结构简单,机体轻便,通过性好,功效高。
随着科技的发展出现了果园风送式喷雾机,又称果园弥雾机。
它利用轴流风机产生的高速气流将置于沿风机径向扇形出风口处的高压喷头喷出的雾滴进一步破碎,并向两侧吹送至目标物。

果园风送式喷雾机结构简图
二、喷烟机
喷烟机是以施放烟剂杀虫灭病的新型高效药械,它适用于森林、果园及仓库的病虫害防治,也可用于环境卫生、消毒及战备。

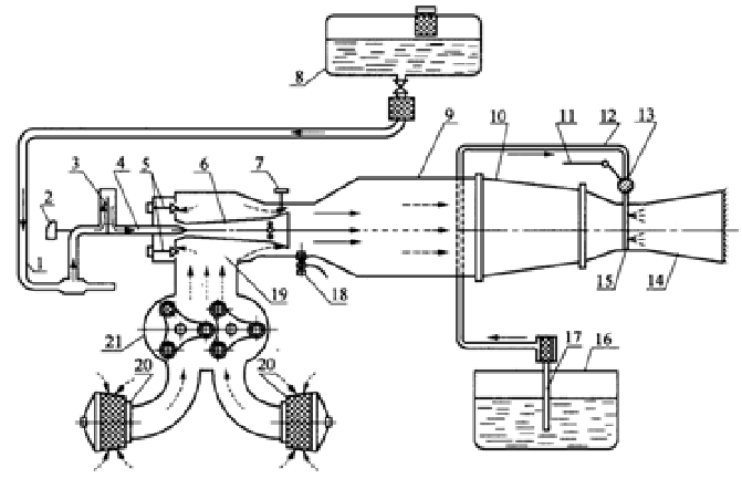
AG-UD-2型喷烟机
1、汽油管路 2、油量控制阀 3、油量补偿器 4、汽油喷嘴 5、温度控制阀 6、燃烧扩散器
7、螺钉8、汽油箱 9、燃烧室 10、导火索 11、控制杆 12、药液导管 13、流量控制阀
14、喷口 15、喷嘴 16、药液箱 17、药液导管 18、火花塞 19、进气通道
20、空气滤清器 21、空气压缩机
空气经过滤清器20进入空气压缩机21,压缩后进入进气通道19;汽油箱8内的汽油经过管路1并在油量控制阀2和油量补偿器3的作用下,从燃烧扩散器6喷出;从燃烧扩散器6喷出的汽油与通过进气通道19来的空气混合,通过火花塞18的作用,在燃烧室9内燃烧形成1000℃的高温混合气;
高温混合气经过导火管10吹向喷嘴15,到达喷嘴出口14的混合气温度一般为380~580℃,速度为250~300m/s。
由于在喷嘴处的气流速度很高,故此处的压力很低,药液箱16内的药液在压力差的作用下,经过药液导管17和12及流量控制阀13,从喷嘴15喷出,喷出的药液与高速运动的高温混合气相遇,被蒸发成细小的微粒,最后从喷口14喷出。
该机的工作幅宽50~100m,喷射高度为7~10m,作业效率为30~40m2/h。

