-
1 章节内容
-
2 讲解视频
11.4连续式带压机
1、概述
目前,投入运行的连续式热压机主要有三种型式,即连续式带压机、连续式辊压机和连续式挤压机,其中以连续式带压机的应用较为广泛。又分为钢带滚子链型和钢带油膜型压机,应用以前者占绝对优势。

图11-17 连续式带压机
连续式热压机具有以下特点:
(1)简化了生产辅助设备,生产连续化,生产率高。
(2)原材料消耗率低,产品质量好。
(3)生产的板材规格多,板材厚度精确。
(4)节电、省热,综合效益好。
(5)设计、制造难度大,材料品种多、要求高,金属热处理工艺复杂、价格昂贵。
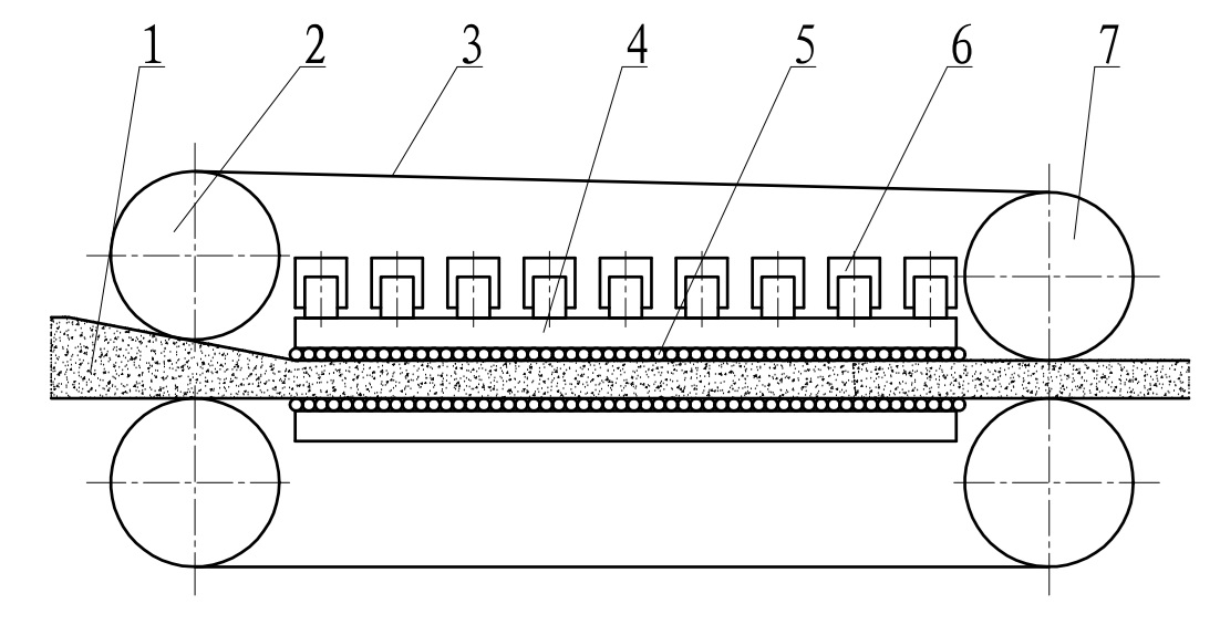
2、连续式热(带)压机的工作原理
板坯1输送至连续式热(带)压机的进料口后,由在张紧辊筒2和驱动辊筒7上运行的环形钢带3带动,进入压机受热加压,板坯在运行过程中完成热压工序。板坯加热的热量来自于上、下热压板4,加压压力来自于机架上的油缸6;通过辊子链5和钢带3将热量和压力传递给板坯。压机的运行速度可在1.3~40m/min的范围内调节,以适应生产多种厚度规格板材的要求;压机产量的高低主要通过热压板长度的增减来调节。

图11-18 连续式带压机的工作原理
1.板坯;2.张紧辊筒;3.钢带;4.热压板;5.辊子链;6.油缸;7.驱动辊筒
3、连续式带压机的结构
连续式带压机主要由机架、钢带驱动装置、热压装置、辊子链、液压系统、供热系统及控制系统等的组成。其中,钢带驱动装置主要包括上、下两条环形的钢带,以及带动钢带运转的驱动辊筒和张紧辊筒组成;热压装置主要包括加压油缸,上、下热压板。

图11-19 CPS型连续式带压机的结构
1.下驱动辊筒;2.上驱动辊筒;3.驱动辊筒框架;4.柔性进料口;5.下钢带;6.下辊子链;7.上钢带;
8.辊子链托辊;9.下加压油缸;10.上加压油缸;11.机架;12.顶梁;13.底梁;14.提升油缸;
15.钢带托辊(调偏辊);16.上辊子链;17.上热压板;18.下热压板;19.张紧辊筒框架;
20.辊子链驱动辊筒;21.张紧油缸;22.张紧辊筒

