-
1 章节内容
-
2 讲解视频
-
3 多层压机工作过程
11.2多层压机
11.2.1多层压机的结构
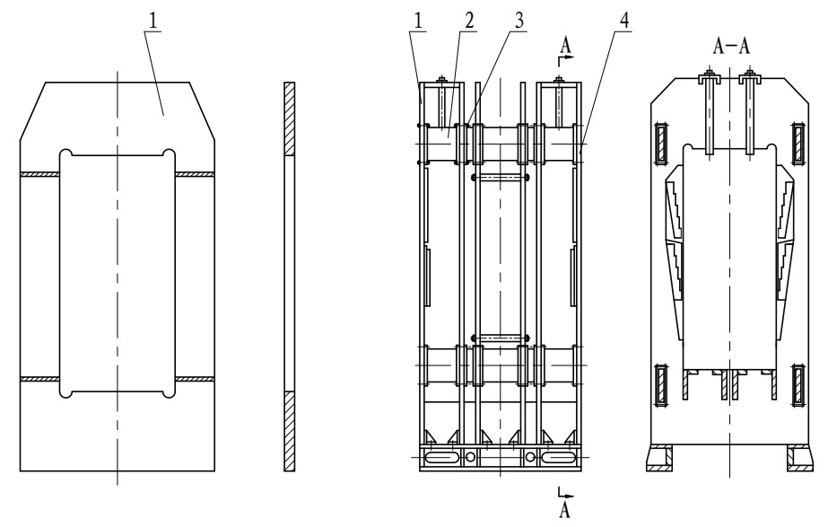
多层热压机的主机主要由机架、上顶板(上横粱)、蒸汽管路、液压缸、平衡机构、下顶板(活动横粱)、热压板、同时闭合机构等部件组成。

图11-2 多层热压机的主机结构
1.机架;2.上顶板;3.热介质管路;4.热压板;5.同时闭合机构;6.下顶板;7.液压缸
11.2.2多层压机的机架
1、概述
机架是热压机的主要部件,支承油缸、热压板等各种构,在工作时承受热压机的总压力。为保证压机在额定压力和温度下长期正常地工作,对机架的基本要求如下:
(1)有足够的强度和刚度,压机受力变形量在许可范围内,保证成品板厚的尺寸精度;应避免机架局部应力集中,防止疲劳损坏。
(2)结构简单合理,具有良好的工艺性,易于加工。
(3)机架的加工和安装精度必须满足整机装配的技术要求和加工制品的工艺要求;便于运输、安装、操作与维修。
(4)机架要有较长的使用寿命;应使机架在工作中受到的热作用小而均衡,以减小热变形量;应有妥善的防腐蚀措施。
2、热压机的机架
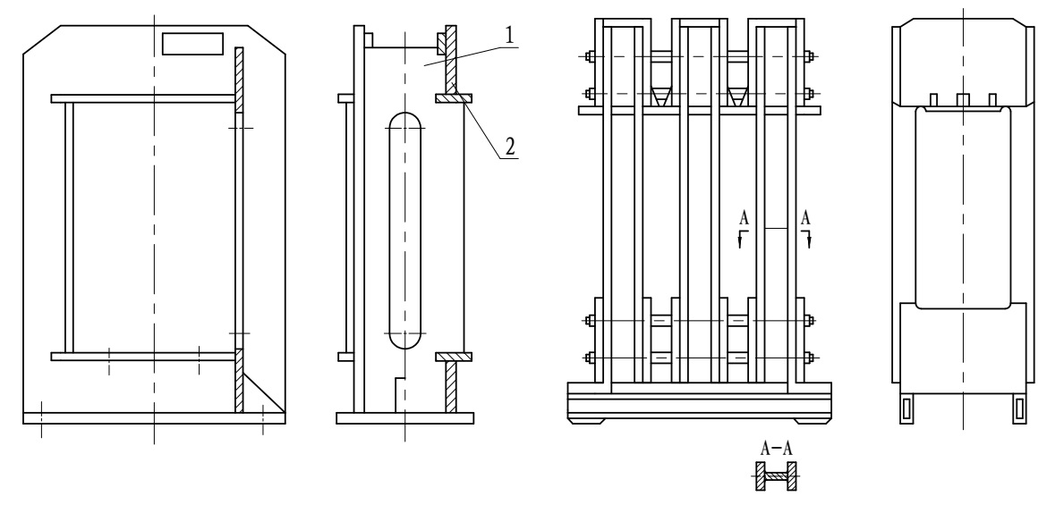
压机的机架有框式、柱式和箱式三种类型,目前各类压机普遍采用的是框式机架。框式机架的主要优点是用钢板加工或焊接成机架的框片,因此易于加工、安装,制造费用比较低。

图11-3 可拆卸机架

图11-4 永久式机架和工字梁机架
11.2.3多层压机的热压板
热压板是热压机的关键部件。由于热压机是通过热压板对板坯进行加热和加压而获得制品的,所以热压板的传热性能、加热的均匀性、压板的热容量、压板本身的机械强度和刚度以及板面的平面度和粗糙度等,对于制品的质量和产量均有很大的影响。
1、热压板的结构及其主要技术要求
热压板一般是由整块钢板加工而成,板内按一定要求加工诸多孔道,并形成各种回路,用于通入热介质对热压板进行加热。

图11-5 热压板的结构
1. 塞堵;2.孔道;3.堵头
在设计和制造热压板时应满足以下技术要求:
(1)具有足够的强度和刚度,能承受因高温引起的热应力;
(2)升温快,温度均匀,热耗低且加热稳定;
(3)热压板的平面度和上下表面有足够的平行度;
(4)热介质的进出口尽量要少,最好是一个进口和一个出口;
(5)板内的孔道应保证热介质流动畅通;
(6)热介质的进出口最好设在压机的背侧。
2、热压板的典型回路
正确设计热压板加热孔道的回路形式,对于提高制品质量和缩短热压周期,提高制品质量都具有重要意义。热介质回路形式合理,板面温差和板间温差就小,所得制品质量就好;否则,板面和板间温差大,造成板材含水率不均,制品易翘曲或需延长热压时间。

图11-6 热压板的典型回路
(a)横向回路与并进流动回路;(b)纵向回路与顺序流动回路;(c)多进出口回路;(d)双层孔道回路
3、板厚控制装置
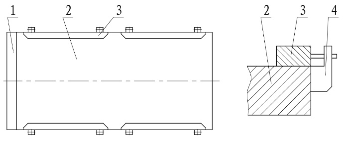
多层或单层压机压制纤维板或刨花板时,用于控制板厚的装置主要采用厚度规。

图11-7 厚度规
1.导向板;2.热压板;3.厚度规;4.支架
11.2.4多层压机的液压系统
1、压机的液压缸
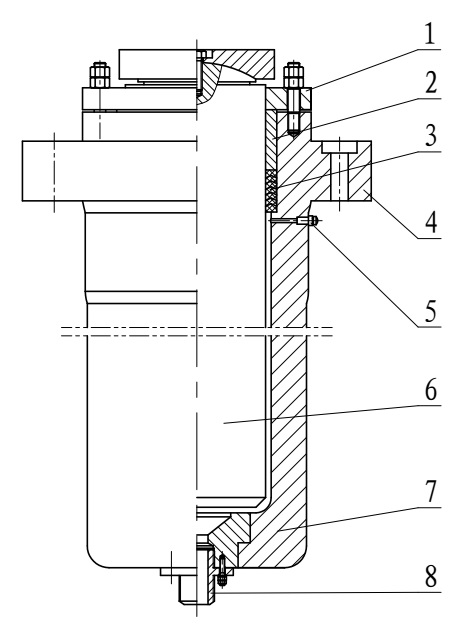
多层热压机多数采用柱塞式液压缸作为加压装置,柱塞缸通常安装在机架的下部,柱塞、下顶板、热压板等的上升和压机的加压依靠缸体内液体压力能转换的动能,而上述部件的下降则依靠自重。

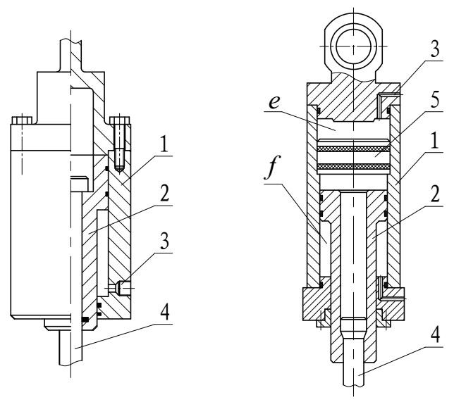
图11-8 压机用柱塞式液压缸的结构
1.压板;2.导向套;3.密封圈;4.缸体法兰;5.排气塞;6.柱塞;7.缸体;8.油管接头
2、液压缸的安装方式
液压缸的安装方式可分为法兰支承、缸底支承和缸与梁铸成一体三种。

图11-9 液压缸的安装
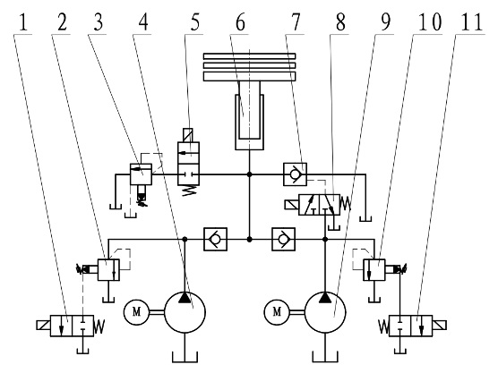
3、压机的液压系统
多层热压机都是上压式的,即液压缸布置在下横梁上,柱塞向上运动。压机的工作循环大致可分为快进、高压闭合、降压、保压与卸压开启等五个过程,对制品的施压主要是在高压闭合至保压期间实现的。
根据热压机对液压系统的各项要求,实际压机的液压系统广泛采用低、高压泵组合或低、高压泵与蓄能罐组合方式来实现其功能要求。
(1)低、高压泵组合液压系统

图11-10 低、高压泵组合液压系统原理简图
1、5、8、11.换向阀;2、10.溢流阀;3.顺序阀;4.低压泵;6.柱塞缸;7.液控单向阀;9.高压泵
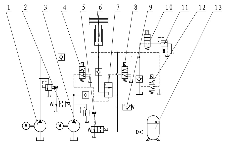
(2)低、高压泵与蓄能罐组合液压系统

图11-11 低、高压泵与蓄能罐组合液压系统原理简图
1.高压泵;2、4、5、7、8、10、12.换向阀;3.低压泵;6.柱塞缸;9.压力继电器;11.顺序阀;13.蓄能罐
11.2.5多层热压机的同时闭合机构
1、同时闭合机构的作用
热压机上设置同时闭合机构的作用如下:
(1)使所有热压板启闭的相对速度降低,且同时合拢与分开,可缩短压机总的启闭时间。
(2)所有热压板上的制品可受到相同的加热加压条件,即热压板与各层的制品同时接触或者脱离。
(3)各层热压板均受向上的拉力,平衡压板的重量,消除上层热压板和制品对下层制品质量的影响,使制品的密度和厚度较均匀。
(4)设置补偿装置,防止机构因产生附加力而过载损坏。
2、杠杆式同时闭合机构的结构
杠杆式同时闭合机构对称地安装在压机的四各角上,由摆杆、顶杆和拉杆等组成。

图11-12 杠杆式同时闭合机构结构简图
1.顶杆;2.摆杆;3.拉杆;4板坯;5.热压板;6、7、10.铰链;8.补偿装置;9.调节装置
3、同时闭合机构的补偿装置
补偿装置的作用是使拉杆具有一定的“伸缩”功能。当热压板升起时,同时闭合装置带着所有热压板一起提升,这时补偿装置需要有“刚性”;而在闭合并压制时,考虑到各种误差,必须使各热压板上的拉杆具有一定的可“伸缩”性,以防止拉杆过载而损坏。
(1)液压缸式补偿装置
液压缸式补偿装置按进油方式可分为单向进油和双向进油的两种形式,均由缸体,空心活塞和拉杆等构成。单向进油补偿装置只能使部分热压板及板坯的质量被补偿。双向进油补偿装置能使各层热压板及板坯的质量全部被补偿。

图11-13 液压缸式补偿装置
(a)单向进油液压缸式补偿装置;(b)双向进油液压缸式补偿装置
1.缸体;2.空心活塞;3.进油口;4.拉杆;5.活塞;e、f.油腔
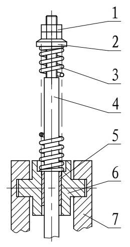
(2)弹簧式补偿装置

图11-14 弹簧式补偿装置
1.螺母;2.垫圈;3.弹簧;4.拉杆;5.导套;6.支座;7.摆杆

