-
1 章节内容
-
2 讲解视频
-
3 热磨机的结构
10.4热磨机的研磨装置
10.4.1概述
研磨装置是热磨机的主体,其作用是将蒸煮软化后的木片在研磨室的磨盘中,使其受压缩、拉伸、剪切、扭转、冲击、摩擦和水解等多次重复作用,最终导致纤维的分离。在保证纤维质量的前提下,对研磨装置的要求为:
(1)有较高的外力作用频率,能够在较短的时间内完成纤维分离。
(2)纤维分离的单位压力可以根据物料的不同进行调整。
(3)磨盘间隙应能精确的控制。
(4)研磨机构应有良好的密封及冷却性能。
(5)要保证主轴与磨盘的运动精度等。
热磨机的研磨装置主要由研磨机构、排料管、传动与控制机构及动力装置(主电机)等构成。

图10-13 研磨装置(热磨机本体)
10.4.2研磨室
热磨机的研磨室主要由磨室体、定磨盘、动磨盘及密封与冷却装置组成。
(1)磨室壳体
磨室壳体由上、下(或前、后)两部分组成,其整体构成一个密封的腔体,热磨机的磨盘就固定安装在腔体中。

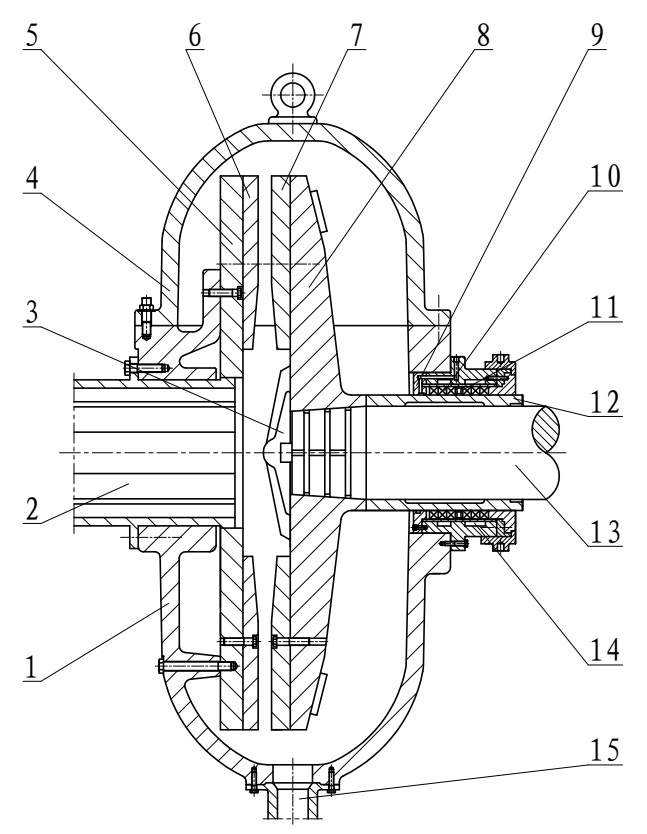
图10-14 剖分式磨室体热磨机的研磨机构
1.磨室体;2.套管;3.进料翼轮;4.磨室体上盖;5.固定磨盘;6.固定磨片;7.转动磨片;8.转动磨盘;
9.前高压密封环;10.盘根;11.后高压密封环;12.轴套;13.主轴;14.冷却水环;15.排污口
(2)磨盘与磨片
磨盘包括固定磨盘和转动磨盘。固定磨盘通过基准面用螺栓紧固于磨室壳体内,且中心孔与套管相配,作为物料进入磨盘间隙的入口。工作中转动磨盘随主轴一起作旋转运动,对物料进行研磨。转动磨盘还可随主轴一起作轴向移动,调整两磨盘之间的间隙。在转动磨盘的中央,装有供料用的翼轮,以利于物料均匀地分送向两磨盘之间的间隙中。
磨片是直接起到研磨作用的工作零件,用螺钉固定在磨盘的端面上。大型热磨机都采用组合式磨片。由于转动磨盘是高速旋转的部件,故要求有磨片较高的动平衡精度。


图10-15 磨片
根据齿形断面的形状,磨片可分为锯齿形和条齿形;根据齿条的排列形式,磨片可分径向放射式、切向放射式和人字式。

图10-16 磨片的结构
磨片是直接分离纤维的零件,由耐磨、耐腐蚀的材料、如9Cr18、4Cr18Ni14、3Cr17NiMo和高铬合金白铁等制成。
(3)密封与冷却装置
以往热磨机磨室体与主轴间隙之间通常采用高压水密封和盘根密封两种方式组合;如今则大多改进为机械式密封。


图10-17 机械式密封装置
1.转动磨盘;2.主轴;3.套轴;4.唇形密封圈;5.研磨室壳体;6.盘根;7.弹簧;8.弹簧座;9.静环;
10.紧定螺钉;11.隔离环;12.进水口;13.动环;14.密封腔;15.销
工作中动环13与静环9之间会形成摩擦,因此动环、静环材料应软、硬搭配。静环属于软环,现在一般采用碳石墨、硅化石墨、碳-碳复合材料等制成;动环属于硬环,一般采用碳化硅、碳化铬等制成。
10.4.3研磨动力及传动部分
1、研磨动力
为提高产量,目前热磨机均趋于大型化,其研磨动力普遍在2000kW以上,常用的48~54英寸热磨机,其配备的电机功率一般为3000~5000kW,最大已达到12000kW(磨盘直径72英寸)。
2、主轴与轴承组
热磨机的主轴在传递扭矩的同时,还要承受研磨工作中所产生的轴向力,而且主轴的结构及其装配是否合理,对设备的性能影响很大。因此,对主轴必须有比较严格的技术要求。
热磨机的主轴除了应满足刚度和强度这一基本要求外,还必须具有较高的运转精度,其径向与轴向振摆应在允许的范围内。
(1)热磨机的主轴结构设计通常需要考虑以下几个问题:
①合理地确定主轴的材料及其热处理;②根据计算结果,适当确定轴的结构尺寸,并尽可能采用标准直径,同时应合理地选择轴承的结构类型;③在允许的范围内尽量缩短主轴长度,特别是悬伸端的长度,或尽可能将传动件靠近轴承处;④主轴的加工与装配质量必须得以保证;⑤设法提高轴承的工作精度。
(2)液压驱动的主轴及轴承组结构

图10-18 液压驱动的热磨机主轴结构
1、10.轴套;2.主轴;3.推力向心轴承;4.轴承壳体;5、6.弹簧;7.导向键;8.加压油缸;9.活塞;
11.推力轴承;12.蜗轮;13.蜗杆;14.双列向心球面轴承
(3)机械驱动的主轴及轴承组结构

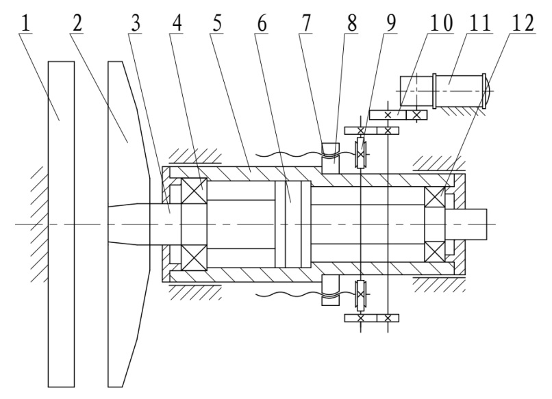
图10-19 机械驱动的热磨机主轴结构
1.磨盘;2.主轴;3.机械密封装置;4.圆柱滚子轴承;5、12.导向键;6、11.主轴壳体;7.液压推力轴承;
8.主轴驱动装置;9.推板;10.齿轮副;13.球面调心滚子轴承
相比于液压加压主轴结构,机械驱动主轴结构缩短了主轴的长度,提高了主轴的刚度,使主轴能够被整体拆装;但主轴的结构复杂性也较高。
3、磨盘加压与间隙调整装置
为了保证热磨机正常工作,必须采用加压装置通过主轴给磨盘施加压力,平衡研磨压力。另外,热磨机磨片间隙的大小直接影响到纤维的形态、质量及研磨功率,因此对磨片间隙也需精确调整。

图10-20 伺服电机驱动的磨盘间隙调整机构原理图
1.固定磨盘 2.转动磨盘;3.主轴;4.前轴承;5.主轴壳体;6.液压推力轴承;7.丝杠螺母副;8.推板;
9.蜗轮蜗杆副;10.齿轮副;11.伺服电机;12.后轴承

