-
1 章节内容
-
2 讲解视频
10.3热磨机的预热蒸煮装置
10.3.1概述
热磨机预热蒸煮装置的作用是对原料进行蒸煮,使其充分软化。经过蒸煮软化的原料,纤维的破坏损伤较小,可获得柔韧的纤维,还可大大降低纤维分离时的动力消耗。目前的热磨机都采用立式预热蒸煮装置。

图10-9 立式预热蒸煮装置
由于原料是用高压蒸汽进行连续处理的,因此预热蒸煮装置的结构特性除了必须与热磨机的产量相适应外,还应满足蒸煮时间等工艺条件的要求,考虑设备的强度、耐腐蚀性及耐磨性等。
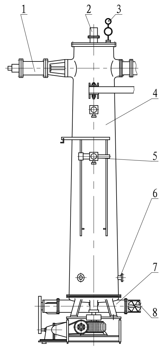
10.3.2预热蒸煮装置的结构
主要由立式蒸煮罐4(预热罐)、止回阀1、料位控制器5、排料机构7等组成。

图10-10 预热蒸煮装置的结构
1.止回阀;2、6.蒸汽管;3.压力表;4.蒸煮罐;5.料位控制器;7.排料机构;8.出料螺旋
(1)预热蒸煮罐与蒸汽管
预热罐由不锈钢制成,罐体为圆筒状,转折处采用大圆角过渡,避免应力集中。预热罐共有四路蒸汽入口,一路设在预热罐的顶部,另外三路设于靠近罐体底部同一水平面的圆周上,互成120度安装,这种方式有利于蒸汽渗入料堆内部,使物料均匀软化,亦可防止物料在罐中板结搭桥。为了调节蒸汽压力及其流量,汽路系统中装有减压阀、截止阀等,罐体上还配有压力表、安全阀等。
(2)防反喷装置
预热罐上部与螺旋进料器内塞管出料口相对应的一侧,安装一个防反喷装置,也称止回阀。它主要是由气缸及活塞杆伸出端所带的锥形塞组成。其作用是当进料螺旋所形成的料塞较松时,靠气缸的气压作用使锥形塞封住内塞管的出料口,防止“反喷”现象的发生。同时,对于螺旋式进料装置,可以利用止回阀在其出料口上施加一定阻力,保证其形成密实的料塞。

图10-11 热磨机的防反喷装置
1.锥形塞;2.活塞杆;3.盘根;4.支座;5.气缸;6.活塞;7.进气管;8.电磁阀
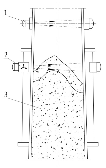
(3)料位控制装置
木片在预热罐内的蒸煮时间由罐内的料位高低来决定。在排料螺旋转速一定的条件下,料位越高、木片在预热罐内停留的时间就越长。为了监测和控制罐内物料的堆积高度,在预热罐设置料位控制装置。
目前广泛应用的料位控制装置是γ射线料位控制器。另外,生产过程中要控制好进料螺旋和出料螺旋的转速,使其与物料蒸煮时间及热磨机的生产率相匹配。这种控制方式可以是手动的,也可以采用自动控制方式。

图10-12 料位探测原理
1.上限料位控制器;2.工艺料位控制器;3.物料

