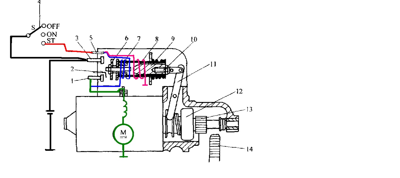
启动机工作原理
-
1 PPT及视频
-
2 教师工作页
-
3 学生工作页
上一节
下一节

请分析它的工作原理
目录

请分析它的工作原理