-
1 导读
-
2 教学视频
-
3 知识小测
滑动轴承的类型及应用

教学目标:
(1)了解轴承的分类与应用,
(2)掌握滑动轴承结构特点及装配要求
一、滑动轴承的类型与应用
如图(7-15)所示为发动机曲轴和连杆的结构示意图。曲轴的连杆轴径与连杆大头、曲轴的主轴径与机体的连接,都是通过滑动轴承来减少转动副之间的摩擦并支撑它们,从而把活塞的直线往复运动转变为曲轴的旋转运动,向外输出功率。
|
图7-15 曲轴与连杆结构示意图 |
(一)滑动轴承的类型
滑动轴承按所受载荷的方向分为径向滑动轴承如图7-16a和推力滑动轴承如图7-16b所示。
|
a) b) 图7-16 滑动轴承受载情况 a)径向滑动轴承 b)推力滑动轴承 1—轴瓦 2—轴径 |
1.径向滑动轴承
径向滑动轴承主要承受径向载荷常用的径向滑动轴承,我国已制订了有关标准,通常可根据工作条件选用。径向滑动轴承主要结构形式有整体式和对开式两大类。
(1) 整体式滑动轴承
如图7-17所示为整体式轴承(JB/T2560—2007),由轴承座1和轴承套(瓦)2等组成。轴承座1和轴承套2采用较紧的配合,一般为H8/s7。轴承座用螺栓与机座联接,顶部设有安装注油杯的螺纹孔,轴套上开有油槽。这种轴承构造简单,成本低,但磨损后无法修整,且装拆不方便,轴颈只能从端部装入。因此,粗重的轴和具有中间轴颈(如内燃机曲轴)的轴就不便或无法安装。所以,整体式轴承常用于低速、轻载的间歇工作机械中,如手动机械、农业机械等。
|
图7-17 整体式轴承 1—轴承座 2—轴套(瓦) |
这类轴承座的标记为:HZ×××轴承座JB/T2560—1991,其中H表示滑动轴承座,Z表示整体轴承座,×××表示轴承内径(mm)。标准规格为HZ020~HZ140。
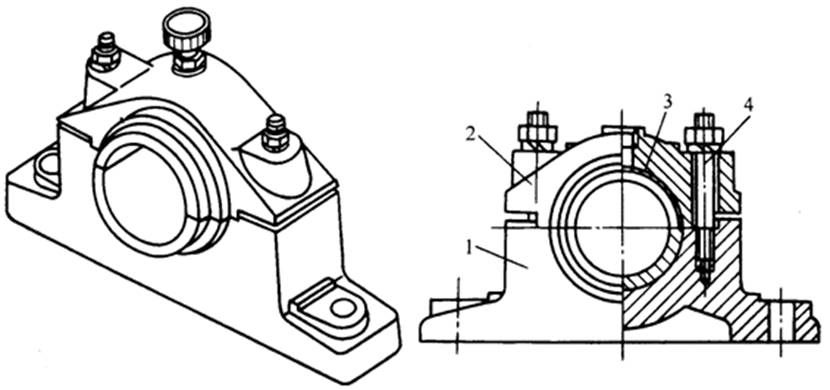
(2) 对开式滑动轴承
如图7-18所示为对开式滑动轴承,由轴承座、轴承盖、剖分的上、下轴瓦和联接螺栓等组成。轴承盖和轴承座的剖分面常制成阶梯状,以便于轴承盖和轴承座对中和防止横向错动。对开式滑动轴承结构较复杂,但装拆时不必从轴端装入或取出。另外,通过适当增减轴瓦剖分面间的调整垫片,修刮轴瓦表面等措施可调节轴颈与轴承之间的间隙。故对开式滑动轴承装拆和维修方便,应用广泛。如汽车发动机中曲轴就采用对开式滑动轴承支承。
|
图7-18 对开式正滑动轴承 1—轴承座 2—轴承盖 3—轴瓦 4—螺栓 |
对开式二(或四)螺柱正滑动轴承(JB/T2561—1991或JB/T2562—1991)轴瓦与座孔的配合为H8/m7,轴承座标记为:H2×××轴承座JB/T2561—1991(或H4×××),其中H表示滑动轴承座,2(或4)表示螺栓数,×××表示轴承内径(mm)。标准规格为H2030~H2160(H4050~H4220)。
当轴承上的总载荷方向与垂直剖分面的轴承中心线的夹角超过35˚时,如图7-19所示的汽车柴油机中的连杆大头就采用了图7-20所示的对开式四螺柱斜滑动轴承(JB/T2563—2007)。这类轴承的剖分面与水平面成45˚角,其特点与对开式正滑动轴承相同。标记为:HX×××轴承座JB/T2563—2007,其中H表示滑动轴承座,X表示斜座,×××表示轴承内径(mm)。标准规格为HX050~HX220。
还有一些特殊结构的轴承,如自动调位轴承、锥形表面可调间隙轴承等,使用时可参阅有关书籍。
|
图7-19 汽车柴油机斜切口连杆大头 |
|
图7-20 对开式斜滑动轴承 |
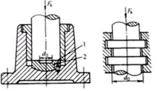
2.推力滑动轴承
推力滑动轴承用以承受轴向载荷,其常见的结构形式如图7-21a所示。轴颈端面1与止推轴瓦2组成摩擦副。由于工作面上相对滑动速度不等,越靠近中心处相对滑动速度越小,磨损越轻;越靠近边缘处相对滑动速度越大,磨损越严重,会造成工作面上压强分布不均。为避免工作面上压强严重不均,相对滑动端面通常采用环状端面。当载荷较大时,可采用多环轴颈,如图7-21b所示,这种结构的轴承能承受双向轴向载荷。
|
a) b) c) 图7-21 推力滑动轴承 a)空心式 b)多环式 c)推力滑动轴承 1—轴颈 2—轴瓦 |
上述结构形式的推力轴承由于轴颈端面与止推轴瓦之间为平行平面的相对滑动,不易形成流体动力润滑,故轴承通常处在边界润滑状态下工作,多用于低速轻载机械。推力滑动轴承的基本尺寸可根据轴颈的直径利用经验公式计算确定。
(二)轴瓦结构
轴瓦是轴承中与轴颈直接接触的重要元件,其结构对轴承性能有很大的影响。为使轴瓦既有一定的强度,又具有良好的减摩性,同时节省贵重材料,减低成本,常在轴瓦表面浇铸或扎制一层减摩性好的材料(如轴承合金)称为轴承衬。为使轴承衬可靠地贴合在轴瓦表面上,可采用如图7-22所示的结合形式(图中涂黑层表示轴承衬)。
轴瓦结构也分为整体式和对开式两种。整体式轴瓦是一圆柱形轴套,结构如图7-23所示,又分不带挡边和带档边两种结构。其基本尺寸、公差参见GB/T 3162-1991和GB/T 7308-2008。对开式轴承的轴瓦由上、下两半组成,如图7-24所示。两端的凸肩用于防止轴瓦轴向窜动,也可用螺钉或销钉定位。
|
a) b) c) d) 图7-22 轴瓦与轴承衬的结合形式 |
|
a) b) 图7-23 轴套的结构形式 a)一般轴套 b)带挡边轴套 |
|
图7-24 径向滑动轴承轴瓦 |
为了将润滑油引入轴承,并布满于工作表面,轴瓦上开有供油孔、油沟油槽;供油孔和油沟应开在轴瓦的非承载区,否则会降低油膜承载能力,如图7-25所示。油沟的轴向长度一般取轴瓦宽度的80%左右,不能开通,以免润滑油自油沟端部大量泄漏。常见油沟形式如图7-26所示。
|
图7-25 油沟布置对油膜承载能力的影响 a) 正确 b) 错误 |
|
a) b) c) 图7-26 油孔和油沟 a)轴向 b)周向 c)斜向 |
对一些重型机器的轴承轴瓦,其上常开设油室。它可使润滑空间增大,并有贮油和保证润滑油稳定供应的作用,如图7-27所示。
|
图7-27 油室 |
(三)滑动轴承的失效形式及材料
1. 主要失效形式
滑动轴承的失效通常由多种原因引起,失效形式也有多种,有时几种失效形式并存,相互影响。所以,很难把各种失效形式截然分开。最常见的失效形式是轴瓦磨损、胶合(烧瓦)、疲劳破坏和由于制造工艺原因而引起的轴承衬脱落。其中最主要的是轴瓦磨损和胶合。
2.轴承材料的性能要求
在滑动轴承中,轴承座和盖通常选用铸铁制造。所以,轴承材料主要是指轴瓦和轴承衬材料。根据轴承的主要失效形式,对轴承材料的主要要求是:1)良好的减摩性、耐擦性和抗胶合性;2)良好的跑合性、顺应性、嵌藏性和塑性;3)足够的抗压强度和疲劳强度;4)良好的导热性、加工工艺性、热彭胀系数低,耐腐蚀等。
应该指出的是,对轴承材料性能的上述要求是全面的,有些性能彼此有联系,有些性能则相互矛盾;任何一种材料很难全面满足这些要求。因此,选用轴承材料时,应根据轴承的具体工作条件,有侧重地选用较合适的材料。
3.常用轴承材料
常用轴承材料有:轴承合金、青铜、铸铁、多孔质金属材料及非金属材料。
(1)轴承合金(可称巴氏合金)轴承合金有锡锑轴承合金和铅锑轴承合金两类。它们各以较软的锡或铅作基体,悬浮锑锡及铜锡硬晶粒,软基体具有良好的跑合性、顺应性和嵌藏性,硬晶粒起耐磨作用。轴承合金由于其特有的金属组织,具备了作轴承材料的优良性质,并且易浇铸,但由于其机械强度较低、价格高,故通常作为轴承衬材料,浇铸在青铜、钢或铸铁轴瓦上,如图7-23所示。
锡基轴承合金的热膨胀系数低、摩擦系数小、耐腐蚀、易跑合、抗胶合能力强,常用于高速、重载机械。铅基轴承合金较脆,不宜承受较大载荷,常用于中速、中载机械。
(2)青铜 在一般机械中,有50%的滑动轴承采用青铜材料。青铜主要有锡青铜、铅青铜和铝青铜等。
锡青铜和铅青铜既有较好的减摩性和耐磨性,又有足够的强度,且熔点高,但跑合性较差。适用于重载、中速机械。
铝青铜的强度和硬度都较高,但抗胶合能力差。适用于重载、低速机械。
(3)铸铁 常用的铸铁材料有灰铸铁和减摩铸铁。由于铸铁材料塑性差,跑合性差,故只在低速、轻载或不重要的场合采用。
(4)其它材料 除上述常用的三种金属材料外,轴承材料还可采用多孔质金属材料和非金属材料。
用多孔质金属材料制成的轴承,又称含油轴承。由于这种材料具有多孔组织,轴承在工作前经润滑油浸泡,其材料孔隙中吸存了润滑油。工作时,由于轴颈转动的抽吸作用及热膨胀作用,使孔隙中贮存的润滑油流出而润滑轴承。含油轴承在一定的使用期限内可不必加油,可自行润滑。这种轴承主要用于轻载、低速和不易注油的场合。
非金属轴承材料中应用最多的是各种塑料、尼龙、夹布胶木等。塑料材料具有摩擦系数低、抗压强度高、耐磨性好等优点,但导热能力差,易变形。因此,应注意冷却。
常用轴承材料的性能及其比较见表7-12。
表7-12 常用轴瓦材料、性能及用途
| 轴瓦材料 | 许用值 | 最高工作温度 t/ 。C | 最小轴颈硬度HBW | 性能比较 | 特性及用途举例 | ||||||
| [p]/ MPa | [v]/ (m.s-1) | [pv]/ (MPa.m.s-1) | 抗胶合性 | 顺嵌应藏性性 | 疲劳强度 | 耐蚀性 | |||||
| 锡锑轴承合金 | ZSnSb11Cu6 | 平稳载荷 | 150 | 150 | 1 | 1 | 5 | 1 | 用于高速、重载下工作的重要轴承。变载荷下易疲劳,价高 | ||
| 25 | 80 | 20 | |||||||||
| 冲击载荷 | |||||||||||
| 20 | 60 | 15 | |||||||||
| 铅锑轴承合金 | ZPbSb16Sn16Cu2
| 15 | 12 | 10 | 150 | 150 | 1 | 1 | 5 | 3 | 用于中速、中等载荷的轴承,不宜受显著的冲击载荷 |
| 锡青铜 | ZCuSn10P1 | 15 | 10 | 15 | 280 | 300~400 | 5 | 5 | 1 | 2 | 用于中速、重载及受变载荷的轴承 |
| ZCuSn5Pb5Zn5 | 5 | 3 | 10 | 用于中速、中等载荷的轴承 | |||||||
| 铅青铜 | ZCuPb30 | 21~28 | 12 | 30 | 250~280 | 300 | 3 | 4 | 2 | 4 | 用于高速、重载轴承,能承受变载荷及冲击载荷;用于低速、重载轴承。润滑要充分 |
| 铝青铜 | ZCuA110Fe3 | 15 | 4 | 12 | 280 | 280 | 5 | 5 | 2 | 5 | |
| 灰铸铁 | HT150、HT200、HT250 | 0.1~6 | 0.75~3 | 0.3~4.5 | 150 | 200~ 250 | 4 | 5 | 1 | 1 | 用于低速、轻载的不重要轴承,价格低 |
| 粉末冶金材料 | 多孔铁 | 21 | 7.6 | 1.8 | 125 | — | — | — | — | — | 常用于载荷平稳、低速及加油不方便处,轴颈最好淬火、径向间隙为轴径的0.15%~0.2% |
| 多孔青铜 | 14 | 4 | 1.6 | 125 | — | — | — | — | — | ||
| 非金属轴承材料 | 酚醛塑料 | 40 | 12 | 0.5 | 110 | — | — | — | — | — | 抗胶合性好,强度高,导热性差,可用水润滑,易膨胀,间隙应大一些 |
| 聚四氟乙烯 | 3.5 | 0.25 | 0.035 | 280 | — | — | — | — | — | 摩擦因数低,自润滑性好,耐腐蚀性好 | |
| 碳-石墨 | 4 | 12 | 0.5 | 420 | — | — | — | — | — | 用于要求清洁工作的机器中。有自润滑性,耐化学腐蚀 | |
| 橡胶 | 0.35 | 20 | 80 | — | — | — | — | — | 用于与水、泥浆接触的轴承,能隔振,降低噪声,减小动载,补偿误差,导热性差 | ||
| 木材 | 14 | 10 | 0.4 | 90 | — | — | — | — | — | 有自润滑性,耐油、酸及其它化学药品 | |

















