-
1 导读
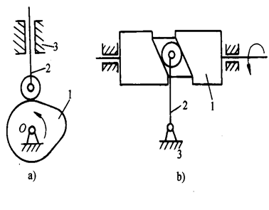
-
2 教学视频
-
3 知识小测
凸轮机构类型及应用

学习目标:
认识凸轮机构的分类、命名方式;
了解凸轮机构在工程上的应用。
一、凸轮传动基础知识
如图4-2所示,凸轮传动是通过凸轮与从动件之间的接触来传递运动和动力的,是一种常用的高副机构,只要做出适当的凸轮轮廓,就可以使从动件得到预定的复杂运动规律,设计简单。因此,在各种机械设备中很常用,尤其在汽车及其他自动化、半自动化机器的控制机构中应用更广。


图4-2 凸轮机构 图4-3 发动机气门凸轮传动机构
1-凸轮 2-从动件 1—凸轮 2—弹簧 3—导套 4—气门阀杆
1.凸轮传动机构的组成和应用
图4-3所示是汽车发动机气门凸轮传动机构。当凸轮1以等角速度回转,径向尺寸不同的凸轮轮廓与气门阀杆4的平底接触时,驱动气门阀杆4产生上、下往复运动,从而实现气门按预定的运动规律开启或闭合的控制。凸轮轮廓的形状决定了阀门开启或闭合的时刻、开度的大小和开启的持续时间的规律。不同的车型采用不同的凸轮轮廓实现气门控制。
图4-4为汽车快怠速机构,图中节气门联动譬5拨动快怠速凸轮4顺时针方向转动,并带动联动杆3和阻风门摆臂1使阻风门2打开。

图4-4 汽车快怠速机构(底盘) 图4-5 自动车床中的凸轮组
1—阻风门摆臂 2—阻风门 3—联动杆 1—凸轮轴 2—复位弹簧
4—快怠速凸轮 5—节气门联动譬 6—节气门
图4-5所示为自动车床中的凸轮组。它由两个凸轮机构组成,用于控制前、后刀架的进、退和停歇的动作,从而实现自动车削的目的。
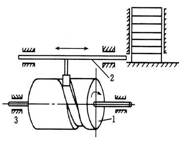
图4-6为自动送料机构,当圆柱凸轮1等速转动时,其上的沟槽经滚子迫使从动件2按一定运动规律作往复移动,从动件即从储料器中推出坯料,送到加工位置。

图4-6送料机构 图4-7 凸轮机构的组成
1—凸轮 2-从动件 3—机架 a)平面凸轮机构 b)空间凸轮机构
1—凸轮 2 —从动件 3—机架
由以上例子可见:凸轮传动机构是由凸轮、从动件和机架三个基本构件组成的高副机构(图4-7),它将凸轮的转动(或移动)变换成从动件的移动或摆动,并在其运动转换中,实现从动件不同的运动规律,完成力的传递。
与平面连杆传动机构相比,凸轮传动机构的特点是:结构简单、紧凑,工作可靠,容易设计;但是,由于从动件与凸轮间为高副接触,易磨损。因而凸轮机构只宜用于传力不大的控制机构和调节机构中。上述汽车内燃机气门凸轮传动机构就是利用凸轮轮廓曲线控制气门开闭时间。
2.凸轮传动机构的类型
凸轮传动机构的类型很多,可按如下方法分类。
(1) 按凸轮的形状和运动分类
1)盘形回转凸轮 这种凸轮是能绕固定轴线转动并具有变化向径的盘形零件,如图4-2中的构件1。这是凸轮的最基本形式。
2)平板移动凸轮 这种凸轮是相对机架作直线运动的平板状零件,如图4-8中的构件1。可看作是当转动中心位于无穷远时的盘形回转凸轮演化而成。

图4-8 平板移动凸轮机构 图4-9 从动件的形状
1—凸轮 2 —从动件 3—机架 a)尖顶从动件 b)滚子从动件 c)平底从动件
3)圆柱回转凸轮 这种凸轮是轮廓曲线位于圆柱体上并绕其轴线旋转的凸轮。可看作是平板移动凸轮卷绕在圆柱体上演化而成,如图4-6中的构件1 。
(2)按从动件的形状分类
1)尖顶从动件 以尖顶与凸轮轮廓接触的从动件,如图4-9a 所示。这种从动件结构最简单,其尖顶能与任意复杂的凸轮轮廓保持接触,以实现从动件的任意运动规律。但尖顶易磨损,仅适用于作用力很小的低速凸轮传动。
2)滚子从动件 以铰接的滚子与凸轮轮廓接触的从动件,如图4-9b)所示。这种从动件因其上滚子与凸轮轮廓之间为滚动摩擦,磨损较小,可承受较大的载荷,故应用最普遍。缺点是滚子不一定能与凸轮上凹陷的轮廓很好地接触,从而影响实现预期的运动规律。
3)平底从动件 以平底平面与凸轮轮廓接触的从动件,如图4-9c)所示。若不考虑摩擦,凸轮对从动件的作用力始终垂直于平底,传动效率高,且平底与凸轮轮廓间易形成油膜,利于润滑,故常用于高速凸轮传动;但平底从动件不能与具有内凹或凹槽轮廓的凸轮很好地接触,影响预期的运动规律的实现。
另外,还可按从动件的运动形式分类,分为移动从动件(图4-2)和摆动从动件(图4-5)。前述三种形式的从动件均可用作移动和摆动从动件。各种形式的从动件和各种形式的凸轮可以组成不同形式的凸轮传动,如表4-1所示。
表4-1 凸轮机构的主要类型

凸轮传动中,应使从动件与凸轮轮廓始终保持接触。凸轮轮廓接触可利用力的锁合与形的锁合。力的锁合凸轮是依靠凸轮的重力、弹簧力(图4-3)来实现。形的锁合是依靠特殊的几何形状来实现,如图4-6、4-7b)中的凹槽沟。几何锁合凸轮机构可以避免弹簧附加的阻力,从而降低驱动力和提高效率,缺点是机构外廓尺寸大,设计也复杂。



