客户服务器编程模型
上一节
下一节
一、面向连接的(SOCK_STREAM)
1、特点
通信前建立连接,确定客户端与服务器端
点对点通信
传输层使用TCP协议
建立连接的过程为三次握手
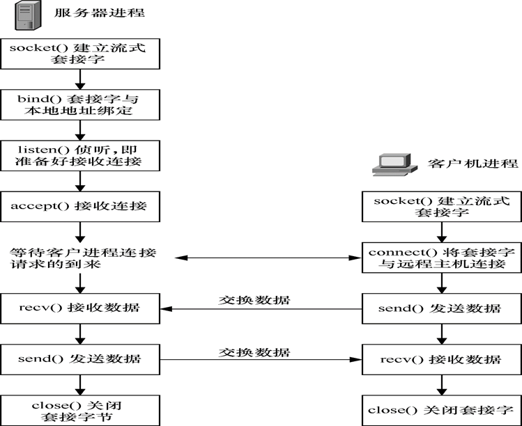
2、工作流程

1、五元组的建立

二、面向无连接的(SOCK_DGRAM)
1、特点:
通信前不建立连接
不预先指定服务器,数据发送方为客户端,接收方为服务器端
传输层使用UDP协议
2、工作流程

扩展知识:

