-
1 相关知识
-
2 实训5-1

电感式传感器是将被测量的变化转换成电感的变化,再将电感的变化转成电量输出的传感器。电感分为自感和互感两大类,所以电感式传感器也分为自感式和互感式(差动变压器式)两大类。


电感传感器
1.自感式传感器
(1)工作原理
自感式传感器一般由铁心、衔铁和线圈三部分构成,如图5-2所示。根据以前所学的电工学知识可知,线圈的自感量L为
(5-1)

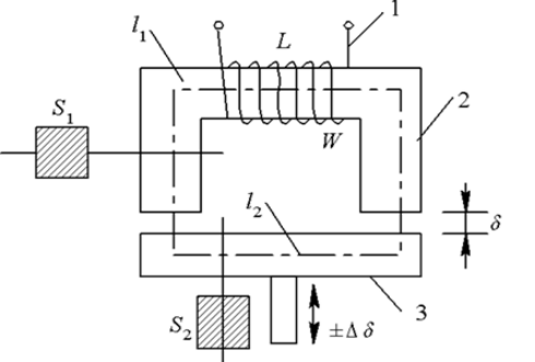
图5-2 闭合磁路式自感式传感器原理结构
1-线圈 ;2-铁芯; 3-衔铁
假设衔铁和铁心之间的气隙很小,在不考虑磁路的铁损且铁心磁阻远小于气隙磁阻的情况下,磁路的总磁阻为
(5-2)
式中:
![]()
![]()
A——气隙的有效截面积;δ——气隙厚度。
将式(5-2)代入式(5-1)得到线圈的自感量为
(5-3)
自感量L与N、A、δ这三个变量有关。我们可以把自感式传感器从原理上分成变气隙式和变面积式两大类,实际使用时还有一类是螺线管式。

(a)变气隙式 (b)变面积式 (c)螺线管式
(2)变气隙式电感传感器

当线圈的匝数N确定之后,并且A保持不变的情况下,自感量L是气隙厚度的函数,并且自感量L与气隙厚度的反比关系,所以这种传感器的输入输出为非线性关系。
实际的输出特性只有在很小的一段区域接近线性,故变气隙式电感传感器只能测量微小位移。
变气隙式电感传感器的δ越小,灵敏度越高。 图5-3 变气隙式电感传感器的输出特性
(3)变截面式电感传感器
变截面式电感传感器的电感量L与气隙有效截面积
A的正比关系,变截面式电感传感器的输入输出的
关系是线性的。但是由于漏感等原因,实际的输出
特性曲线的线性区较小,而且当A=0时,L并不为零,
还是存在较大的漏感。
图5- 4 变截面式电感传感器的输出特性
1-实际输出特性 2-理想输出特性
(4)螺线管式电感传感器
螺线管式是一种特殊的自感传感器。单线圈螺线管式电感传感器,其主要元件是一个螺线管和一根柱形衔铁。传感器工作时,衔铁在线圈中伸入长度的变化将引起螺线管电感的变化。
这种传感器结构简单,制作容易,但是灵敏度稍低,且衔铁在螺线管中间部分工作时,才有希望获得较好的线性关系。螺线管电感传感器适用于测量稍大一点的位移(毫米级)。
(5)差动电感传感器
当活动衔铁位于中间位置,

当活动衔铁偏离中间位置时,两个气隙一个增加,
一个减小,采用差动输出,导致自感的变化量为原
来的两倍,灵敏度比原来提高一倍。
图5-5 差动变气隙式电感传感器结构
1-差动线圈 2-铁芯 3-衔铁 4-测杆 5-工件

图5-6 差动变气隙式电感传感器的输出特性
1、2-单个变气隙式电感传感器的输出特性 3-差动变气隙式电感传感器的输出特性
采用差动形式还可以改善线性度,并且对外界影响,如温度的变化、电源频率的变化等也基本上可以互相抵消,从而减小了测量误差。
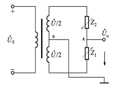
(6)测量转换电路——交流电桥

(a)电阻平衡臂电桥 (b)变压器电桥
图5-7 交流电桥
变压器电桥的输出电压为:
(5-4)
衔铁位于中间位置时,Z1=Z2=Z,电桥平衡,Uo=0。当衔铁下移时,Z1=Z-ΔZ,Z2=Z+ΔZ,则
(5-5)
当衔铁上移
(5-6)
衔铁向不同方向移动时,产生的输出电压Uo大小相等、方向相反。即相位互差180°,可以反映衔铁移动的方向。
(7)相敏检波电路
实际使用时,通常将交流电桥中先引入相敏检波电路,将交流输出电压转换成能判别相位的直流电压输出,再使用直流电压表检测输出电压,这样的直流输出电压的极性就可以反映衔铁的移动方向。

(a)非相敏检波 (b) 相敏检波
图5-8 输出特性曲线
1-理想特性曲线 2-实际特性曲线
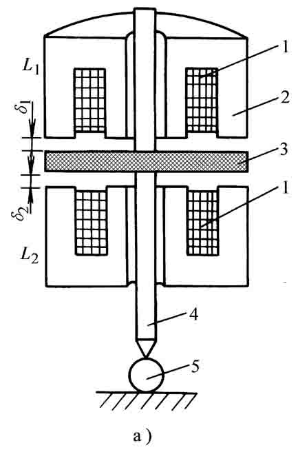
2.差动变压器


直流差动变压器式角位移传感器 TD系列线性差动变压器式位移传感器

当一次线圈加入激励电源后,其二次线圈会产生感应
电动势。当衔铁处于中间位置,两个线圈的互感相等
两个二次绕组反向串联,因而差动变压器输出电压为
零。当衔铁随被测量移动而偏离中间位置时,互感系
数不等,两个线圈的电感一个增加,一个减少,形成
差动式形式,因此M1、 M2不再相等,经测量电路转
换成一定的输出电压值。衔铁移动方向不同,输出电
压的相位也不同。
图5-9 差动变压器式传感器结构
1-一次绕组 2-二次绕组 3-衔铁 4-顶杆


图5-10 差动变压器原理图 图5-11 差动变压器的输出特性
1-理想输出特性 ; 2-实际输出特性
采用相敏检波电路和差动整流电路辨别被测物体的移动方向。
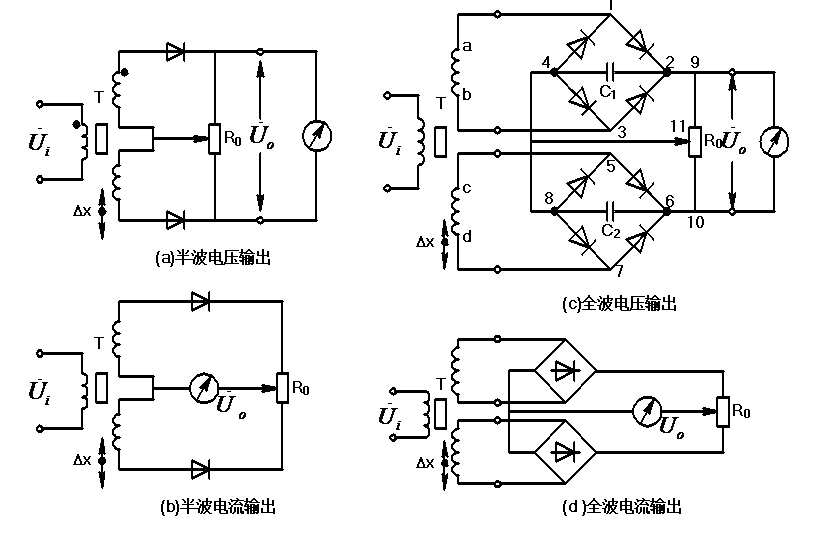
差分整流电路是将差动变压器的两个二级输出电压分别整流,然后将整流的电压或电流的差值作为输出。差分整流电路一般分成电压输出型和电流输出型,这两大类均可以分成半波输出和全波输出两类。
(5-7)

图 5-12 差分整流电路
当衔铁在中间位置时,
,所以
;当衔铁在向上移动时,因为![]()
则
;而当衔铁在向下移动时,
,则有
.
的正负表示衔铁位
移的方向。




