-
1 相关知识
-
2 实训4-1

1、电涡流传感器的工作原理
(1)涡流效应
将金属导体置于变化的磁场中时,导体表面就会有感应电流产生,该感应电流在导体内自行闭合,这种漩涡状的感应电流称为涡流,这种现象称为涡流效应。
在实际生产生活应用中,有时需要减小涡流,例如三相异步电动机采用导磁性能好的硅钢片叠压而成,以减小涡流,防止铁心发热。另外,一些场合又需要利用涡流效应,例如家用电磁炉就是利用涡流效应对食物进行加热的,还有就是工业上的各类中高频感应加热装置也是利用涡流效应熔化金属的。
(2)电涡流传感器的工作原理
当电涡流线圈通入高频正弦交变电流I时,在线圈周围空间将产生一个高频的正弦交变磁场H
。被测金属导体置于交变磁场H
中,产生感应电涡流I
。根据楞次定律,H
必定反作用H
,削弱线圈的磁场H
。由于磁场H
的作用,涡流要消耗一部分能量,导致传感器线圈的等效阻抗发生变化。如图4-2所示。线圈阻抗的变化完全取决于被测金属导体的涡流效应。

1—涡流线圈;2—被测金属导体
图4-2 电涡流传感器原理图
实验证明:电涡流传感器的阻抗与金属导体的电阻率σ、磁导率μ、金属导体的形状、表面因素r、线圈与被测金属导体的距离x、输入正弦交流电流的频率f以及用于励磁的正弦交流电流ⅰ有关,即
![]()
如果保持i1、μ、σ、r、x不变,电涡流线圈的阻抗就是输入正弦交流电流频率的单值函数,即z=f(x),其实涡流i2在金属导体的纵深方向并不是均匀分布的,只集中在金属表面,被称为集肤效应。输入正弦交流电流频率越高,集肤效应在金属表面就越浅。所以f越低,检测深度越深。利用集肤效应,可以将电涡流制成金属探测器、扫雷器等。
若保持i1、 f、μ、σ、r不变,电涡流线圈的阻抗只和金属导体和电涡流线圈之间的位移成正比,可以进行非接触式位移测量。除了以上两种检测,还可以保持i1、f、x不变,检测与σ、r相关的表面温度、表面裂痕、表面金属镀层厚度等参数,检测与μ有关的材料型号、表面温度等参数。所以电涡流传感器可以检测很多物理量,唯一要注意的就是电涡流传感器的检测对象必须是金属物体。
2.电涡流传感器的结构和特性
(1)电涡流传感器的结构
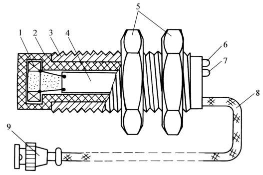
电涡流传感器的传感元件是一只线圈,俗称电涡流探头。线圈结构如图4-3所示,用多股较细的绞扭漆包线(能提高Q值)绕制而成,一般为扁平线圈,置于探头的端部,外部多用四氟乙烯等高品质因数塑料密封。现在新型的电涡流传感器已经将测量转换电路做到电涡流探头中,直接输出信号。

图4-3 电涡流传感器探头结构
1—电涡流线圈 2—探头壳体 3—壳体上的位置调节螺纹 4—印制线路板 5—夹持螺母 6—电源指示灯 7—阈值指示灯 8—输出屏蔽电缆线 9—电缆插头
(2)电涡流传感器的参数
一般厂家生产的电涡流传感器的常见技术参数主要是线性量程、线性范围、灵敏度等,表4-1为广州精信仪表电器有限公司生产的JX20系列电涡流位移传感器的部分技术参数。
表4-1 JX20系列电涡流位移传感器的部分技术参数

从表中可以看出,电涡流探头的直径越大,检测的线性范围就越大,但是灵敏度却是越低。
3.电涡流式传感器的测量转换电路
(1)调幅式电路
石英振荡器产生稳频、稳幅高频振荡电压用于激励电涡流线圈,被测金属材料在高频磁场中产生电涡流,引起电涡流线圈端电压的衰减,再经高放、检波、低放电路,最终输出的直流电压U。反映了被测金属物体对电涡流线圈的影响,如图4-4所示。调幅式的缺点是电压放大器的放大倍数的漂移会影响测量精度,必须采取各种温度补偿措施。

图 4-4 调幅式电路结构
(2)调频式电路
如图4-5所示,将电涡流线圈接入LC振荡器,作为组成LC振荡器的电感元件。当电涡流线圈与被测导体距离x改变时,在涡流效应的影响下,传感器的电感变化,导致振荡频率的变化,该变化的频率是距离x的函数,此频率可直接送入频率计。如果要用模拟仪表进行显示或记录,则必须使用鉴频器,将∆f转换为电压∆U。

图4-5 调频式电路结构
4、电涡流传感器的应用
电涡流传感器广泛应用于电力、石油、化工、冶金等行业,对汽轮机、水轮机、发电机、鼓风机、压缩机、齿轮箱等大型旋转机械的轴的径向振动、轴向位移、轴转速、胀差、偏心、油膜厚度等进行在线测量和安全保护,以及转子动力学研究和零件尺寸检验等方面。图4-6列举了电涡流传感器的一些典型应用。

(a)轴心轨迹测量 (b)轴位移测量

(c)非导电材料厚度测量 (d)金属元件合格测量
图4-6 电涡流传感器的典型应用




