-
1 相关知识
-
2 K型热电偶分度表
-
3 实训3-1
-
4 实训3-1附录

1、热电效应
将两种不同的导体或半导体组成一个闭合回路,如图3-3所示。当两结点处的温度不同,回路中将产生一个电动势,这种现象称为热电效应。由两种导体组成的回路称为热电偶,组成该回路的两种导体称为热电极,热电极的两端结点处温度不同,一端温度为T,称为测量端(也称工作端)或热端,另一端温度为T0 ,称为自由端(也称参考端)或冷端。热电偶回路中产生的电动势则称为热电动势。该电动势的方向和大小与导体的材料及两接点的温度有关。

图3-3 热电偶回路(nA>nB)
热电偶产生的热电动势由接触电动势和温差电动势两种电动势组成。
如果导体A的电子密度大于导体B的电子密度(即nA>nB),则在同一瞬间由导体A扩散到B的电子将比由B扩散到A的电子多,因而A失去电子带正电,B获得电子带负电,在接触处便产生电场。A、B之间便产生了一定的接触电动势。
对于任何一种金属,当其两端温度不同时,两端的自由电子浓度也不同,温度高的一端自由电子浓度大,温度低的一端浓度小。高温端的自由电子要向低温端扩散,高温端因失去电子而带正电,低温端得到电子而带负电,形成温差电动势,又称汤姆森电动势。
实践证明,在热电偶回路中起主要作用的是接触电动势,温差电动势只占极小部分,可以忽略不计,所以热电偶回路的热电动势可以写成
(3-2)
上式中,由于导体A的电子密度大于导体B的电子密度,所以A为正极,B为负极。脚注AB的顺序表示电动势的方向。
由式(3-2)可以看出热电偶回路中热电动势的大小,只与组成热电偶的导体材料和两接点的温度有关,而与热电偶的直径、形状和几何尺寸无关。当热电偶两电极材料固定后,热电动势便是两接点温度T和T0的函数差。即
(3-3)
如果使冷端温度T0保持不变,则热电动势便成为测量端温度T的单一函数。即
(3-4)
由式(3-4)可以看出当自由端T0恒定,热电偶产生的热电动势只随测量端温度的变化而变化。我们只要用测量热电动势的方法就可达到测得实际的温度,完成测温的任务。
2.热电偶的基本定律
(1)均质导体定律
如果热电偶回路中的两个热电极材料相同,无论两接点的温度如何,总的输出的热电动势为零。根据这个定律,可以检验两个热电极材料成分是否相同(称为同名极检验法),也可以检查热电极材料的均匀性。
(2)中间导体定律
中间导体定律是在热电偶回路中接入第三种导体,只要第三种导体的两接点温度相同,则回路中总的热电动势不变,如图3-4所示。热电偶的这种性质在实际测温时有着重要的意义,它使我们可以方便地在回路中直接接入各种类型的显示仪表或调节器,即将各种显示仪表或调解器看做是中间导体,只要保证它们的两端温度相同,就不会影响热电偶的热电动势。

图3-4 中间导体定律
(3)中间温度定律
热电偶在两接点温度T、T0时的热电动势等于该热电偶在接点温度为T、Tn和Tn、T0时的相应热电动势的代数和。
如图3-5所示,热电偶的两个结点温度为T1,T2时,热电势为EAB(T1,T2);两结点温度为T2,T3时,热电势为EAB(T2,T3),那么当两结点温度为T1,T3时的热电势则为
(3-5)
式(3-5)就是中间温度定律的表达式。如:T1=100℃,T2=20℃,T3=0℃,则
EAB(100,0)=EAB(100,20)+EAB(20,0)

图3-5 热电偶中间温度定律示意图
中间温度定律为热电偶引入补偿导线提供了理论依据。它表明如果在热电偶回路中分别接入与热电极A、B具有相同的热电特性的导体C、D,且它们之间连接的两点温度相同,则总回路的热电动势与连接点温度无关,只与延长以后的热电偶两端的温度有关。
3.热电偶材料和标准热电偶
为了保证在工业现场应用可靠,并具有足够的精度,热电偶的热电极材料在被测温度范围内应满足:在规定的测温范围内有较高的精确度,热电势随温度的变化率要大,热电势与温度尽可能成线性对应关系,而且物理化学性能稳定,具有足够的机械强度、复制性和互换性好等要求,满足这些条件的热电偶材料并不很多。我国把性能符合专业标准或国家标准并具有统一分度表的热电偶材料称为定型热电偶材料。
我国从1991年开始采用国际计量委员会规定的“1990年国际温标”(简称ITS-90)的新标准,按此标准指定S、B、E、K、R、J、T、N八种标准化热电偶为我国统一设计型热电偶。每种热电偶均制定了相应的分度表,并且有相应的线性化集成电路与之对应。可以直接从热电偶的分度表查温度与热电动势的关系但是注意分度表上显示均是自由端(冷端)温度为0C时的热电动势,本教材附录了工业中常用的K型热电偶的分度表。
表3-1 标准热电偶的特性表

注:①铂铑30表示该合金含70%的铂和30%的铑,以下类推。
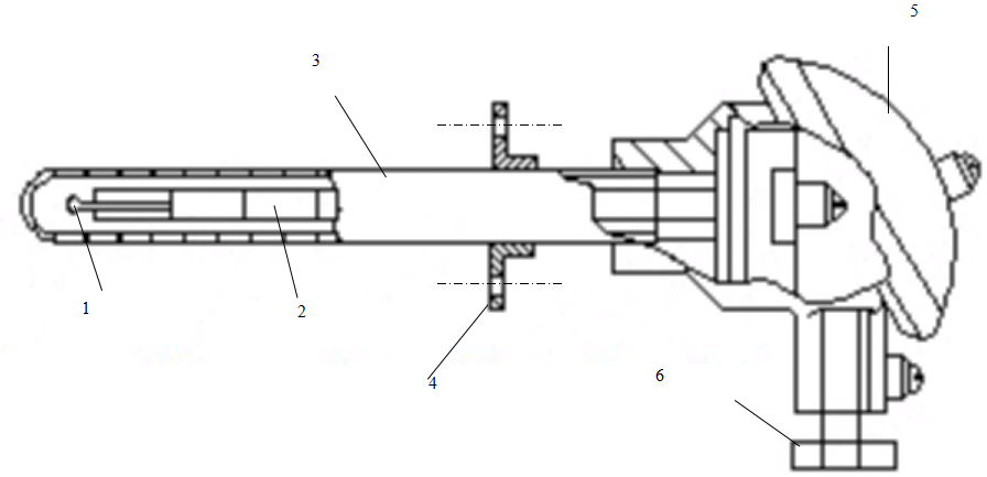
4.热电偶的结构
(1)装配型热电偶
装配型热电偶主要由热电极、绝缘管、保护套管和接线盒等主要部分组成。其结构如图3-6所示。其常用于测量气体、蒸汽和液体等介质的温度。
贵重金属热电极的直径一般为0.3~0.65mm,普通金属热电极的直径一般为0.5~3.2mm;热电极的长度由安装条件和插入深入而定,一般为350~2000mm。
绝缘管用于防止两根电极短路,保护套管用于保护热电极不受化学腐蚀和机械损伤。

1-热电偶工作端 2-绝缘管 3-保护套管 4-安装法兰 5-接线盒 6-引线口
图3-6 装配型热电偶结构
(2)铠装型热电偶
铠装型热电偶是由热电极、绝缘材料和金属套管三者经过拉伸加工成型的。其结构如图3-7所示。金属套管一般为铜、不锈钢、镍基高温合金等。保护套管和热电极之间填充绝缘材料粉末,常用的绝缘材料有氧化镁、氧化铝等。铠装热电偶具有动态响应快、可靠性好、机械强度高、抗震性好、可弯曲等优点,可安装在结构较复杂的装置上(比如狭小的弯曲管道),应用十分广泛。

1-热电极 2-绝缘材料 3-金属套管
图3-7 铠装型热电偶结构
5.热电偶冷端的延长
在实际测温时,热电偶的长度有限,而测温点到仪表的距离有时很远,并且自由端的温度易受环境温度的影响,容易造成测量误差。由于热电偶的材料一般都比较贵重(特别是采用贵金属时),如果制作的很长,成本很高,所以为了降低成本,工业上通常利用补偿导线来延伸自由端,将补偿导线的一端接热电偶,另一端接到仪表端子上,就可以把热电偶的自由端从温度较高和不稳定的现场延伸到温度较低而且比较稳定的地方。热电偶补偿导线如图3-8所示。补偿导线在0~100C范围内的热电动势与配套的热电偶的热电动势相等,所以不影响测量精度。

图3-8 补偿导线外形
补偿导线使用时需注意的是在规定的温度内使用补偿导线,两根补偿导线与热电偶的两个热电极的接点温度必须相同,且极性不能接反;各种补偿导线只能与对应型号的热电偶配用。表3-2所示为常用的补偿导线型号和参数
表3-2 常用的热电偶补偿导线的特性

注:①铜镍0.6表示该合金含99.4%的铜和0.6%的镍,以下类推。
6. 热电偶的冷端温度补偿
热电偶的分度表均是在冷端温度为0oC时作出的,如果直接利用分度表测温,必须把冷端温度保持为0℃。由于实际测量时冷端的温度往往高于0℃,而且也是不恒定的(即使有空调也是不恒定的),这时,测得热电偶产生的热电势必然会产生误差,所以在应用热电偶时,通常需要进行必要的修正和处理冷端的温度才能得出准确的测量结果,这种方式被称为冷端温度补偿。
目前,热电偶冷端温度主要有以下几种处理方法:
(1)冷端恒温法
将热电偶的冷端置于装有冰水混合物的恒温容器中,使冷端的温度保持在0C不变。为了避免冰水导电引起两个连接点短路,必须把连接点分别置于两个玻璃试管里,浸入同一冰点槽,使相互绝缘。此法也称冰浴法,它消除了t0不等于0C而引入的误差,此种方法一般只适用于实验室中。
(2)计算修正法
当热电偶的冷端温度t0 0C时,由于热端与冷端的温差随冷端的变化而变化,所以测得的热电势EAB(t,t0)与冷端为0C时所测得的热电势EAB(t,0C)不等,所以必须对温度进行修正。修正公式如下:
E(t,0°C)=E
(t,t0)+ E
(t0,0°C) (3-6)
例3-1 用镍铬-镍硅(K型)热电偶测炉温,测出的热电动势为36.123mV。再用温度计测出环境温度为30℃(且恒定),求炉温为多少?
解:由镍铬-镍硅热电偶分度表查出
E (30,0)= 1.203mV
所以:E (t,0)= E
(t,30)+
E (30, 0)=36.123mV+1.203mV=37.326mV
查分度表知其对应的实际温度为t=900℃。即炉温是900℃。
(3)仪表机械零点调整法
当热电偶通过补偿导线连接显示仪表时,如果热电偶冷端温度不是0℃,但十分稳定(如恒温车间或有空调的场所),可预先将有零位调整器的显示仪表的指针从刻度的初始值调至已知的冷端温度值上,这时显示仪表的示值即为被测量的实际温度值。这种方法有一定的误差,但是方便实施,在工业上常采用。
(4)电桥补偿法
电桥补偿法是是仪表中最常用的一种处理方法,它利用不平衡电桥产生的不平衡电压来自动补偿热电偶因冷端温度变化而引起的热电势变化值,可购买与被补偿热电偶对应型号的补偿电桥。





















