-
1 相关知识
-
2 实训2-1
-
3 实训2-2
-
4 实训2-3

电阻应变式传感器(Resistance strain-gage transducer)的基本原理是将被测量的变化转换成电阻值的变化,再经过转换电路变成电信号输出。电阻式传感器具有结构简单、使用方便、性能稳定、灵敏度高和测量速度快等优点,被广泛应用于航空、机械、电力、化工、建筑、医学等领域,常用来测量力、压力、位移、应变、扭矩、加速度等,是目前使用最广泛的传感器之一。
1.应变效应
导体或半导体材料在受到外界力的作用时,会产生机械变形,从而导致其电阻值发生变化,这种现象称为应变效应。

图2-2 电阻应变效应示意图
当金属电阻丝受到外力作用时, 电阻丝长度、横截面积、电阻率均发生改变,故引起电阻值的变化。实验证明,在金属电阻丝的拉伸极限内,电阻的相对变化与应变成正比。
(2-2)
式中:K—金属电阻丝的灵敏度; ε—金属电阻丝的轴向应变。
金属电阻丝的灵敏度受两个因素影响,一个是受力后材料几何尺寸的变化,另一个是受力后材料的电阻率发生的变化。
金属材料(导体)的灵敏度主要是以材料几何尺寸的变化为主,灵敏度较小,一般都在1~2之间。半导体材料则相反以电阻率变化为主,所以灵敏度比金属材料大几十倍。
2.电阻应变片的测量原理
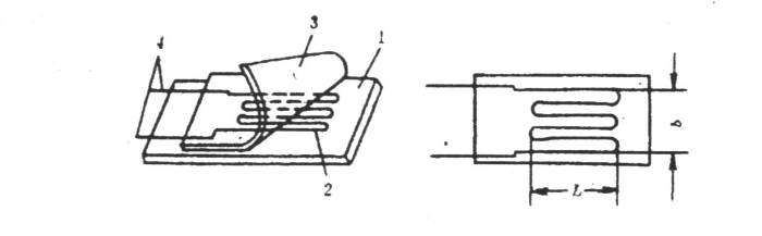
将直径为0.01~0.05mm、高电阻率的金属电阻丝排列成栅网状,粘贴在绝缘基片上,上面覆盖一层薄膜(保护用),电阻丝两端焊有引出线。图中电阻丝应变片的有效工作部分,称为线栅,L为线栅的长度,b为线栅的宽度。

图2-3 电阻丝应变片的结构示意图
1—基片 2—直径为0.025mm左右高电阻率的合金电阻丝 3—覆盖层 4—引线,用以和外接导线连接
用应变片测量试件的应变或应力时,首先将电阻应变片贴在试件表面,在外力作用下,试件产生微小机械变形,应变片随之发生变形,导致应变片电阻发生变化。

(2-3)
F—试件的受力;
ε—试件的应变;
E —试件材料的弹性模量;
A—试件的横截面积。
3.电阻应变片的种类结构
常用的应变片可分为金属电阻应变片和半导体电阻应变片两大类。金属电阻应变片根据敏感栅的不同可以分为丝式、箔式和薄膜式三种。

箔式电阻应变片
金属丝式应变片最早使用的电阻应变片,有纸基和胶基之分。金属丝式应变片由于蠕变较大、金属丝易脱胶,已经逐渐被横向效应小、其他方面性能更优越的箔式应变片所代替。
金属箔式应变片的线栅采用电阻率较高,热稳定性好的铜镍合金(康铜)通过光刻、腐蚀等工艺制成很薄的金属薄栅(厚度一般在0.001~0.005mm)。金属箔式应变片的线栅的尺寸正确、 线条均匀,一致性好,并且可根据需要制成任意形状,再加上线栅截面积为矩形, 表面积大, 散热好, 便于批量生产, 生产效率高,所以被广泛使用。
金属薄膜式应变片是采用真空蒸镀技术, 在薄的绝缘基片上蒸镀金属电阻薄膜, 再加上保护层制成的。 其优点是灵敏度高, 允许通过的电流密度大, 工作温度范围广的特点。
半导体电阻应变片则是用锗或硅等半导体材料作为敏感栅,灵敏度较大,机械滞后小、频率响应快,电阻值变化范围较宽,容易小型化;但是热稳定性差,测量误差较大。

半导体应变片
4.应变片的测量转换电路
由于电阻应变片的电阻值变化一般都很小(5×10-4~10-1Ω),要把微小电阻值的变化精确的用欧姆表测量出来非常困难。实际使用时,我们通常采用不平衡电桥的测量微小的电阻值变化。

当RL→∞(开路)时,电桥的输出电压U0应为:

电桥平衡条件:
R1˙R4= R2˙R3
图2-5 直流电桥测量电路(a)
为了获得最大的电桥输出,常采用全等臂电桥(R1=R2=R3=R4=初始值)。当产生应变时,若应变片电阻值变化分别为△R1、△R2、△R3和△R4,当每个桥臂的电阻变化量△Ri《Ri时,且各桥臂应变片的灵敏度相同时,电桥输出电压可以用下式表示:
(2-5)

在实际使用时,四个桥臂的应变片R1、R2、R3
和R4不可能严格相等,所以在未受力时,电桥的
输出电压不一定为零,所以在直流电桥中设有调
零电路,如图2-5(b)所示。调节Rp可使电桥平
衡,输出电压为零,图中的R5为限流电阻。
图2-5 直流电桥测量电路(b)
单臂电桥
单臂电桥就是将电桥中的一个桥臂为应变片,其余三个桥臂为固定电阻。如图2-6(a)所示, R1为应变片,R2、R3和R4为固定电阻,当应变片受力后产生的电阻变化量为ΔR1时,电桥的输出电压为
(2-6) 
图2-6 (a)单臂电桥
双臂电桥(半桥)
将两个应变相反的应变片(即一个应变片被拉伸,一个应变片被压缩,应变符号相反)接入电桥的相邻臂中,其余两个桥臂为固定电阻,就构成了双臂电桥(半桥)。若两个应变片ΔR1=-ΔR2, R1=R2,电桥输出电压U0为:
(2-7)

图2-6 (b)双臂电桥
全桥
将四个桥臂均为应变片,并且其中的两个应变片被拉伸,另两个应变片被压缩,两个应变符号相反应变片的接入相领臂,就构成全桥电路,如图2-6(c)所示。若满足△R1=-△R2=△R3=-△R4,R1=R2=R3=R4的条件,则输出电压为:
(2-8) 
图2-6 (c) 全桥
对比三种工作方式的输出电压,可以看出全桥工作方式的输出灵敏度最高,是双臂电桥(半桥)的两倍,单臂电桥的四倍。
在应变片实际使用时,温度的变化也会引起应变片电阻值的变化,造成一定的测量误差。为了消除温度变化引起的测量误差,电阻应变片的测量转换电路需要进行温度补偿。采用双臂电桥(半桥)或者全桥工作方式时,温度引起应变片的电阻值变化ΔRt相同,代入(2-7)或者(2-8)后,ΔRt可以相互抵消,实现温度自补偿。


