第三节 推板的原理
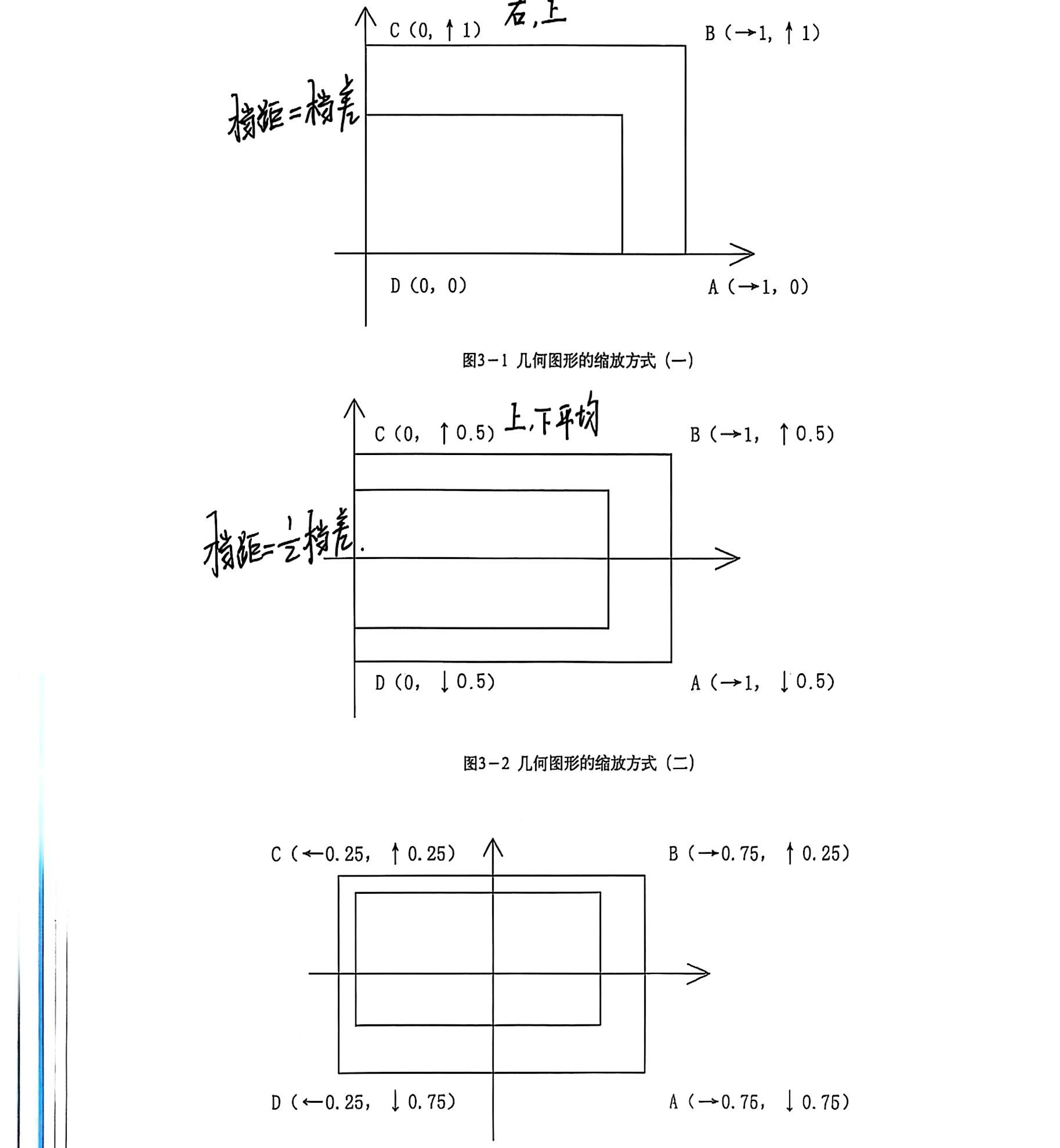
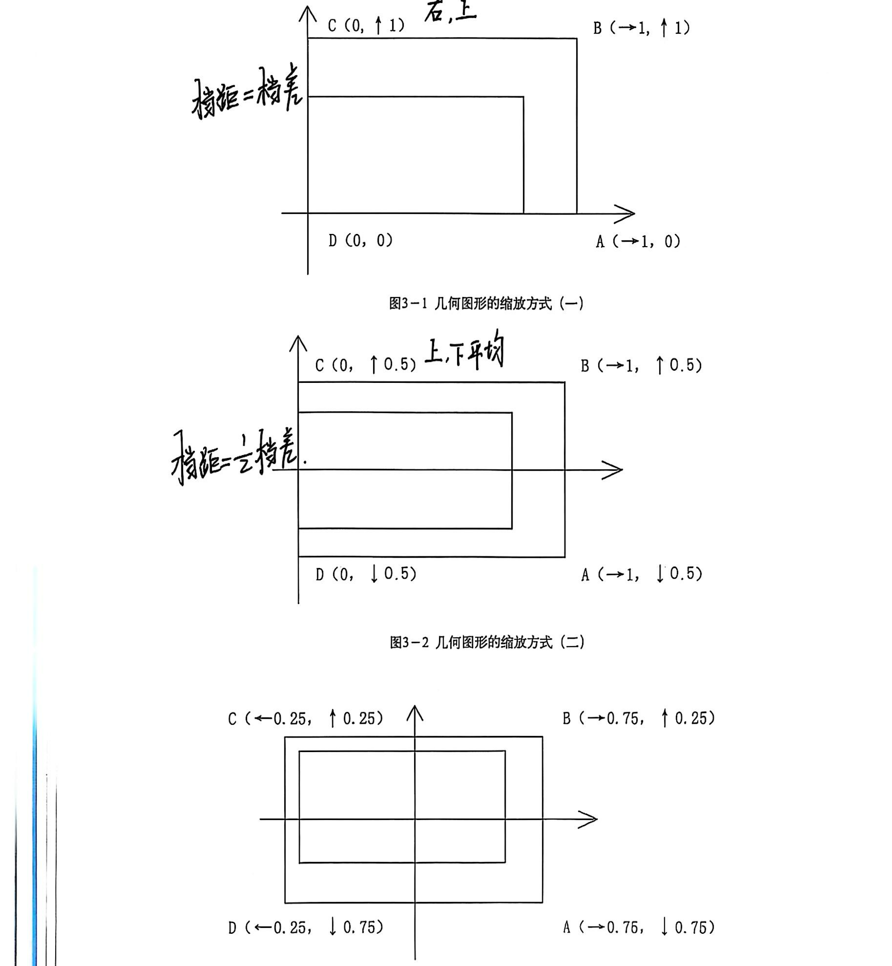
一、几何图形的缩放
服装推板的原理与几何中图形相似变化的原理一致,服装的推板就是以衣片各部位规格档差通过相关
的分配比例对衣片进行系列样板缩小或放大的全部过程。
推板一般是以二维坐标体系中的交点为基准点,在X轴上确定衣片围度或宽度的横向变
化的增减量,在Y轴上确定衣片长度或深度的纵向变化的增减量,因此,衣片各个控制点即
需要放码的放码点在X轴和Y轴方向上的数值变化共同决定该放码点的移动方向和移动量。
衣片轮廓复杂需要设置多个放码点,反之则越少。下面以简单的矩形轮廓变化为例进行
服装推板原理的引入分析,见图3一1~图3一4。


通过分析上面几个图形的缩放方式可知,虽然坐标原点选择不同时,图形上每个放
码点需要推移变化的量不同,但最终获得的图形结果却是一致的。只是有的方法较为简
单(图3一1),有的较为复杂。因此,服装生产中的推板,应尽可能简单推放,降低复
杂推移方式所带来的失误。
二、服装推板原理分析与计算楷差不一这条子档距
服装推板中各控制部位的放缩量是按照该部位的计算公式求出来的。本书中所使用
的推板计算方法与比例制图中所使用的计算方法基本相同,但推板过程中的公式计算与
结构制图中的公式计算还是有区别的。
其一,服装结构制图过程中比例计算的基数是服装成品尺寸,而服装推板过程中比
例计算的基数却是服装各尺码之间的规格档差;
其二,服装推板过程中比例计算公式是删除了调节值内容的,主要是因为在衣片的
结构设计过程中,已对衣片作了相应的调节;
其三,服装推板过程中某些控制点或控制部位可以采用该部位所占整体比例进行推
算。
①上装推板计算
(1)衣长:当袖窿深线为X坐标时,衣长的推放量分配在衣长两端水平线处。
(2)腰节长:腰节长档差一衣长上平线处的放缩量。
(3)袖窿深:一般为2/10胸围档差。
(4)横开领:一般为2/10领围档差。
(5)前直开领:一般为2/10领围档差。
(6)后直开领:一般保持原有数值。
(7)肩宽:一般为1/2肩宽档差。
(8)落肩量:常保持原有的肩线斜度。
(9)前胸宽:一般为1.8/10胸围档差或1.5/10胸围档差。
(10)后背宽:一般为1.8/10胸围档差或1.5/10胸围档差。
(11)袖窿宽:一般为1/10胸围档差。
(12)胸围大:一般四开身结构按照1/4胸围档差计算,三开身结构按照胸宽加袖窿宽
的档差计算。
(13)袖长;一般为袖长档差一袖山高放缩量。
(14)袖山高:一般为1.5/10胸围档差。
(15)袖肥:一般为2/10胸围档差。
下装推板计算
(1)裤长:以X轴为基准分配在上下水平线处。
(2)立裆:一般为1/4臀围档差。
(3)腰围;一般为1/4腰档差。
(4)臀围:一般为1/4臀围档差。
(5)中裆:一般为(裤长规格档差一上裆档差)×1/2。
(6)脚口:一般为1/2脚口围档差。

