双臂电桥
上一节
下一节
授课视频
双臂电桥的工作原理:
当测量很小数值的电阻时,直流单臂电桥也不能满足测量需要的准确度,此时就需要用直流双臂电桥测量。
直流双臂电桥的主要特点:
◣能消除或减小测量过程中的接线电阻和接触电阻对测量结果的影响。
◣因为在测量小电阻值时,就不能忽视接线电阻和接触电阻对测量结果的影响。
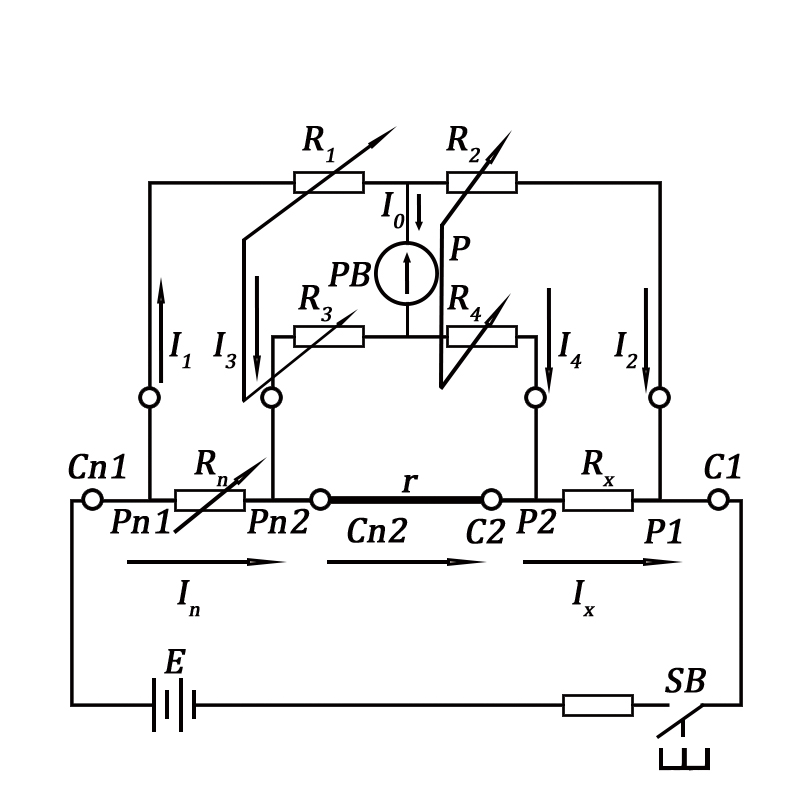
直流双臂电桥又叫凯尔文电桥,原理如下图所示:
图中Rx是被测量电阻,Rn是比较用可调电阻。
该电桥与单臂电桥不同的地方是,被测电阻Rx和标准电阻R4共同组成电桥的一个臂,标准电阻Rn和R3组成了与其对应的另一个桥臂,另外两个桥臂为R1和R2,四个桥臂类似于单臂电桥的四个桥臂;
同时将Rx和Rn之间用一根电阻为r的粗导线连接起来。为了消除接线电阻和接触电阻的影响,Rx和Rn都各有两对接线柱,C1、C2、和Cn1、Cn2分别是它们的电流接线柱,P1、P2和Pn1、Pn2分别是它们的电压接线柱(电位端钮)。
★特别需要注意的是,接线时必须使被测电阻Rx只包含在电位端钮P1和P2之间,即由电位端钮把被测电阻Rx接入桥臂,而电流端钮(电流接线柱)则在电位端钮的外侧。
★如果接反,就不能消除接线电阻和接触电阻的影响,这是使用直流双臂电桥的关键。
直流双臂电桥适用于测量1Ω以下低阻值电阻,如大中型电机和变压器绕组的电阻、分流器及导线的电阻以及开关的接触电阻等,其特点是可以避免测量时连线接触电阻造成的误差。
直流双臂电桥面板布置图



