站台安全门预备知识学习
上一节
下一节
第一节课
长沙地铁车站屏蔽门
本节课知识要点

一、站台安全门概况
安全门定义:

二、安全门系统的分类







三、站台安全门的功能

1.保证站台设施和人员的安全,包括乘客安全,运营公司的运营安全
2.降低运营成本,包括夏季空调的运行成本与人力成本
3.保持良好的站台环境,从美观上,降噪等方面改善作业
四、站台安全门的机械结构认知

1.门体结构





门本体结构
端门Manual Secondary Door(MSD)

滑动门Automatic Sliding Door自动滑动门(ASD)

固定门Fixed Panel(FIX)
应急门Emergency Escape Door(EED)

司机门(DSD)
布置在站台的加长处
门本体结构示意图


第二节课
2.门机驱动系统系统

滑动门(ASD)就是利用这些不同类型的门机驱动系统实现了自动开关门功能
开关门过程:当滑动门收到开关门指令时,电机动作,带动传动装置以门悬挂设备为基础带动门体开关
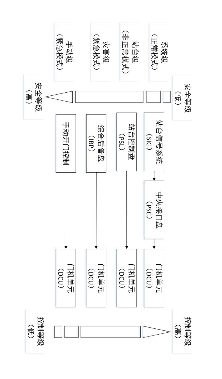
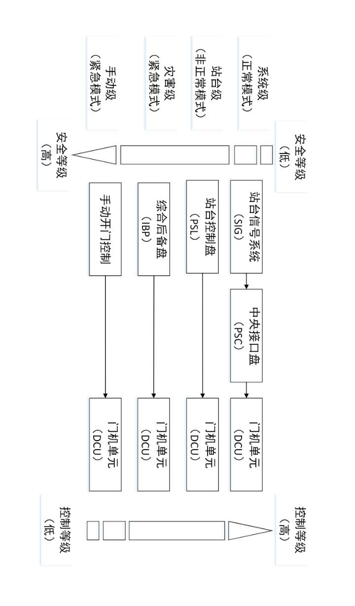
五、站台安全门电气控制系统
知识要点:

中央接口盘(PSC)
就地控制盘(PSL)
综合后备盘(IBP)
就地控制盒(LCB)
门控单元(DCU)
作业:
找到以上几个控制系统的英文全称
站台安全门控制系统设备的分布情况及各控制单元之间的关系图

各系统安全等级与控制优先级

1.站台安全门系统级控制
站台安全门系统级控制开关门过程

2.站台安全门站台级控制
(1)PSL控制





(2)IBP盘的控制模式


3.站台安全门手动级控制



总结



